LEMON Manuals: Even more car manuals for everyone: 1960-2025
Home >> Kia >> 2007 >> Sedona V6-3.8L >> Repair and Diagnosis >> Diagrams >> Connector Views >> Engine Control Module
April 5, 2026: LEMON Manuals is launched! Read the announcement.

Engine Control Module




POWERTRAIN CONTROL MODULE (PCM)

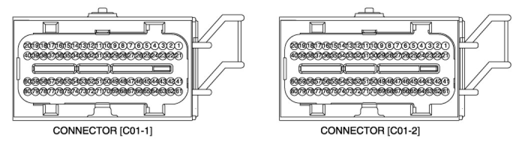
1. PCM HARNESS CONNECTOR




2. PCM TERMINAL FUNCTION
CONNECTOR [C01-1]









CONNECTOR [C01-2]









3. PCM TERMINAL INPUT/OUTPUT SIGNAL
CONNECTOR [C01-1]













CONNECTOR [C01-2]