LEMON Manuals: Even more car manuals for everyone: 1960-2025
Home >> Kia >> 2008 >> Magentis 2.7 4 >> Repair and Diagnosis >> Body & Frame >> Windows >> Power Windows >> Power Window Relay >> Inspection
April 5, 2026: LEMON Manuals is launched! Read the announcement.

Power Window Relay: Inspection

  1. Disconnect the negative (-) battery terminal.
  2. Remove the junction box.
  3. Check for continuity between the terminals.
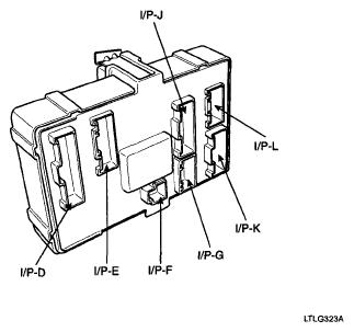
  4. There should be continuity between the No. 1 in the I/P-G connector and No. 12 terminal in the I/P-A connector when power and ground are connected to the No. 1 terminal in the I/P-G connector and No. 2 terminal in the I/P-A connector.
  5. There should be no continuity between the No. 1 terminal in the I/P-G connector and No. 12 terminal in the I/P-A connector when power is disconnected.
    Fig 1: Identifying Power Window Relay Box
    G04806459Courtesy of KIA MOTORS AMERICA, INC.
    Fig 2: Identifying Junction Box
    G04806503Courtesy of KIA MOTORS AMERICA, INC.
    Fig 3: Testing Power Window Relay Box
    G04806504Courtesy of KIA MOTORS AMERICA, INC.