LEMON Manuals: Even more car manuals for everyone: 1960-2025
Home >> Kia >> 2009 >> Rondo L4-2.4L >> Repair and Diagnosis >> Heating and Air Conditioning >> Control Assembly >> Service and Repair >> Manual Controller >> Repair Procedures
April 5, 2026: LEMON Manuals is launched! Read the announcement.

Repair Procedures








REPLACEMENT

1. Disconnect the negative (-) battery terminal.
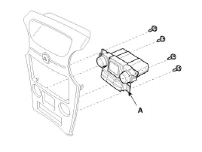
2. After loosening the mounting screw, then remove the center facia panel (A).




3. Remove the heater & A/C controller (A) after loosening 4 screws.




4. Installation is the reverse order of removal.