LEMON Manuals: Even more car manuals for everyone: 1960-2025
Home >> Kia >> 2011 >> Sedona EX >> Repair and Diagnosis >> Engine Performance >> Engine Control Systems >> Engine Control System >> Fuel Tank Pressure Sensor (FTPS) >> Repair Procedures >> Removal
April 5, 2026: LEMON Manuals is launched! Read the announcement.

Repair Procedures: Removal

  1. Turn the ignition switch OFF and disconnect the battery negative (-) cable.
  2. Remove the 2nd seat. Refer to REAR SEAT .
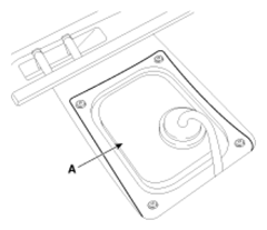
  3. Remove the fuel pump service cover (A).
    Fig 1: Fuel Pump Service Cover
    G07395682Courtesy of KIA MOTORS AMERICA, INC.
  4. Disconnect the fuel tank pressure sensor connector (A).
  5. Remove the fuel tank pressure sensor (B) after removing the nuts.
Fig 2: Fuel Tank Pressure Sensor & Connector
G07395683Courtesy of KIA MOTORS AMERICA, INC.