LEMON Manuals: Even more car manuals for everyone: 1960-2025
Home >> Kia >> 2013 >> Soul Base, Automatic Trans >> Repair and Diagnosis (Single Page) >> Heating, Ventilation & A/C (HVAC) >> HVAC Control Systems >> Heater & A/C Control Unit >> Heater Control Unit >> Components and Components Location >> Components >> Notes
April 5, 2026: LEMON Manuals is launched! Read the announcement.

Components and Components Location: Components: Notes

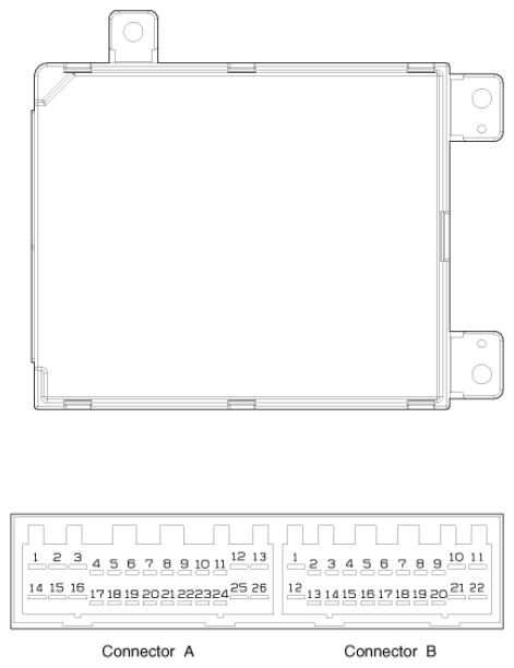
Fig 1: Identifying Heater Control Unit Connectors
G08329659Courtesy of KIA MOTORS AMERICA, INC.