LEMON Manuals: Even more car manuals for everyone: 1960-2025
Home >> Kia >> 2015 >> K900 V6 >> Repair and Diagnosis >> Engine Performance >> Engine Control Systems >> Engine Control System - 3.8L >> Engine Control Module (ECM) >> Repair Procedures >> Removal
April 5, 2026: LEMON Manuals is launched! Read the announcement.

Repair Procedures: Removal

  1. Turn ignition switch OFF and disconnect the battery negative (-) terminal.
  2. Remove the cover.
  3. Disconnect the ECM connector (A) and the TCM connector (B).
    Fig 1: Identifying ECM And TCM Connectors
    G10716980Courtesy of KIA MOTORS AMERICA, INC.
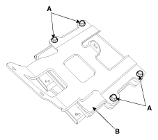
  4. Remove the ECM & TCM bracket mounting bolts (A) and nut (B).
    Fig 2: Identifying ECM And TCM Bracket Mounting Bolts
    G10716981Courtesy of KIA MOTORS AMERICA, INC.
  5. After removing the mounting bolts (A), remove the ECM (B) from the bracket.
    Fig 3: Identifying ECM Mounting Bolts
    G10716982Courtesy of KIA MOTORS AMERICA, INC.