LEMON Manuals: Even more car manuals for everyone: 1960-2025
Home >> Kia >> 2015 >> Soul Base, Automatic Trans >> Repair and Diagnosis >> External Pages >> Different car >> Section 57 (Smart Key System) >> Smart Key >> Repair Procedures >> Inspection >> Notes
April 5, 2026: LEMON Manuals is launched! Read the announcement.

Repair Procedures: Inspection: Notes

WARNING: This page is about a different car, the 2015 Kia Soul EV. However, it is still accessible from the selected car via links, so may be relevant.
  1. Check that the red light flickers when the door lock or unlock button is pressed on the transmitter.
  2. Remove the battery (A) and check voltage if the red light doesn't flicker.

    Standard voltage  : 3V

    Fig 1: Battery
    G10744796Courtesy of KIA MOTORS AMERICA, INC.
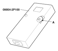
  3. Insert the battery (A) into the tester (09954-2P100).
    Fig 2: Battery Into Tester
    G10744797Courtesy of KIA MOTORS AMERICA, INC.
  4. Push the test button and if "0.00" is displayed on screen, it means that the battery voltage is 2V or less.
  5. If "L" is displayed on screen, it means that the battery power is low and needs to be replaced.
  6. To prevent the discharge of electricity, turn the tester power off.
  7. Replace the transmitter battery with a new one, if voltage is low power then try to lock and unlock the doors with the transmitter by pressing the lock or unlock button five or six times.
  8. If the doors lock and unlock, the transmitter is O.K, but if the doors don't lock and unlock, register the transmitter code, then try to lock and unlock the doors.
  9. If the doors lock and unlock, the transmitter is O.K, but if the doors don't lock and unlock, replace the transmitter.
    WARNING: An inappropriately disposed battery can be harmful to the environment and human health.
    Dispose the battery according to your local law(s) or regulation.