LEMON Manuals: Even more car manuals for everyone: 1960-2025
Home >> Kia >> 2016 >> Cadenza Base >> Repair and Diagnosis >> Engine Performance >> Engine Control Systems >> Engine Control/Fuel System - General Information >> Troubleshooting >> Basic Troubleshooting >> Electrical Circuit Inspection Procedure
April 5, 2026: LEMON Manuals is launched! Read the announcement.

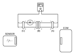
Electrical Circuit Inspection Procedure