LEMON Manuals: Even more car manuals for everyone: 1960-2025
Home >> Kia >> 2017 >> Niro EX >> Repair and Diagnosis >> Transmission >> Transmission Control Systems >> Dual Clutch Transmission Control System >> Description And Operation >> Operating Principle >> Control System Logic
April 5, 2026: LEMON Manuals is launched! Read the announcement.

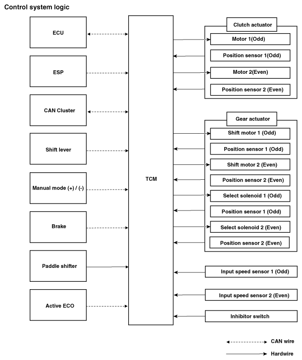
Control System Logic

Fig 1: TCM Communication Diagram
G12329120Courtesy of KIA MOTORS AMERICA, INC.