LEMON Manuals: Even more car manuals for everyone: 1960-2025
Home >> Kia >> 2017 >> Niro FE >> Repair and Diagnosis >> Engine Performance >> System >> Engine Control System Diagnosis (6 Of 6) >> DTC U0456-00: Invalid Data Received From Coolant Temperature Control Module >> Wiring Inspection >> Circuit Inspection >> Notes
April 5, 2026: LEMON Manuals is launched! Read the announcement.

Circuit Inspection: Notes

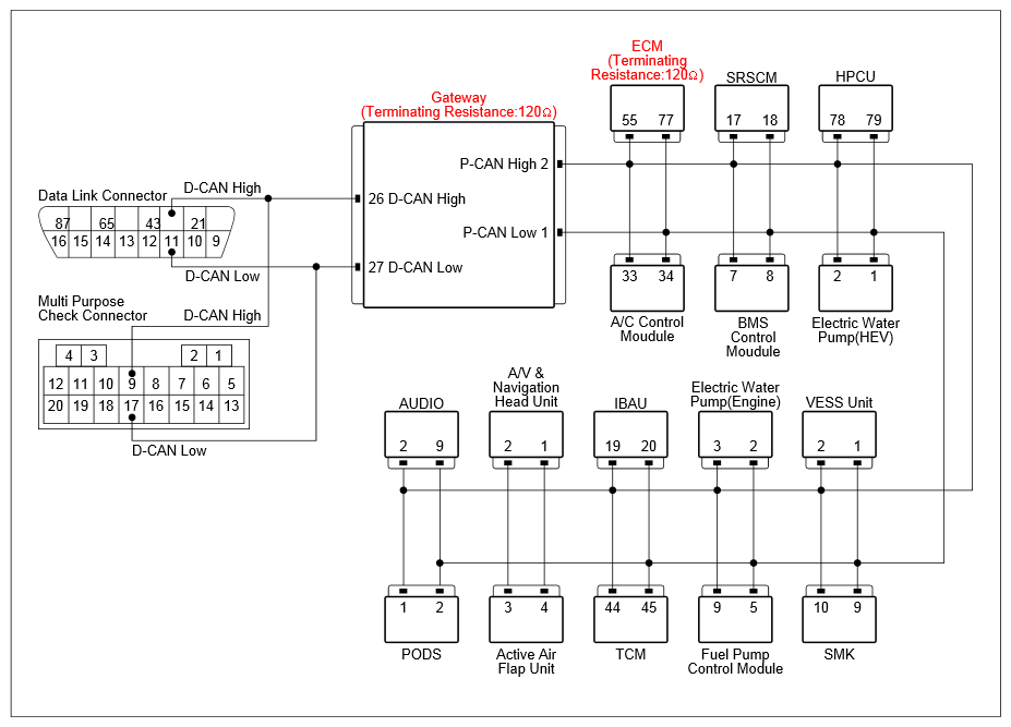
Fig 1: ECM System Circuit
G12330553Courtesy of KIA MOTORS AMERICA, INC.
Fig 2: ECM Connector Terminals
G12330554Courtesy of KIA MOTORS AMERICA, INC.
INSPECTION PART - ENGINE ELECTRIC WATER PUMP (ENG_EWP) INSPECTION

Inspection Part: Power And Ground Circuit Inspection
Inspection Condition (+) Probe (-) Probe Specification
Connector Terminal Connector Terminal
  1. Disconnect the Electrical Connector(s) from the concerned component.
  2. Ignition "ON".
Electric Water Pump Connector 4 (Power) Chassis Ground - B+
Electric Water Pump Connector 1 (ON/START) Chassis Ground - B+
Electric Water Pump Connector 5 (Ground) Chassis Ground - Approx. 0V
Good 
No Good