LEMON Manuals: Even more car manuals for everyone: 1960-2025
Home >> Kia >> 2017 >> Rio SX >> Repair and Diagnosis >> Transmission >> Transmission Control Systems >> Automatic Transaxle Control System >> Shift Lever >> Repair Procedures >> Removal >> Shift Lock Cable Replacement
April 5, 2026: LEMON Manuals is launched! Read the announcement.

Shift Lock Cable Replacement

  1. Remove the center console.

    (Refer to "INTERIOR (CONSOLE) " .

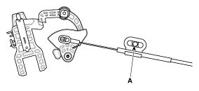
  2. Remove the shift lock cable (A).

    Tightening Torque: 

    9.8-14.7 N.m (1.0-1.5 kgf.m, 7.2-10.8 lb-ft)

    Fig 1: Locating Shift Lock Cable
    G11845579Courtesy of KIA MOTORS AMERICA, INC.
  3. Remove the shift lock cable (B) from the brake pedal (A).
    Fig 2: Removing Shift Lock Cable From Brake Pedal
    G11845580Courtesy of KIA MOTORS AMERICA, INC.
  4. Installation is the reverse of removal.
    NOTE: Shift lock cable must be free unreasonable bending.