LEMON Manuals: Even more car manuals for everyone: 1960-2025
Home >> Kia >> 2019 >> Sorento EX, FWD >> Repair and Diagnosis >> Engine Performance >> Engine Control Systems >> Engine Control System - 3.3L >> Canister Close Valve (CCV) >> Repair Procedures >> Removal
April 5, 2026: LEMON Manuals is launched! Read the announcement.

Repair Procedures: Removal

  1. Turn the ignition switch OFF and disconnect the battery negative (-) terminal.
  2. Lift the vehicle.
  3. Disconnect the canister close valve connector (A).
  4. Disconnect the ventilation tube quick-connector (B) from the fuel tank air filter and canister close valve.
    G12885684Courtesy of KIA MOTORS AMERICA, INC.
  5. Disconnect the vapor tube quick-connector (A).
  6. Remove the canister assembly bracket (D) after removing the mounting bolts (B) and nut (C).
    G12885685Courtesy of KIA MOTORS AMERICA, INC.
  7. Disconnect the CCV Connector (A).
    G12885686Courtesy of KIA MOTORS AMERICA, INC.
  8. Remove the fuel tank air filter & canister close valve assembly (A) after rotating it in the direction of the arrow in the figure.
    G12885687Courtesy of KIA MOTORS AMERICA, INC.
    G12885688Courtesy of KIA MOTORS AMERICA, INC.
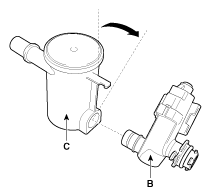
  9. Release the lever (A), and then separate the canister close valve (B) from the fuel tank air filter (C) after rotating it in the direction of the arrow in the figure.
G12885689Courtesy of KIA MOTORS AMERICA, INC.
G12885690Courtesy of KIA MOTORS AMERICA, INC.