LEMON Manuals: Even more car manuals for everyone: 1960-2025
Home >> Kia >> 2021 >> Forte GT, Automatic DCT Trans >> Repair and Diagnosis >> Transmission >> Transmission Control Systems >> Double Clutch Transmission Control System - 1.6L >> Description & Operation >> Description >> Control System Logic
April 5, 2026: LEMON Manuals is launched! Read the announcement.

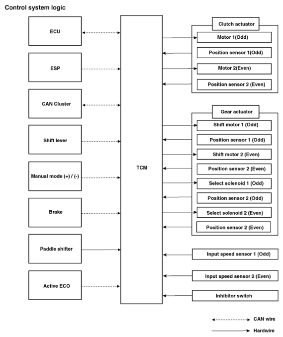
Control System Logic

G13304105Courtesy of KIA MOTORS AMERICA, INC.