Rheostat Light Control
NOTE:
Rheostat and rheostat light control are separate components. Rheostat is an electronic module that receives signals from rheostat light control (control wheel).
Remove instrument cluster. Replace rheostat light control if it does not test as follows.
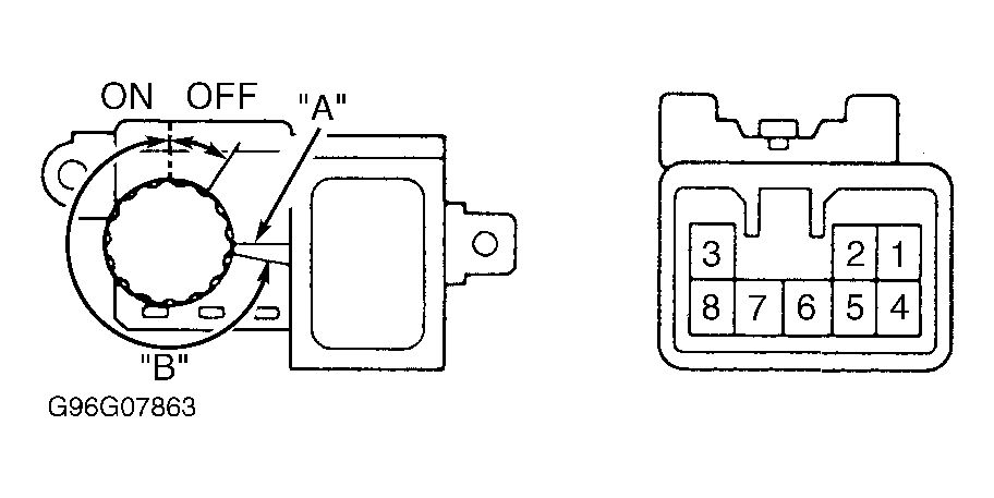
- Resistance between terminals No. 3 and 4 of rheostat light control connector should be about 10,000 ohms. See Fig 1.
- While rotating control wheel in "B" direction, resistance between terminals No. 1 and 3 should vary from about 10,000 ohms to zero ohms.
- With control wheel in "A" position, there should be no continuity between terminals No. 1 and 3.
- With control wheel in position that turns lights off, there should be no continuity between terminals No. 7 and 8.
- With control wheel in position that turns lights on, there should be continuity between terminals No. 7 and 8.