LEMON Manuals: Even more car manuals for everyone: 1960-2025
Home >> Lexus >> 2000 >> LX 470 >> Repair and Diagnosis >> Body & Frame >> Power Windows >> Component Tests >> Power Main Relay Continuity Test
April 5, 2026: LEMON Manuals is launched! Read the announcement.

Power Main Relay Continuity Test

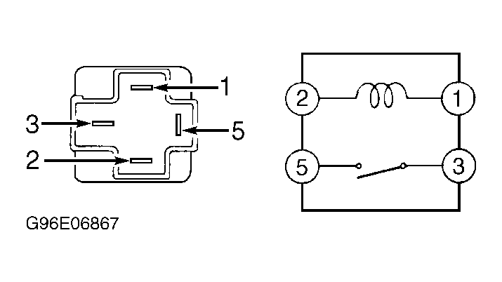
Remove power main relay located behind left kick panel. Using an ohmmeter, check continuity between power main relay specified terminals. See POWER MAIN RELAY CONTINUITY TEST  table. See Fig 1. If continuity does not exist at specified terminals, replace power main relay.

POWER MAIN RELAY CONTINUITY TEST

Condition (1) Terminals No.
At All Times 1 & 2
Apply Voltage To Terminals No. 1 & 2 3 & 5
(1) See Fig 1.
Fig 1: Identifying Power Main Relay Terminals
G96E06867Courtesy of © TOYOTA, LICENSE AGREEMENT TMS1002