LEMON Manuals: Even more car manuals for everyone: 1960-2025
Home >> Lexus >> 2004 >> GS 430 >> Repair and Diagnosis >> Body & Frame >> Windows >> Power Window Control System >> Inspection
April 5, 2026: LEMON Manuals is launched! Read the announcement.

Power Window Control System: Inspection

  1. INSPECT POWER WINDOW MASTER SWITCH CONTINUITY 

    Front driver's switch: 

    TESTER CONNECTION SPECIFICATION

    Switch position Tester connection Specified condition
    AUTO 7 - 16 Continuity
    UP 6 - 16 Continuity
    OFF - No continuity
    DOWN 16 - 18 Continuity

    Front passenger's switch: 

    TESTER CONNECTION SPECIFICATION

    Switch position Tester connection Specified condition
    AUTO 3 - 13 Continuity
    UP 3 - 12 Continuity
    OFF - No continuity
    DOWN 3 - 4 Continuity

    Rear left switch: 

    TESTER CONNECTION SPECIFICATION

    Switch position Tester connection Specified condition
    AUTO 13 - 14 Continuity
    UP 12 - 14 Continuity
    OFF - No continuity
    DOWN 4 - 14 Continuity

    Rear right switch: 

    TESTER CONNECTION SPECIFICATION

    Switch position Tester connection Specified condition
    UP AUTO 11 - 13 Continuity
    UP 11 - 12 Continuity
    OFF - No continuity
    DOWN 4 - 11 Continuity
    Fig 1: Inspecting Power Window Master Switch Continuity
    G03471181Courtesy of © TOYOTA, LICENSE AGREEMENT TMS1002

    If continuity is not as specified, replace the master switch.

  2. INSPECT POWER WINDOW MASTER SWITCH CIRCUIT 

    (See  POWER WINDOW MASTER SWITCH CIRCUIT  ) 

  3. INSPECT POWER WINDOW MASTER SWITCH ILLUMINATION 
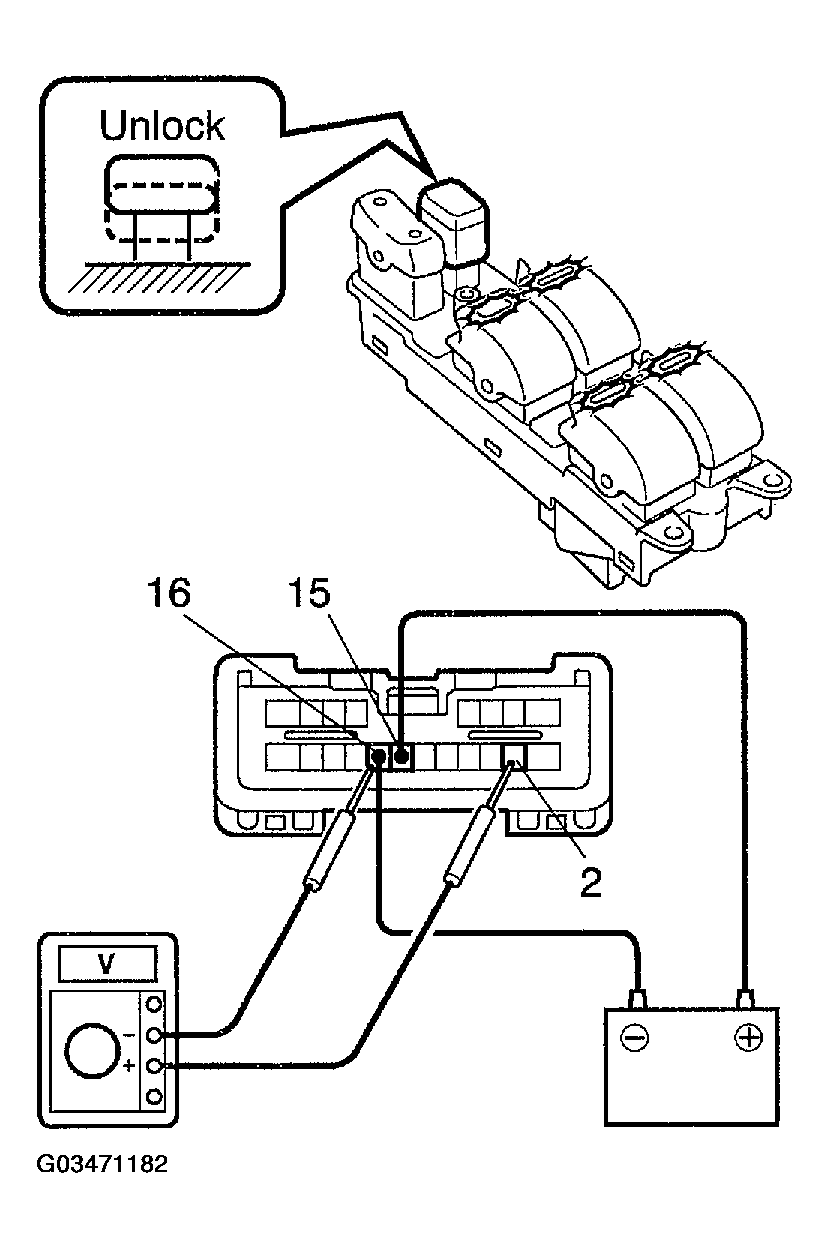
    1. Set the window lock switch to the unlock position.
    2. Connect the positive (+) lead from the battery to terminal 15 and the negative (-) lead to terminal 16, and check that all the illuminations light up.
    3. Connect the positive (+) lead from the voltmeter to terminal 15 and negative (-) lead to terminal 2, and check that the voltage meter needle indicates battery positive voltage.
      Fig 2: Connecting Positive Lead From Voltmeter To Terminal 15 And Negative Lead To Terminal 2
      G03471182Courtesy of © TOYOTA, LICENSE AGREEMENT TMS1002
    4. Set the window lock switch to the lock position, check that all the passenger's power window switch illuminations go out.
    5. Then, check that the voltage meter needle indicates no voltage.

    If operation is not as specified, replace the master switch.

    Fig 3: Checking Voltage Meter Needle Indicates No Voltage
    G03471183Courtesy of © TOYOTA, LICENSE AGREEMENT TMS1002
  4. INSPECT POWER WINDOW SWITCH CONTINUITY 
    TESTER CONNECTION SPECIFICATION

    Switch position Tester connection Specified condition
    AUTO 3 - 5 Continuity
    UP 3 - 6 Continuity
    OFF - No continuity
    DOWN 3 - 4 Continuity

    If continuity is not as specified, replace the switch.

  5. INSPECT POWER WINDOW SWITCH CIRCUIT 

    Passenger side: (See  POWER WINDOW SWITCH CIRCUIT  ) 

    Rear LH side: (See  POWER WINDOW SWITCH CIRCUIT  ) 

    Rear RH side: (See  POWER WINDOW SWITCH CIRCUIT  ) 

    Fig 4: Inspecting Power Window Switch Circuit
    G03471184Courtesy of © TOYOTA, LICENSE AGREEMENT TMS1002
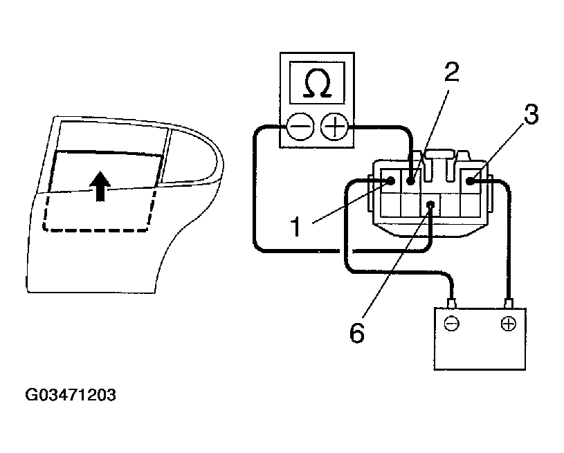
  6. INSPECT POWER WINDOW SWITCH ILLUMINATION 

    Connect the positive (+) lead from the battery to terminal 3 and the negative (-) lead to terminal 2, and check that the indicator light lights up.

    If operation is not as specified, replace the switch.

    Fig 5: Inspecting Power Window Switch Illumination
    G03471185Courtesy of © TOYOTA, LICENSE AGREEMENT TMS1002
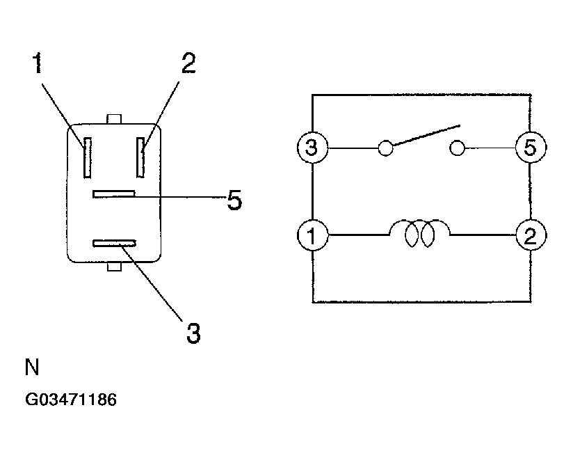
  7. INSPECT POWER MAIN RELAY CONTINUITY 
    TESTER CONNECTION SPECIFICATION

    Condition Tester connection Specified condition
    Constant 1 - 2 Continuity
    Apply B+ between terminals 1 and 2. 3 - 5 Continuity

    If continuity is not as specified, replace the relay.

    Fig 6: Inspecting Power Main Relay Continuity
    G03471186Courtesy of © TOYOTA, LICENSE AGREEMENT TMS1002
  8. INSPECT POWER MAIN RELAY CIRCUIT 

    (See  INSPECTION  ) 

  9. Driver's door: INSPECT POWER WINDOW MOTOR OPERATION 
    1. Connect the positive (+) lead from the battery to terminal 1 and the negative (-) lead to terminal 2, and check that the motor turns clockwise.
      Fig 7: Inspecting Power Window Motor Operation (Driver'S Door) (1 Of 2)
      G03471187Courtesy of © TOYOTA, LICENSE AGREEMENT TMS1002
    2. Reverse the polarity, check that the motor turns counterclockwise.

    If operation is not as specified, replace the motor.

  10. Driver's door: INSPECT POWER WINDOW MOTOR CIRCUIT 

    (See  POWER WINDOW MASTER SWITCH CIRCUIT  ) 

    Fig 8: Inspecting Power Window Motor Operation (Driver'S Door) (2 Of 2)
    G03471188Courtesy of © TOYOTA, LICENSE AGREEMENT TMS1002
  11. Front passenger's door: INSPECT POWER WINDOW MOTOR OPERATION 
    1. Connect the positive (+) lead from the battery to terminal 1 and the negative (-) lead to terminal 2, and check that the motor turns clockwise.
      Fig 9: Inspecting Power Window Motor Operation (Front Passenger'S Door) (1 Of 2)
      G03471189Courtesy of © TOYOTA, LICENSE AGREEMENT TMS1002
    2. Reverse the polarity, check that the motor turns counterclockwise.

    If operation is not as specified, replace the motor.

  12. Front passenger's door: INSPECT POWER WINDOW MOTOR CIRCUIT 

    (See  POWER WINDOW MOTOR CIRCUIT  ) 

    Fig 10: Inspecting Power Window Motor Operation (Front Passenger'S Door) (2 Of 2)
    G03471190Courtesy of © TOYOTA, LICENSE AGREEMENT TMS1002
  13. Rear left side door: INSPECT POWER WINDOW MOTOR OPERATION 
    1. Connect the positive (+) lead from the battery to terminal 3 and the negative (-) lead to terminal 1, and check that the motor turns clockwise.
      Fig 11: Inspect Power Window Motor Operation (Rear Left Side Door) (1 Of 2)
      G03471191Courtesy of © TOYOTA, LICENSE AGREEMENT TMS1002
    2. Reverse the polarity, check that the motor turns counterclockwise.

    If operation is not as specified, replace the motor.

    Fig 12: Inspect Power Window Motor Operation (Rear Left Side Door) (2 Of 2)
    G03471192Courtesy of © TOYOTA, LICENSE AGREEMENT TMS1002
  14. Rear right side door: INSPECT POWER WINDOW MOTOR OPERATION 
    1. Connect the positive (+) lead from the battery to terminal 1 and the negative (-) lead to terminal 3, and check that the motor turns clockwise.
      Fig 13: Inspect Power Window Motor Operation (Rear Right Side Door) (1 Of 2)
      G03471193Courtesy of © TOYOTA, LICENSE AGREEMENT TMS1002
    2. Reverse the polarity, check that the motor turns counterclockwise.

    If operation is not as specified, replace the motor.

    Fig 14: Inspect Power Window Motor Operation (Rear Right Side Door) (2 Of 2)
    G03471194Courtesy of © TOYOTA, LICENSE AGREEMENT TMS1002
  15. Front door: INSPECT POWER WINDOW MOTOR PTC OPERATION 
    1. Disconnect the connector from the master switch.
    2. Connect the positive (+) lead from the battery to terminal 2 and the negative (-) lead to terminal 1 on the wire harness side connector and raise the window to full closed position.
      Fig 15: Inspecting Power Window Motor PTC Operation (Front Door) (1 Of 2)
      G03471195Courtesy of © TOYOTA, LICENSE AGREEMENT TMS1002
    3. Continue to apply voltage, check that there is a PTC operation noise within approximately 4 to 90 seconds.
    4. Reverse the polarity, check that the window begins to descend within approximately 60 seconds.

    If operation is not as specified, replace the motor.

    Fig 16: Inspecting Power Window Motor PTC Operation (Front Door) (2 Of 2)
    G03471196Courtesy of © TOYOTA, LICENSE AGREEMENT TMS1002
  16. Rear door: INSPECT POWER WINDOW MOTOR PTC OPERATION 
    1. Disconnect the connector from the rear door ECU.
    2. Connect the positive (+) lead from the battery to terminal 3 and the negative (-) lead to terminal 1 on the wire harness side connector, and raise the window to full closed position.
    3. Continue to apply voltage, check that there is a PTC operation noise within approximately 4 to 90 seconds.
      Fig 17: Inspecting Power Window Motor PTC Operation (Rear Door) (1 Of 2)
      G03471197Courtesy of © TOYOTA, LICENSE AGREEMENT TMS1002
    4. Reverse the polarity, check that the window begins to descend within approximately 60 seconds.

    If operation is not as specified, replace the motor.

    Fig 18: Inspecting Power Window Motor PTC Operation (Rear Door) (2 Of 2)
    G03471198Courtesy of © TOYOTA, LICENSE AGREEMENT TMS1002
  17. Driver's door (window up): INSPECT JAM PROTECTION LIMIT SWITCH OPERATION 
    1. Connect the positive (+) lead from the ohmmeter to terminal 4 and the negative (-) lead to terminal 5.
    2. Connect the positive (+) lead from the battery to terminal 1 and the negative (-) lead to terminal 2.
    3. Check that the continuity exists when the window goes up.
      Fig 19: Inspecting Jam Protection Limit Switch Operation (Driver'S Door Window Up) (1 Of 2)
      G03471199Courtesy of © TOYOTA, LICENSE AGREEMENT TMS1002
    4. Check that the no continuity exists when the window is in the fully closed position.

    If operation is not as specified, replace the motor.

    NOTE: If connecting the wire harness wrongly, the sensor might be damaged so caution is necessary.
  18. Driver's door: INSPECT JAM PROTECTION LIMIT SWITCH CIRCUIT (See  JAM PROTECTION LIMIT SWITCH CIRCUIT  ) 
    Fig 20: Inspecting Jam Protection Limit Switch Operation (Driver'S Door Window Up) (2 Of 2)
    G03471200Courtesy of © TOYOTA, LICENSE AGREEMENT TMS1002
  19. Front passenger's door (window up): INSPECT JAM PROTECTION LIMIT SWITCH OPERATION 
    1. Connect the positive (+) lead from the ohmmeter to terminal 4 and the negative (-) lead to terminal 5.
    2. Connect the positive (+) lead from the battery to terminal 2 and the negative (-) lead to terminal 1.
    3. Check that the continuity exists when the window goes up.
      Fig 21: Inspecting Jam Protection Limit Switch Operation (Front Passenger'S Door Window Up) (1 Of 2)
      G03471201Courtesy of © TOYOTA, LICENSE AGREEMENT TMS1002
    4. Check that the no continuity exists when the window is in the fully closed position.

    If operation is not as specified, replace the motor.

    NOTE: If connecting the wire harness wrongly, the sensor might be damaged so caution is necessary.
  20. Passenger's Door: INSPECT JAM PROTECTION LIMIT SWITCH CIRCUIT (See  JAM PROTECTION LIMIT SWITCH CIRCUIT  ) 
    Fig 22: Inspecting Jam Protection Limit Switch Operation (Front Passenger'S Door Window Up) (2 Of 2)
    G03471202Courtesy of © TOYOTA, LICENSE AGREEMENT TMS1002
  21. Rear LH side door (window up): INSPECT JAM PROTECTION LIMIT SWITCH OPERATION 
    1. Connect the positive (+) lead from the ohmmeter to terminal 2 and the negative (-) lead to terminal 6.
    2. Connect the positive (+) lead from the battery to terminal 3 and the negative (-) lead to terminal 1.
    3. Check that the continuity exists when the window goes up.
      Fig 23: Inspecting Jam Protection Limit Switch Operation (Rear LH Side Door) (1 Of 2)
      G03471203Courtesy of © TOYOTA, LICENSE AGREEMENT TMS1002
    4. Check that the no continuity exists when the window is in the fully closed position.

    If operation is not as specified, replace the motor.

    NOTE: If connecting the wire harness wrongly, the sensor might be damaged so caution is necessary.
    Fig 24: Inspecting Jam Protection Limit Switch Operation (Rear LH Side Door) (2 Of 2)
    G03471204Courtesy of © TOYOTA, LICENSE AGREEMENT TMS1002
  22. Rear RH side door (window up): INSPECT JAM PROTECTION LIMIT SWITCH OPERATION 
    1. Connect the positive (+) lead from the ohmmeter to terminal 2 and the negative (-) lead to terminal 6.
    2. Connect the positive (+) lead from the battery to terminal 3 and the negative (-) lead to terminal 1.
    3. Check that the continuity exists when the window goes up.
      Fig 25: Inspecting Jam Protection Limit Switch Operation (Rear RH Side Door) (1 Of 2)
      G03471205Courtesy of © TOYOTA, LICENSE AGREEMENT TMS1002
    4. Check that the no continuity exists when the window is in the fully closed position.

    If operation is not as specified, replace the motor.

    NOTE: If connecting the wire harness wrongly, the sensor might be damaged so caution is necessary.
    Fig 26: Inspecting Jam Protection Limit Switch Operation (Rear RH Side Door) (2 Of 2)
    G03471206Courtesy of © TOYOTA, LICENSE AGREEMENT TMS1002
  23. Driver's door: INSPECT JAM PROTECTION PULSE SWITCH OPERATION 
    1. Connect the positive (+) lead from the TOYOTA electrical tester to terminal 3 and the negative (-) lead to terminal 5.
    2. Connect the positive (+) lead from the battery to terminal 1 and the negative (-) lead to terminal 2.
    3. Check that pulse is generated during the motor running.
      Fig 27: Inspecting Jam Protection Pulse Switch Operation (Driver'S Door) (1 Of 2)
      G03471207Courtesy of © TOYOTA, LICENSE AGREEMENT TMS1002
    4. Reverse the polarity and check that pulse is generated.

    If pulse is not generated, replace the motor.

    NOTE: If connecting the wire harness wrongly, the sensor might be damaged so caution is necessary.
  24. Driver's door: INSPECT JAM PROTECTION PULSE SWITCH CIRCUIT (See  JAM PROTECTION PULSE SWITCH CIRCUIT  ) 
    Fig 28: Inspecting Jam Protection Pulse Switch Operation (Driver'S Door) (2 Of 2)
    G03471208Courtesy of © TOYOTA, LICENSE AGREEMENT TMS1002
  25. Front passenger's door: INSPECT JAM PROTECTION PULSE SWITCH OPERATION 
    1. Connect the positive (+) lead from the TOYOTA electrical tester to terminal 3 and the negative (-) lead to terminal 5.
    2. Connect the positive (+) lead from the battery to terminal 2 and the negative (-) lead to terminal 1.
    3. Check that pulse is generated during the motor running.
      Fig 29: Inspecting Jam Protection Pulse Switch Operation (Front Passenger'S Door) (1 Of 2)
      G03471209Courtesy of © TOYOTA, LICENSE AGREEMENT TMS1002
    4. Reverse the polarity and check that pulse is generated.

    If pulse is not generated, replace the motor.

    NOTE: If connecting the wire harness wrongly, the sensor might be damaged so caution is necessary.
  26. Front passenger's door: INSPECT JAM PROTECTION PULSE SWITCH CIRCUIT (See  JAM PROTECTION PULSE SWITCH CIRCUIT  ) 
    Fig 30: Inspecting Jam Protection Pulse Switch Operation (Front Passenger'S Door) (2 Of 2)
    G03471210Courtesy of © TOYOTA, LICENSE AGREEMENT TMS1002
  27. Rear LH side door: INSPECT JAM PROTECTION PULSE SWITCH 
    1. Connect the positive (+) lead from the TOYOTA electrical tester to terminal 3 and the negative (-) lead to terminal 5.
    2. Connect the positive (+) lead from the battery to terminal 2 and the negative (-) lead to terminal 1.
    3. Check that pulse is generated during the motor running.
      Fig 31: Inspecting Jam Protection Pulse Switch (Rear LH Side Door) (1 Of 2)
      G03471211Courtesy of © TOYOTA, LICENSE AGREEMENT TMS1002
    4. Reverse the polarity and check that pulse is generated.

    If pulse is not generated, replace the motor.

    NOTE: If connecting the wire harness wrongly, the sensor might be damaged so caution is necessary.
    Fig 32: Inspecting Jam Protection Pulse Switch (Rear LH Side Door) (2 Of 2)
    G03471212Courtesy of © TOYOTA, LICENSE AGREEMENT TMS1002
  28. Rear RH side door: INSPECT JAM PROTECTION PULSE SWITCH 
    1. Connect the positive (+) lead from the TOYOTA electrical tester to terminal 3 and the negative (-) lead to terminal 5.
    2. Connect the positive (+) lead from the battery to terminal 1 and the negative (-) lead to terminal 2.
    3. Check that pulse is generated during the motor running.
      Fig 33: Inspecting Jam Protection Pulse Switch (Rear RH Side Door) (1 Of 2)
      G03471213Courtesy of © TOYOTA, LICENSE AGREEMENT TMS1002
    4. Reverse the polarity and check that pulse is generated.

    If pulse is not generated, replace the motor.

    NOTE: If connecting the wire harness wrongly, the sensor might be damaged so caution is necessary.
  29. CHECKING OF THE JAM PROTECTION FUNCTION 
    NOTE: Never, ever be caught any part of your body when checking.

    HINT:

    In case of performing resetting of the limit switch, do checking after repeating up and down of the glass with automatic operation.

    Fig 34: Inspecting Jam Protection Pulse Switch (Rear RH Side Door) (2 Of 2)
    G03471214Courtesy of © TOYOTA, LICENSE AGREEMENT TMS1002
    1. Confirmation of AUTO up operation:

      Confirm that the window will be fully close with AUTO up operation.

    2. Checking of the operation of the jam protection function:
      1. Move up the window with AUTO up operation and check that the window will go down when it touches the handle of the hammer settled.
      2. Confirm that the window will then stop going down about 200 mm.

    HINT:

    In case of removing the glass, glass guide, regulator and etc. be sure to perform checking of the jam protection function.

    If the jam protection is not function properly, adjust power window motor reset switch and pulse switch.