LEMON Manuals: Even more car manuals for everyone: 1960-2025
Home >> Lexus >> 2004 >> LS 430 >> Repair and Diagnosis >> External Pages >> Different car >> Section 446 (Power Seat Control System) >> Inspection
April 5, 2026: LEMON Manuals is launched! Read the announcement.

Section 446 (Power Seat Control System): Inspection

WARNING: This page is about a different car, the 2004 Lexus LX 470. However, it is still accessible from the selected car via links, so may be relevant.
  1. INSPECT DRIVER'S POWER SEAT SWITCH CIRCUIT 

    (See  POWER SEAT CONTROL SWITCH CIRCUIT  ) 

  2. INSPECT PASSENGER'S POWER SEAT SWITCH CONTINUITY 

    Slide switch: 

    SLIDE SWITCH SPECIFICATION

    Switch position Tester connection Specified condition
    FRONT 4 - 7 - (6) 8 - 11 -(12) Continuity
    OFF 4 - 7 - (6) - 8 Continuity
    BACK 4 - 11 - (12) (6) - 7 - 8 Continuity

    Front vertical switch: 

    FRONT VERTICAL SWITCH SPECIFICATION

    Switch position Tester connection Specified condition
    UP (6) - 7 - 10 9 - 11 - (12) Continuity
    OFF (6) - 7 - 9 - 10 Continuity
    DOWN 6 - (7) - 9 10 - 11 - (12) Continuity

    Lifter switch: 

    LIFTER SWITCH SPECIFICATION

    Switch position Tester connection Specified condition
    UP 2 - (6) - 7 3 - 11 - (12) Continuity
    OFF 2 - 3 - (6) - 7 Continuity
    DOWN 2 - 11 - (12) 3- (6) - 7 Continuity
    Fig 1: Identifying Power Seat Control System Switch Terminals
    G03485952Courtesy of © TOYOTA, LICENSE AGREEMENT TMS1002

    Reclining switch: 

    RECLINING SWITCH SPECIFICATION

    Switch position Tester connection Specified condition
    FORWARD 1 - 11 - (12) 5 -(6) - 7 Continuity
    OFF 1 - 5 - (6) - 7 Continuity
    REAR 1 - (6) - 7 5 - 11 - (12) Continuity

    If continuity is not as specified, replace the switch.

  3. INSPECT PASSENGER'S POWER SEAT SWITCH CIRCUIT 
    1. Disconnect the switch connector and connect the sea wire harness to the floor wire harness.
    2. Inspect the connector on the wire harness side.
      Fig 2: Identifying Wire Harness Side Connector Terminal
      G03485953Courtesy of © TOYOTA, LICENSE AGREEMENT TMS1002
      RECLINING SWITCH SPECIFICATION

      Tester connection Condition Specified condition
      7 - Ground Always Continuity
      11 - Ground Always Battery positive voltage

      If circuit is not as specified, inspect the circuits connected to other parts.

  4. INSPECT DRIVER'S LUMBAR SUPPORT SWITCH CONTINUITY 
    LUMBAR SUPPORT SWITCH TERMINAL CONTINUITY REFERENCE

    Switch position Tester connection Specified condition
    FORWARD 1 - 4 2 - 3 Continuity
    OFF 1 - 2 - 3 Continuity
    RELEASE 1 - 3 2 - 4 Continuity

    If continuity is not as specified, replace the switch.

    Fig 3: Identifying Driver'S Lumbar Support Switch Continuity
    G03485954Courtesy of © TOYOTA, LICENSE AGREEMENT TMS1002
  5. INSPECT DRIVER'S LUMBAR SUPPORT SWITCH CIRCUIT 
    1. Disconnect the switch connector and connect the seat wire harness to the floor wire harness.
    2. Inspect the connector on the wire harness side.
      Fig 4: Identifying Wire Harness Side Connector Terminal
      G03485955Courtesy of © TOYOTA, LICENSE AGREEMENT TMS1002
      CONNECTOR TERMINAL SPECIFICATION

      Tester connection Condition Specified condition
      3 - Ground Always Continuity
      4 - Ground Always Battery positive voltage

      If circuit is not as specified, inspect the circuits connected to other parts.

  6. INSPECT SLIDE MOTOR OPERATION 
    1. Connect the battery positive (+) lead to terminal 1 and the battery negative (-) lead to terminal 2, check that the motor turns clockwise.
    2. Reverse the polarity, and check that the motor turns counterclockwise.

      If operation is not as specified, replace the seat adjuster.

      Fig 5: Identifying Slide Motor Connection To Battery Terminals
      G03485956Courtesy of © TOYOTA, LICENSE AGREEMENT TMS1002
  7. INSPECT SLIDE MOTOR PTC THERMISTOR OPERATION 

    (): Passenger side 

    1. Connect the battery positive (+) lead to terminal 2(1), the ammeter positive (+) lead to terminal 1 (2) and the ammeter negative (-) lead to the battery negative (-) terminal, then move the seat cushion to the front position.
    2. Continue to apply voltage, and check that current changes to less than 1 ampere within 4 to 90 seconds.
      Fig 6: Measuring Current At Slide Motor PTC Thermistor Terminals
      G03485957Courtesy of © TOYOTA, LICENSE AGREEMENT TMS1002
    3. Disconnect the leads from terminals.
    4. Approximately 60 seconds later, connect the battery positive (+) lead to terminal 1 (2) and the battery negative (-) lead to terminal 2 (1), and check that the seat cushion begins to move backwards.

      If operation is not as specified, replace the seat adjuster.

      Fig 7: Identifying Front Vertical Motor Terminal Connection To Battery
      G03485958Courtesy of © TOYOTA, LICENSE AGREEMENT TMS1002
  8. INSPECT FRONT VERTICAL MOTOR OPERATION 
    1. Connect the battery positive (+) lead to terminal 1 and the battery negative (-) lead to terminal 2, and check that the motor turns clockwise.
    2. Reverse the polarity, and check that the motor turns counterclockwise.

      If operation is not as specified, replace the seat adjuster.

      Fig 8: Identifying Front Vertical Motor Terminal Connection To Battery
      G03485959Courtesy of © TOYOTA, LICENSE AGREEMENT TMS1002
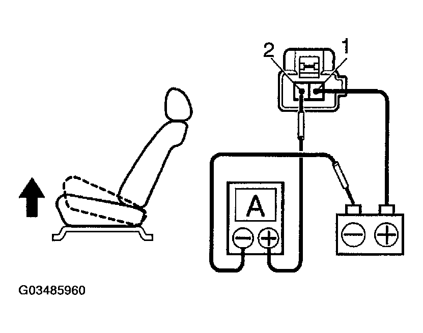
  9. INSPECT FRONT VERTICAL MOTOR PTC THERMISTOR OPERATION 

    (): Passenger side 

    1. Connect the battery positive (+) lead to terminal 1 (2), the ammeter positive (+) lead to terminal 2 (1) and the ammeter negative (-) lead to the battery negative (-) terminal, then move the seat cushion to the highest position.
    2. Continue to apply voltage, and check that the current changes to less than 1 ampere within 4 to 90 seconds.
      Fig 9: Measuring Current At Front Vertical Motor PTC Thermistor Terminals
      G03485960Courtesy of © TOYOTA, LICENSE AGREEMENT TMS1002
    3. Disconnect the leads from the terminals.
    4. Approximately 60 seconds later, connect the battery positive (+) lead to terminal 2 (1) and the battery negative (-) lead to terminal 1 (2), and check that the seat cushion begins to descend.

      If operation is not as specified, replace the seat adjuster.

      Fig 10: Identifying Front Vertical Motor PTC Thermistor Terminal Connection To Battery
      G03485961Courtesy of © TOYOTA, LICENSE AGREEMENT TMS1002
  10. INSPECT LIFTER MOTOR OPERATION 
    1. Connect the battery positive (+) lead to terminal 1 and the battery negative (-) lead to terminal 2, and check that the motor turns clockwise.
    2. Reverse the polarity, and check that the motor turns counterclockwise.

      If operation is not as specified, replace the seat adjuster.

      Fig 11: Identifying Lifter Motor Connection To Battery
      G03485962Courtesy of © TOYOTA, LICENSE AGREEMENT TMS1002
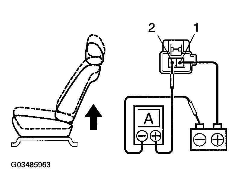
  11. INSPECT LIFTER MOTOR PTC THERMISTOR OPERATION 
    1. Connect the battery positive (+) lead to terminal 1 (2), the ammeter positive (+) lead to terminal 2 (1) and the ammeter negative (-) lead to the battery negative (-) terminal, then move the seat to the highest position.
    2. Continue to apply voltage, and check that the current changes to less than 1 ampere within 4 to 90 seconds.
      Fig 12: Measuring Current At Lifter Motor PTC Thermistor Terminals
      G03485963Courtesy of © TOYOTA, LICENSE AGREEMENT TMS1002
    3. Disconnect the leads from the terminals.
    4. Approximately 60 seconds later, connect the battery positive (+) lead to terminal 2 (1) and the battery negative (-) lead to terminal 1 (2), and check that the seat begins to descend.

      If operation is not as specified, replace the seat adjuster.

      Fig 13: Identifying Lifter Motor PTC Thermistor Connection To Battery
      G03485964Courtesy of © TOYOTA, LICENSE AGREEMENT TMS1002
  12. INSPECT RECLINING MOTOR OPERATION 
    1. Connect the battery positive (+) lead to terminal 1 and the battery negative (-) lead to terminal 2, and check that the motor turns clockwise.
    2. Reverse the polarity, and check that the motor turns counterclockwise.

      If operation is not as specified, replace the seat adjuster.

      Fig 14: Identifying Reclining Motor Terminal Connection To Battery
      G03485965Courtesy of © TOYOTA, LICENSE AGREEMENT TMS1002
  13. INSPECT RECLINING MOTOR PTC THERMISTOR OPERATION 
    1. Connect the battery positive (+) lead to terminal 2, the ammeter positive (+) lead to terminal 1 and the ammeter negative (-) lead to the battery negative (-) terminal, then recline the seat back to the most forward position.
    2. Continue to apply voltage, and check that the current changes to less than 1 ampere within 4 to 90 seconds.
      Fig 15: Measuring Current At Reclining Motor PTC Thermistor Terminals
      G03485966Courtesy of © TOYOTA, LICENSE AGREEMENT TMS1002
    3. Disconnect the leads from the terminals.
    4. Approximately 60 seconds later, connect the battery positive (+) lead to terminal 1 and the battery negative (-) lead to terminal 2, and check that the seat back begins to fall backward.

      If operation is not as specified, replace the seat adjuster.

      Fig 16: Identifying Reclining Motor PTC Thermistor Terminal Connection To Battery
      G03485967Courtesy of © TOYOTA, LICENSE AGREEMENT TMS1002
  14. INSPECT LUMBAR SUPPORT MOTOR OPERATION 
    1. Connect the battery positive (+) lead to terminal 1 and the battery negative (-) lead to terminal 2, and check that the lumbar support moves to release side.
      Fig 17: Identifying Lumbar Support Motor Terminal Connection To Battery
      G03485968Courtesy of © TOYOTA, LICENSE AGREEMENT TMS1002
    2. Reverse the polarity, check that the lumbar support moves forward.

      If operation is not as specified, replace the seat adjuster.

      Fig 18: Identifying Lumbar Support Motor Terminal Connection To Battery In Reverse Order
      G03485969Courtesy of © TOYOTA, LICENSE AGREEMENT TMS1002
  15. INSPECT LUMBAR SUPPORT MOTOR CIRCUIT BREAKER OPERATION 
    1. Connect the battery positive (+) lead to terminal 2 and the battery negative (-) lead to terminal 1 on the lumbar support motor connector and move the lumbar support to front end position.
      Fig 19: Inspecting Lumbar Support Motor Circuit Breaker Operation
      G03485970Courtesy of © TOYOTA, LICENSE AGREEMENT TMS1002
    2. Continue to apply voltage, and check that a circuit breaker operation noise can be heard within 4 to 60 seconds.
    3. Reverse the polarity, check that the lumbar support be gins to move to the release side within approximately 60 seconds.

      If operation is not as specified, replace the motor.

      Fig 20: Identifying Lumbar Support Motor Terminal Connection To Battery
      G03485971Courtesy of © TOYOTA, LICENSE AGREEMENT TMS1002