LEMON Manuals: Even more car manuals for everyone: 1960-2025
Home >> Lexus >> 2006 >> GS 430 >> Repair and Diagnosis >> Brakes >> Brakes Control Systems >> Brake Control >> Electronically Controlled Brake System >> Test Mode Procedure
April 5, 2026: LEMON Manuals is launched! Read the announcement.

Test Mode Procedure

  1. WARNING LIGHT AND INDICATOR LIGHT BULB CHECK 
    1. Release the parking brake.
      NOTE: When releasing the parking brake, set chocks to hold the vehicle for safety.

      HINT:

      • When the engine switch is on (IG), check that the ABS, BRAKE, brake control warning lights and SLIP indicator light come on for approximately 3 seconds.
      • If the warning light and indicator light check result is not normal, proceed to troubleshooting for the ABS, BRAKE, brake control warning light circuits, and SLIP indicator light circuit.

        If the indicator remains on, proceed to troubleshooting for the light circuit below.

      TROUBLE AREA AND SEE PROCEDURE CHART

      Trouble Area See procedure
      ABS warning light circuit ABS WARNING LIGHT REMAINS ON  or ABS WARNING LIGHT DOES NOT COME ON 
      BRAKE warning light circuit BRAKE WARNING LIGHT REMAINS ON  or BRAKE WARNING LIGHT DOES NOT COME ON 
      Brake control warning light circuit BRAKE CONTROL WARNING LIGHT REMAINS ON  or BRAKE CONTROL WARNING LIGHT DOES NOT COME ON 
      SLIP indicator light circuit SLIP INDICATOR LIGHT REMAINS ON  or BRAKE WARNING LIGHT DOES NOT COME ON 
      Fig 1: Identifying Warning Light And Indicator Light Bulb
      G04025086Courtesy of © TOYOTA, LICENSE AGREEMENT TMS1002
  2. SENSOR SIGNAL CHECK BY TEST MODE (SIGNAL CHECK) (WHEN USING INTELLIGENT TESTER:) 
    1. When having replaced the skid control ECU and/or yaw rate and acceleration sensor, perform zero point calibration of the yaw rate and acceleration sensor.

      HINT:

      • If the engine switch is turned from on (IG) to on (ACC) or off during Test Mode (signal check), DTCs of the signal check function will be erased.
      • During Test Mode (signal check), the skid control ECU records all DTCs of the signal check function. By performing the Test Mode (signal check), the codes are erased if normality is confirmed. The remaining codes are the codes where an abnormality was found.
    2. Procedure for Test Mode.
      1. Turn the engine switch off.
      2. Connect the intelligent tester to the DLC3.
      3. Check that the steering wheel is centered and move the shift lever to the P position.
      4. Turn the engine switch on (IG).
        Fig 2: Identifying Intelligent Tester To DLC3
        G04025087Courtesy of © TOYOTA, LICENSE AGREEMENT TMS1002
      5. Set the intelligent tester to Test Mode (select "SIGNAL CHECK").

        HINT:

        Refer to the intelligent tester operator's manual for further details.

        Fig 3: Consult-II Display - Diagnostic Menu
        G04025088Courtesy of © TOYOTA, LICENSE AGREEMENT TMS1002
      6. Check that the ABS and brake control warning lights blink and "VSC TEST MODE" is indicated on the multi information display (Test Mode).

        HINT:

        If the ABS and brake control warning lights do not blink, inspect the TS and CG terminal circuit, ABS warning light circuit and/or brake control warning light (multi information display) circuit.

        Fig 4: Identifying Test Mode Blinking Pattern
        G04029729Courtesy of © TOYOTA, LICENSE AGREEMENT TMS1002
      7. Check the ABS sensor.

        HINT:

        Make sure that the ABS warning light is blinking in Test Mode before performing the check.

        Fig 5: Identifying Blinking Pattern
        G04047572Courtesy of © TOYOTA, LICENSE AGREEMENT TMS1002
  3. ACCELERATION SENSOR CHECK (WHEN USING INTELLIGENT TESTER:) 
    1. Keep the vehicle stationary on a level surface for 1 second or longer.

      HINT:

      Acceleration sensor check can be performed with the following master cylinder pressure sensor check.

  4. MASTER CYLINDER PRESSURE SENSOR CHECK (WHEN USING INTELLIGENT TESTER:) 
    1. Leave the vehicle in a stationary condition and release the brake pedal for 1 second or more, and quickly depress and continuously the brake pedal with a force of 98 N (10 kgf, 22 lbf) or more for 1 second.
    2. Check ABS warning light stays on for 3 seconds.

      HINT:

      • Ensure that the ABS warning light comes on.
      • While the ABS warning light stays on, continue to depress the brake pedal with a force of 98 N (10 kgf, 22 lbf) or more.
      • The ABS warning light comes on for 3 seconds every time brake pedal operation above is performed.
  5. SPEED SENSOR CHECK (WHEN USING INTELLIGENT TESTER:) 
    1. Check the backward signal.
      1. Drive the vehicle in reverse for more than 1 second at the speed of 2 mph (3 km/h) or higher.

        HINT:

        Drive the vehicle in reverse and check the speed sensor signal. Note that the signal check cannot be completed if the vehicle speed is 28 mph (45 km/h) or higher.

    2. Check the forward signal.
      1. Drive the vehicle straight ahead.

        Drive the vehicle at a speed of 28 mph (45 km/h) or higher for several seconds and check that the ABS warning light goes off.

        HINT:

        The signal check may not be completed if the vehicle has its wheels spun.

    3. Stop the vehicle.
      NOTE:
      • Before performing the speed sensor signal check, complete the acceleration sensor and master cylinder pressure sensor checks.
      • The speed sensor signal check may not be completed if the speed sensor signal check is started while turning the steering wheel or spinning the wheels.
      • After the ABS warning light goes off and if the vehicle speed exceeds 50 mph (80 km/h), a signal check code will be stored again. Accelerate or stop the vehicle before the speed reaches 50 mph (80 km/h).
      • If the signal check has not been completed, the ABS warning light blinks while driving and the ABS system does not operate.

      HINT:

      When the signal check has been completed, the ABS warning light goes off while driving, and blinks in the Test Mode pattern while the vehicle is stationary.

      1. Check the VSC sensor.

        Perform the check after checking that the brake control warning light blinks and that "VSC TEST MODE" is indicated on the multi information display.

        Fig 6: Identifying Blinking Pattern
        G04025091Courtesy of © TOYOTA, LICENSE AGREEMENT TMS1002
  6. YAW RATE SENSOR CHECK (WHEN USING INTELLIGENT TESTER:) 
    1. Check the zero point voltage of the yaw rate sensor.
      1. Keep the vehicle stationary on a level surface for 1 second or longer.
    2. Check the output of the yaw rate sensor and the direction of the steering angle sensor.
      1. Move the shift lever from P to the D position and drive the vehicle at a speed of approximately 3 mph (5 km/h), turn the steering wheel either to the left or right for 90° or more until the vehicle makes a 180° turn.
      2. Stop the vehicle and move the shift lever to the P position. Check that the skid control buzzer sounds for 3 seconds.

        HINT:

        Fig 7: Identifying Yaw Rate Sensor
        G04052052Courtesy of © TOYOTA, LICENSE AGREEMENT TMS1002
        • If the skid control buzzer sounds, the signal check is completed normally.
        • If the skid control buzzer does not sound, check the skid control buzzer circuit, then perform the signal check again.
        • If the skid control buzzer still does not sound, there way be a malfunction in the yaw rate sensor, so check the DTC.
        • Make a 180° turn. At the end of the turn, the direction of the vehicle should be within 180° + - 5° of its start position.
        • Do not spin the wheels.
        • Do not turn the engine switch off while turning.
        • Do not move the shift lever to the P position while turning, but change in the vehicle speed, stopping, or driving in reverse is possible.
        • Complete the turn within 20 seconds.
  7. END OF SENSOR CHECK (WHEN USING INTELLIGENT TESTER:) 
    1. If the sensor check is completed, the ABS warning light blinks (Test Mode) when the vehicle stops, and the ABS warning light goes off when the vehicle is driving.
      NOTE:
      • When the yaw rate sensor, acceleration sensor, speed sensor and master cylinder pressure sensor checks are finished, all the sensor checks are completed.
      • If all the sensor checks are not completed, the ABS warning light blinks even while the vehicle is driving and the ABS does not operate.
        Fig 8: Identifying Blinking Pattern
        G04025093Courtesy of © TOYOTA, LICENSE AGREEMENT TMS1002
  8. READ DTC OF SIGNAL CHECK FUNCTION (WHEN USING INTELLIGENT TESTER:) 
    1. Read the DTC(s) by following the tester prompt.
      NOTE:
      • If only the DTCs are displayed, repair the malfunction area and clear the DTCs.
      • If the DTCs or Test Mode codes (DTC of signal check function) are displayed, repair the malfunction area, clear the DTCs and perform the Test Mode inspection.

      HINT:

      See the list of DTC.

  9. DTC OF TEST MODE FUNCTION (SIGNAL CHECK) (WHEN USING INTELLIGENT TESTER:) 

    ABS sensor: 

    ABS SENSOR - CODE NO AND DIAGNOSIS TROUBLE AREA CHART

    Code No. Diagnosis Trouble Area
    C1271/71 Low output signal of front speed sensor RH
    • Right front speed sensor
    • Sensor installation
    • Speed sensor rotor
    C1272/72 Low output signal of front speed sensor LH
    • Left front speed sensor
    • Sensor installation
    • Speed sensor rotor
    C1273/73 Low output signal of rear speed sensor RH
    • Right rear speed sensor
    • Sensor installation
    • Speed sensor rotor
    C1274/74 Low output signal of rear speed sensor LH
    • Left rear speed sensor
    • Sensor installation
    • Speed sensor rotor
    C1275/75 Abnormal change in output signal of front speed sensor RH Right front speed sensor rotor
    C1276/76 Abnormal change in output signal of front speed sensor LH Left front speed sensor rotor
    C1277/77 Abnormal change in output signal of rear speed sensor RH Right rear speed sensor rotor
    C1278/78 Abnormal change in output signal of rear speed sensor LH Left rear speed sensor rotor
    C1279/79 Deceleration sensor output voltage malfunction
    • Yaw rate and acceleration sensor
    • Sensor installation
    C1281/81 Master cylinder pressure sensor output malfunction
    • Master cylinder pressure sensor
    • Stop light switch circuit

    VSC sensor: 

    VSC SENSOR - CODE NO AND DIAGNOSIS TROUBLE AREA CHART

    Code No. Diagnosis Trouble Area
    C0371/71 Yaw rate sensor Yaw rate and acceleration sensor

    ECB sensor: 

    ECB SENSOR - CODE NO AND DIAGNOSIS TROUBLE AREA CHART

    Code No. Diagnosis Trouble Area
    C1346/71 Stroke sensor zero point learning malfunction Brake pedal stroke sensor

    HINT:

    The codes in this table are output only in Test Mode (signal check).

  10. SENSOR SIGNAL CHECK BY TEST MODE (SIGNAL CHECK) (WHEN USING SST CHECK WIRE:) 
    1. When having replaced the skid control ECU and/or yaw rate and acceleration sensor, perform zero point calibration of the yaw rate and acceleration sensor.

      HINT:

      • If the engine switch is turned from the on (IG) to the on (ACC) or off during Test Mode (signal check), DTCs of the signal check function will be erased.
      • During Test Mode (signal check), the skid control ECU records all DTCs of the signal check function. By performing the Test Mode (signal check), the codes are erased if normality is confirmed. The remaining codes are the codes where an abnormality was found.
    2. Procedure for Test Mode.
      1. Turn the engine switch off.
      2. Check that the steering wheel is in the straight ahead position and move the shift lever to the P position.
      3. Using SST, connect terminals TS and CG of the DLC3.

        SST 09843-18040 

      4. Turn the engine switch on (IG).
        Fig 9: Identifying Terminals TS And CG Of DLC3
        G04025094Courtesy of © TOYOTA, LICENSE AGREEMENT TMS1002
      5. Check that the ABS and brake control warning lights blink and "VSC TEST MODE" is displayed on the multi information display (Test Mode).

        HINT:

        If the ABS and brake control warning lights do not blink, inspect the TS and CG terminal circuit, ABS warning light circuit and/or brake control warning light (multi information display) circuit.

        Fig 10: Identifying Test Mode Blinking Pattern
        G04029729Courtesy of © TOYOTA, LICENSE AGREEMENT TMS1002
      6. Check the ABS sensor.

        HINT:

        Make sure that the ABS warning light is blinking in Test Mode before performing the check.

        Fig 11: Identifying Blinking Pattern
        G04047572Courtesy of © TOYOTA, LICENSE AGREEMENT TMS1002
  11. ACCELERATION SENSOR CHECK (WHEN USING SST CHECK WIRE:) 
    1. Keep the vehicle stationary on a level surface for 1 second or longer.

      HINT:

      Acceleration sensor check can be performed with the following master cylinder pressure sensor check.

  12. MASTER CYLINDER PRESSURE SENSOR CHECK (WHEN USING SST CHECK WIRE:) 
    1. Leave the vehicle in a stationary condition and release the brake pedal for 1 second or more, and quickly depress and continuously the brake pedal with a force of 98 N (10 kgf, 22 lbf) or more for 1 second.
    2. Check ABS warning light stays on for 3 seconds.

      HINT:

      • Ensure that the ABS warning light comes on.
      • While the ABS warning light stays on, continue to depress the brake pedal with a force of 98 N (10 kgf, 22 lbf) or more.
      • The ABS warning light comes on for 3 seconds every time the brake pedal operation above is performed.
  13. SPEED SENSOR CHECK (WHEN USING SST CHECK WIRE:) 
    1. Check the backward signal.
      1. Drive the vehicle in reverse for more than 1 second at a speed of 2 mph (3 km/h) or higher.

        HINT:

        Drive the vehicle in reverse and check the speed sensor signal. Note that the signal check cannot be completed if the vehicle speed is 28 mph (45 km/h) or higher.

    2. Check the forward signal.
      1. Drive the vehicle straight ahead.

        Drive the vehicle at a speed of 28 mph (45 km/h) or higher for several seconds and check that the ABS warning light goes off.

        HINT:

        The signal check may not be completed if the vehicle has its wheels spun.

    3. Stop the vehicle.
      NOTE:
      • Before performing the speed sensor signal check, complete the acceleration sensor and master cylinder pressure sensor checks.
      • The speed sensor signal check may not be completed if the speed sensor signal check is started while turning the steering wheel or spinning the wheels.
      • After the ABS warning light goes off, if vehicle speed exceeds 50 mph (80 km/h), a signal check code will be stored again. Accelerate or stop the vehicle before the speed reaches 50 mph (80 km/h).
      • If the signal check has not been completed, the ABS warning light blinks while driving and the ABS system does not operate.

      HINT:

      When the signal check has been completed, the ABS warning light goes off while driving, and blinks in the Test Mode pattern while the vehicle is stationary.

      1. Check the VSC sensor.

        Perform the check after checking that the brake control warning light blinks and that "VSC TEST MODE" is indicated on the multi information display.

        Fig 12: Identifying Test Mode Blinking Pattern
        G04029729Courtesy of © TOYOTA, LICENSE AGREEMENT TMS1002
  14. YAW RATE SENSOR CHECK (WHEN USING SST CHECK WIRE:) 
    1. Check the zero point voltage of the yaw rate sensor.
      1. Keep the vehicle stationary on a level surface for 1 second or longer.
    2. Check the output of the yaw rate sensor and the direction of the steering angle sensor.
      1. Move the shift lever from P to the D position and drive the vehicle at a speed of approximately 3 mph (5 km/h), and turn the steering wheel either to the left or right for 90° or more until the vehicle makes a 180° turn.
      2. Stop the vehicle and move the shift lever to the P position. Check that the skid control buzzer sounds for 3 seconds.
        Fig 13: Identifying Yaw Rate Sensor
        G04052052Courtesy of © TOYOTA, LICENSE AGREEMENT TMS1002

        HINT:

        • If the skid control buzzer sounds, the signal check is completed normally.
        • If the skid control buzzer does not sound, check the skid control buzzer circuit, then perform the signal check again.
        • If the skid control buzzer still does not sound, there way be a malfunction in the yaw rate sensor, so check the DTC.
        • Make a 180° turn. At the end of the turn, the direction of the vehicle should be within 180° + - 5° of its start position.
        • Do not spin the wheels.
        • Do not turn the engine switch off while turning.
        • Do not move the shift lever to the P position while turning, but change in the vehicle speed, stopping, or driving in reverse is possible.
        • Complete the turn within 20 seconds.
  15. END OF SENSOR CHECK (WHEN USING SST CHECK WIRE:) 
    1. If the sensor check is completed, the ABS warning light blinks (Test Mode) when the vehicle stops and the ABS warning light goes off when the vehicle is driving.
      NOTE:
      • When the yaw rate sensor, acceleration sensor, speed sensor and master cylinder pressure sensor checks are completed, the sensor checks are completed.
      • If the sensor checks are not finished, all the ABS warning light blinks even while the vehicle is driving and the ABS does not operate.
        Fig 14: Identifying Blinking Pattern
        G04047572Courtesy of © TOYOTA, LICENSE AGREEMENT TMS1002
  16. READ DTC OF SIGNAL CHECK FUNCTION (WHEN USING SST CHECK WIRE:) 
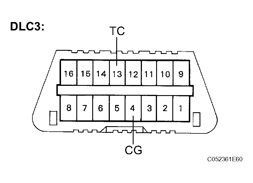
    1. Using SST, connect terminals TC and CG of the DLC3.

      SST 09843-18040 

      Fig 15: Identifying Terminals TC And CG Of DLC3
      G04025100Courtesy of © TOYOTA, LICENSE AGREEMENT TMS1002
    2. Count the number of blinks of the ABS warning light, and read "DIAG VSC" or "DIAG ECB" indication on the multi information display.
      Fig 16: Identifying ABS Warning Light Blinking Pattern
      G04025101Courtesy of © TOYOTA, LICENSE AGREEMENT TMS1002
      NOTE:
      • If only DTCs are displayed, repair the malfunction area and clear the DTCs.
      • If the DTCs or Test Mode codes (DTC of signal check function) are displayed, repair the malfunction area, clear the DTCs and perform the Test Mode inspection.

      HINT:

      • If more than 1 malfunction is detected at the same time, the lowest numbered code will be displayed first.
      • See the list of DTC.
    3. After performing the check, disconnect the SST from terminals TS and CG, TC and CG of the DLC3 and turn the engine switch off.
    4. Turn the engine switch on (IG).

      HINT:

      If the engine switch is not turned to the on (IG) after the SST is removed from the DLC3, the previous Test Mode will continue.

  17. DTC OF TEST MODE FUNCTION (SIGNAL CHECK) (WHEN USING SST CHECK WIRE:) 

    ABS sensor: 

    ABS SENSOR - CODE NO AND DIAGNOSIS TROUBLE AREA CHART

    Code No. Diagnosis Trouble Area
    C1271/71 Low output signal of front speed sensor RH
    • Right front speed sensor
    • Sensor installation
    • Speed sensor rotor
    C1272/72 Low output signal of front speed sensor LH
    • Left front speed sensor
    • Sensor installation
    • Speed sensor rotor
    C1273/73 Low output signal of rear speed sensor RH
    • Right rear speed sensor
    • Sensor installation
    • Speed sensor rotor
    C1274/74 Low output signal of rear speed sensor LH
    • Left rear speed sensor
    • Sensor installation
    • Speed sensor rotor
    C1275/75 Abnormal change in output signal of front speed sensor RH Right front speed sensor rotor
    C1276/76 Abnormal change in output signal of front speed sensor LH Left front speed sensor rotor
    C1277/77 Abnormal change in output signal of rear speed sensor RH Right rear speed sensor rotor
    C1278/78 Abnormal change in output signal of rear speed sensor LH Left rear speed sensor rotor
    C1279/79 Deceleration sensor output voltage malfunction
    • Yaw rate and acceleration sensor
    • Sensor installation
    C1281/81 Master cylinder pressure sensor output malfunction
    • Master cylinder pressure sensor
    • Stop light switch circuit

    VSC sensor: 

    VSC SENSOR - CODE NO AND DIAGNOSIS TROUBLE AREA CHART

    Code No. Diagnosis Trouble Area
    C0371/71 Yaw rate sensor Yaw rate and acceleration sensor

    ECB sensor: 

    ECB SENSOR - CODE NO AND DIAGNOSIS TROUBLE AREA CHART

    Code No. Diagnosis Trouble Area
    C1346/71 Stroke sensor zero point learning malfunction Brake pedal stroke sensor

    HINT:

    The codes in this table are output only in Test Mode (signal check).