LEMON Manuals: Even more car manuals for everyone: 1960-2025
Home >> Lexus >> 2006 >> IS 250 AWD >> Repair and Diagnosis (Single Page) >> Engine Performance >> Remove, Overhaul & Install >> Engine Control System (4GR-FSE) - DTC P0010 - P0158 >> DTC P0121: Throttle / Pedal Position Sensor / Switch "A" Circuit Range / Performance Problem >> Description
April 5, 2026: LEMON Manuals is launched! Read the announcement.

DTC P0121: Throttle / Pedal Position Sensor / Switch "A" Circuit Range / Performance Problem: Description

HINT:

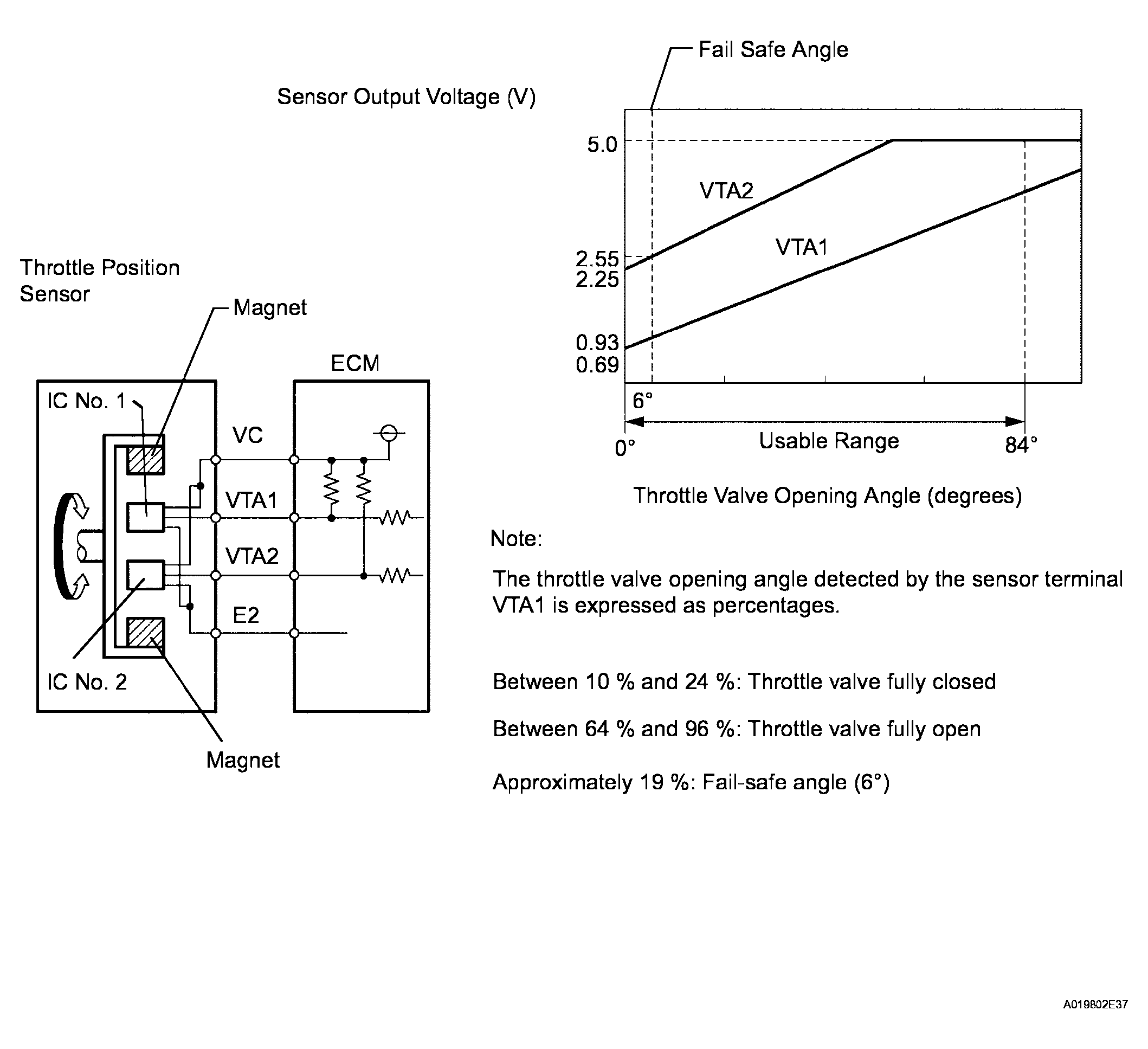
The Throttle Position (TP) sensor is mounted on the throttle body, and detects the opening angle of the throttle valve. This sensor is a non-contact type, and uses Hall-effect elements, in order to yield accurate signals, even in extreme driving conditions, such as at high speeds as well as very low speeds.

The TP sensor has two sensor circuits which each transmits a signal, VTA1 and VTA2. VTA1 is used to detect the throttle valve angle and VTA2 is used to detect malfunctions in VTA1. The sensor signal voltages vary between 0 V and 5 V in proportion to the throttle valve opening angle, and are transmitted to the VTA terminals of the ECM.

As the valve closes, the sensor output voltage decreases and as the valve opens, the sensor output voltage increases. The ECM calculates the throttle valve opening angle according to these signals and controls the throttle actuator in response to driver inputs. These signals are also used in calculations such as air-fuel ratio correction, power increase correction and fuel-cut control.

Fig 1: ETC (Electrical Throttle Control System) Diagram
G04043543Courtesy of © TOYOTA, LICENSE AGREEMENT TMS1002
DTC DETECTION CONDITION CHART

DTC No. DTC Detection Condition Trouble Area
P0121 Difference between VTA1 and VTA2 voltages less than 0.8 V, or more than 1.6 V for 2 seconds (1 trip detection logic) TP sensor (built into throttle body)