LEMON Manuals: Even more car manuals for everyone: 1960-2025
Home >> Lexus >> 2006 >> IS 250 AWD >> Repair and Diagnosis (Single Page) >> Engine Performance >> Remove, Overhaul & Install >> Engine Control System (4GR-FSE) - SFI System Diagnostic And Troubleshooting Introduction, Parts Location, System Diagram, Terminals Of ECM, Diagnostic Trouble Code Chart >> SFI System >> Terminals Of ECM
April 5, 2026: LEMON Manuals is launched! Read the announcement.

Terminals Of ECM

Fig 1: Identifying Terminals Of ECM
G04043455Courtesy of © TOYOTA, LICENSE AGREEMENT TMS1002

HINT:

The standard normal voltage between each pair of the ECM terminals is shown in the table below. The appropriate conditions for checking each pair of the terminals are also indicated. The result of checks should be compared with the standard normal voltage for that pair of terminals, displayed in the Specified Condition column. The illustration above can be used as a reference to identify the ECM terminal locations.

TERMINALS OF ECM REFERENCE CHART

Symbols (Terminal No.) Wiring Color Terminal Description Condition Specified Condition
BATT (A5-4) - E1 (E4-7) L - BR Battery (for measuring battery voltage and for ECM memory) Always 9 to 14 V
+BM (E3-5) - E1 (E4-7) P - BR Power source of throttle motor Always 9 to 14 V
IGSW (A5-17) - E1 (E4-7) B-W - BR Engine switch Engine switch on (IG) 9 to 14 V
+B (A5-6) - E1 (E4-7) B-R - BR Power source of ECM Engine switch on (IG) 9 to 14 V
+B1 (A5-5) - E1 (E4-7) B-R - BR Power source of ECM Engine switch on (IG) 9 to 14 V
OC1+ (E3-34) - OC1- (E3-33) W - L Camshaft timing oil control valve (OCV) (Intake side (bank 1)) Engine switch on (IG) Pulse generation (see waveform 1)
OC2+ (E5-9) - OC2- (E5-8) P - R Camshaft timing oil control valve (OCV) (Intake side (bank 2)) Engine switch on (IG) Pulse generation (see waveform 1)
OE1+ (E3-9) - OE1- (E3-8) R - Y Camshaft timing oil control valve (OCV) (Exhaust side (bank 1)) Engine switch on (IG) Pulse generation (see waveform 1)
OE2+ (E5-24) - OE2- (E5-23) W - R Camshaft timing oil control valve (OCV) (Exhaust side (bank 2)) Engine switch on (IG) Pulse generation (see waveform 1)
MREL (A5-13) - E1 (E4-7) Y - BR EFI MAIN relay Engine switch on (IG) 9 to 14 V
VC (E3-29) - E2 (E3-28) LG - BR Power source for sensors (specific voltage) Engine switch on (IG) 4.5 to 5.0 V
VC2 (E5-29) - E3 (E5-30) L - BR Power source for sensors (specific voltage) Engine switch on (IG) 4.5 to 5.0 V
VG (E5-27) - E2G (E5-26) G - V Mass air flow meter Idling, Shift lever position P or N, A/C switch OFF 0.5 to 3.0 V
THA (E5-25) - E3 (E5-30) L - BR Intake air temperature sensor Idling, Intake air temperature 20°C (68°F) 0.5 to 3.4 V
THW (E5-20) - E2 (E3-28) Y - BR Engine coolant temperature sensor Idling, Engine coolant temperature 80°C (176°F) 0.2 to 1.0 V
VTA1 (E3-23) - E3 (E5-30) LG - BR Throttle position sensor (for engine control) Engine switch on (IG), Throttle valve fully closed 0.5 to 1.2 V
VTA1 (E3-23) - E3 (E5-30) LG - BR Throttle position sensor (for engine control) Engine switch on (IG), Throttle valve fully open 3.2 to 4.8 V
VTA2 (E3-22) - E3 (E5-30) P - BR Throttle position sensor (for sensor malfunction detection) Engine switch on (IG), Accelerator pedal released 2.1 to 3.1 V
VTA2 (E3-22) - E3 (E5-30) P - BR Throttle position sensor (for sensor malfunction detection) Engine switch on (IG), Accelerator pedal depressed 4.5 to 5.0 V
VPA (A6-33) - EPA (A6-34) G-W - L-Y Accelerator pedal position sensor (for engine control) Engine switch on (IG), Accelerator pedal released 0.5 to 1.1 V
VPA (A6-33) - EPA (A6-34) G-W - L-Y Accelerator pedal position sensor (for engine control) Engine switch on (IG), Accelerator pedal depressed 2.6 to 4.5 V
VPA2 (A6-32) - EPA2 (A6-26) P-L - G-B Accelerator pedal position sensor (for sensor malfunctioning detection) Engine switch on (IG), Accelerator pedal released 1.2 to 2.0 V
VPA2 (A6-32) - EPA2 (A6-26) P-L - G-B Accelerator pedal position sensor (for sensor malfunctioning detection) Engine switch on (IG), Accelerator pedal depressed 3.4 to 5.0 V
VCPA (A6-35) - EPA2 (A6-26) P - G-B Power source of accelerator pedal position sensor (for VPA) Engine switch on (IG) 4.5 to 5.0 V
VCP2 (A6-27) - EPA2 (A6-26) G-R - G-B Power source of accelerator pedal position sensor (for VPA2) Engine switch on (IG) 4.5 to 5.0 V
HA1A (E6-6) - E04 (E6-5)
HA2A (E6-4) - E05 (E6-3)
V - W-B
R - W-B
A/F sensor heater Idling Below 3.0 V
HA1A (E6-6) - E04 (E6-5)
HA2A (E6-4) - E05 (E6-3)
V - W-B
R - W-B
A/F sensor heater Engine switch on (IG) 9 to 14 V
A1A+ (E6-18) - E1 (E4-7) R - BR A/F sensor Engine switch on (IG) 3.3 V*
A2A+ (E6-28) - E1 (E4-7) B - BR A/F sensor Engine switch on (IG) 3.3 V*
A1A- (E6-17) - E1 (E4-7) G - BR A/F sensor Engine switch on (IG) 2.9 V*
A2A- (E6-27) - E1 (E4-7) W - BR A/F sensor Engine switch on (IG) 2.9 V*
HT1B (A6-2) - E03 (E3-6) L-R - W-B Heated oxygen sensor heater Idling Below 3.0 V
HT2B (A6-1) - E1 (E4-7) L-W - BR Heated oxygen sensor heater Idling Below 3.0 V
HT1B (A6-2) - E03 (E3-6) L-R - W-B Heated oxygen sensor heater Engine switch on (IG) 9 to 14 V
HT2B (A6-1) - E1 (E4-7) L-W - BR Heated oxygen sensor heater Engine switch on (IG) 9 to 14 V
OX1B (A6-28) - O1B- (A6-29)
OX2B (A6-17) - O2B- (A6-18)
R - G
B - W
Heated oxygen sensor Maintain engine speed at 2, 500 rpm for 2 minutes after warming up sensor Pulse generation (see waveform 2)
#10 (E3-15) - E1 (E4-7)
#20 (E5-17) - E1 (E4-7)
#30 (E3-14) - E1 (E4-7)
#40 (E5-16) - E1 (E4-7)
#50 (E3-13) - E1 (E4-7)
#60 (E5-15) - E1 (E4-7)
R - BR
GR - BR
L - BR
P - BR
B - BR
Y - BR
Injector Engine switch on (IG) 0 to 5 V
#10 (E3-15) - E1 (E4-7)
#20 (E5-17) - E1 (E4-7)
#30 (E5-14) - E1 (E4-7)
#40 (E5-16) - E1 (E4-7)
#50 (E3-13) - E1 (E4-7)
#60 (E5-15) - E1 (E4-7)
R - BR
GR - BR
L - BR
P - BR
B - BR
Y - BR
Injector Idling Pulse generation (see waveform 3)
KNK1 (E4-28) - EKNK (E4-30) B - W Knock sensor Maintain engine speed at 4, 000 rpm after warming up Pulse generation (see waveform 4)
KNK2 (E4-29) - EKN2 (E4-31) R - G Knock sensor Maintain engine speed at 4, 000 rpm after warming up Pulse generation (see waveform 4)
VV1+ (E3-21) - VV1- (E3-20) Y - P Variable valve timing (VVT) sensor (Intake side (bank 1)) Idling Pulse generation (see waveform 5)
VV2+ (E3-19) - VV2- (E3-18) G - W Variable valve timing (VVT) sensor (Intake side (bank 2)) Idling Pulse generation (see waveform 5)
NE+ (E3-32) - NE- (E3-31) R - G Crankshaft position sensor Idling Pulse generation (see waveform 5, 6)
EV1+ (E5-19) - EV1- (E5-18) W - G Variable valve timing (VVT) sensor (Exhaust side (bank 1)) Idling Pulse generation (see waveform 6)
EV2+ (E6-13) - EV2- (E6-12) W - B Variable valve timing (VVT) sensor (Exhaust side (bank 2)) Idling Pulse generation (see waveform 6)
IGT1 (E5-13) - E1 (E4-7)
IGT2 (E3-17) - E1 (E4-7)
IGT3 (E5-10) - E1 (E4-7)
IGT4 (E5-12) - E1 (E4-7)
IGT5 (E3-27) - E1 (E4-7)
IGT6 (E3-26) - E1 (E4-7)
GR - BR
G - BR
B - BR
L - BR
B - BR
BR- BR
Ignition coil (ignition signal) Idling Pulse generation (see waveform 7)
IGF1 (E5-7) - E1 (E4-7)
IGF2 (E5-6) - E1 (E4-7)
G - BR
B - BR
Ignition coil (ignition confirmation signal) Engine switch on (IG) 4.5 to 5.0 V
IGF1 (E5-7) - E1 (E4-7)
IGF2 (E5-6) - E1 (E4-7)
G - BR
B - BR
Ignition coil (ignition confirmation signal) Idling Pulse generation (see waveform 7)
PRG (E3-11) - E1 (E4-7) W - BR EVAP VSV Engine switch on (IG) 9 to 14 V
PRG (E3-11) - E1 (E4-7) W - BR EVAP VSV Idling Pulse generation (see waveform 8)
SPD (A5-22) - E1 (E4-7) Y-G - BR Speed signal from combination meter Engine switch on (IG), Rotate driving wheel slowly Pulse generation (see waveform 9)
STA (A5-12) - E1 (E4-7) R - BR Starter signal Cranking 9 to 14 V
STAR (E4-4) - E1 (E4-7) L - BR Park/neutral position switch signal Engine switch on (IG), Other shift position in P or N 0 to 3.0 V
STAR (E4-4) - E1 (E4-7) L - BR Park/neutral position switch signal Cranking, Shift position in P or N 9 to 14 V
STSW (A5-19) - E1 (E4-7) Y-B - BR Engine switch signal Shift lever position P or N, engine switch START 6.0 V or more
STP (A6-4) - E1 (E4-7) R-B - BR Normally open switch Brake pedal depressed 7.5 to 14 V
STP (A6-4) - E1 (E4-7) R-B - BR Normally open switch Brake pedal released Below 1.5 V
ST1- (A5-8) - E1 (E4-7) G-W - BR Normally closed switch Engine switch on (IG), Brake pedal depressed Below 1.5 V
ST1- (A5-8) - E1 (E4-7) G-W - BR Normally closed switch Engine switch on (IG), Brake pedal released 7.5 to 14 V
M+ (E3-2) - ME01 (E3-4) B - W-B Throttle actuator Idling with warm engine Pulse generation (see waveform 10)
M- (E3-1) - ME01 (E3-4) W - W-B Throttle actuatorIdling with warm engine Pulse generation (see waveform 11)
FC (A5-14) - E1 (E4-7) R-G - BR Fuel pump control Engine switch on (IG) 9 to 14 V
FC (A5-14) - E1 (E4-7) R-G - BR Fuel pump control Idling 0 to 3 V
FPR (A5-15) - E1 (E4-7) B-Y - BR Fuel pump control Cranking 9 to 14 V
FPR (A5-15) - E1 (E4-7) B-Y - BR Fuel pump control Idling 9 to 14 V
W (A6-8) - E1 (E4-7) R-L - BR MIL Engine switch on (IG) Below 3.0 V
W (A6-8) - E1 (E4-7) R-L - BR MIL Idling 0 to 3 V
TC (A6-3) - E1 (E4-7) V - BR Terminal TC of DLC 3 Engine switch on (IG) 9 to 14 V
TACH (A6-16) - E1 (E4-7) R-W - BR Engine speed Idling Pulse generation (see waveform 12)
ACIS (E5-3) - E1 (E4-7) Y - BR Intake air control valve actuator Engine switch on (IG) 9 to 14 V
ACIS (E5-3) - E1 (E4-7) Y - BR Intake air control valve actuator Engine RPM is 2, 400 to 4, 000 rpm and throttle opening percentage is 40 % or more 0 to 3 V
VPMP (A6-12) - E1 (E4-7) W-L - BR Vent valve (built into pump module) Engine switch on (IG) 9 to 14 V
MPMP (A6-5) - E1 (E4-7) P - BR Vacuum pump (built into pump module) Vacuum pump OFF 0 to 3 V
MPMP (A6-5) - E1 (E4-7) P - BR Vacuum pump (built into pump module) Vacuum pump ON 9 to 14 V
PPMP (A6-25) - E2 (E3-28) LG - BR Pressure sensor (built into pump module) Engine switch on (IG) 3 to 3.6 V
INJF (E6-26) - E1 (E4-7) BR- BR Injector injection confirmation signal Idling Pulse generation (see waveform 13)
FPF1 (E6-32) - E1 (E4-7) W - BR High pressure side fuel pump (Spill valve) Idling Pulse generation (see waveform 14)
FPD (E6-33) - E1 (E4-7) G- BR High pressure side fuel pump (Spill valve) Idling Pulse generation (see waveform 14)
PR (E6-25) - E2 (E3-28) R- BR Fuel pressure sensor Idling 1.8 to 2.3 V
IAC1 (E6-31) - E1 (E4-7) G - BR SCV position sensor Engine switch off to on (IG) 3.0 to 4.0 V
IA1+ (E6-2) - E01 (E5-2) L - W-B DC motor for SCV Idling Pulse generation (see waveform 15)
IA1- (E6-1) - E01 (E5-2) W- W-B DC motor for SCV Idling Pulse generation (see waveform 16)
STJ1 (E3-7) - E1 (E4-7) G - BR Cold start injector Engine switch on (IG) 9 to 14 V
CANH (A5-25) - E1 (E4-7) B - BR CAN communication line Engine switch on (IG) Pulse generation (see waveform 17)
CANL (A5-24) - E1 (E4-7) W - BR CAN communication line Engine switch on (IG) Pulse generation (see waveform 18)
*1 : 2WD
*2 : 4WD
HINT:
*: The ECM terminal voltage is constant regardless of the output voltage from the sensor.
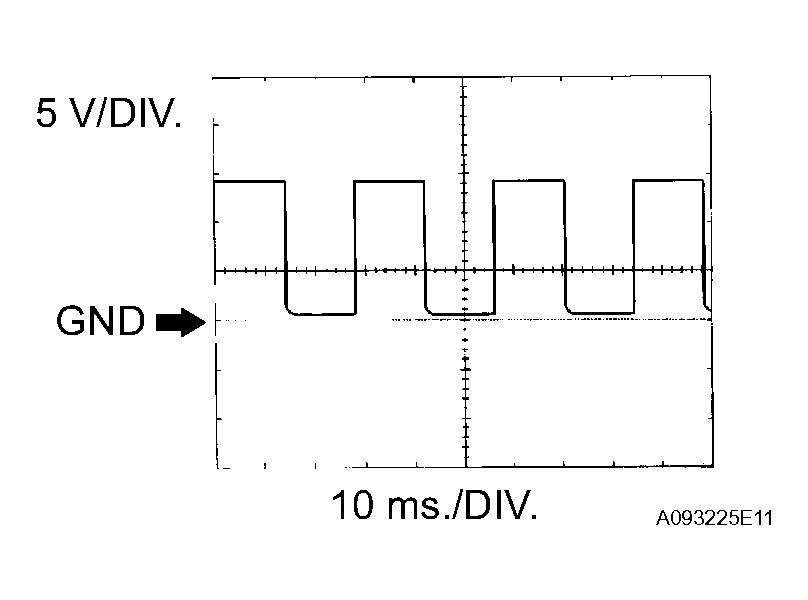
  1. WAVEFORM 1 

    Camshaft timing oil control valve (OCV): 

    WAVEFORM REFERENCE CHART

    ECM Terminal Name Between OC1+ and OC1- or OC2+ and OC2- Between OE1+ and OE1- or OE2+ and OE2-
    Tester Range 5 V/DIV, 1 ms./DIV
    Condition Idling

    HINT:

    The wavelength becomes shorter as the engine rpm increases.

    Fig 2: Identifying Waveform 1
    G04043456Courtesy of © TOYOTA, LICENSE AGREEMENT TMS1002
  2. WAVEFORM 2 

    Heated oxygen sensor: 

    WAVEFORM REFERENCE CHART

    ECM Terminal Name Between OX1B and O1B- or OX2B and O2B-
    Tester Range 0.2 V/DIV, 200 ms./DIV
    Condition Engine speed maintained at 2, 500 rpm for 2 minutes after warming up engine
    Fig 3: Identifying Waveform 2
    G04043457Courtesy of © TOYOTA, LICENSE AGREEMENT TMS1002

    HINT:

    In DATA LIST, item O2S B1 S2 shows the ECM input values from the heated oxygen sensor.

  3. WAVEFORM 3 

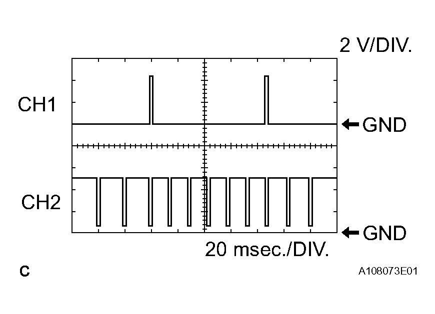
    Injector No. 1 (to No. 6) injection signal: 

    WAVEFORM REFERENCE CHART

    ECM Terminal Name Between #10 (to #60) and E1
    Tester Range 2 V/DIV, 20 ms./DIV
    Condition Idling
    Fig 4: Identifying Waveform 3
    G04043458Courtesy of © TOYOTA, LICENSE AGREEMENT TMS1002

    HINT:

    The wavelength becomes shorter as the engine rpm increases.

  4. WAVEFORM 4 

    Knock sensor: 

    WAVEFORM REFERENCE CHART

    ECM Terminal Name Between KNK1 and EKNK1
    Between KNK2 and EKNK2
    Tester Range 0.01 to 10 V/DIV, 0.01 to 10 ms./DIV
    Condition Engine speed maintained at 4, 000 rpm after warming up engine
    Fig 5: Identifying Waveform 4
    G04043459Courtesy of © TOYOTA, LICENSE AGREEMENT TMS1002

    HINT:

    • The wavelength becomes shorter as the engine rpm increases.
    • The waveforms and amplitudes displayed differ slightly depending on the vehicle.
  5. WAVEFORM 5 

    Crankshaft position sensor and VVT sensor for intake camshaft: 

    WAVEFORM REFERENCE CHART

    ECM Terminal Name Between NE+ and NE-
    Between VV1+ and VV1- or VV2+ and VV2-
    Tester Range 5 V/DIV, 20 ms./DIV
    Condition Idling
    Fig 6: Identifying Waveform 5
    G04043460Courtesy of © TOYOTA, LICENSE AGREEMENT TMS1002

    HINT:

    The wavelength becomes shorter as the engine rpm increases.

  6. WAVEFORM 6 

    Crankshaft position sensor and VVT sensor for exhaust camshaft: 

    WAVEFORM REFERENCE CHART

    ECM Terminal Name Between NE+ and NE-
    Between EV1+ and EV1- or EV2+ and EV2-
    Tester Range 5 V/DIV, 20 ms./DIV
    Condition Idling
    Fig 7: Identifying Waveform 6
    G04043461Courtesy of © TOYOTA, LICENSE AGREEMENT TMS1002

    HINT:

    The wavelength becomes shorter as the engine rpm increases.

  7. WAVEFORM 7 

    Igniter IGT signal (from ECM to igniter) and Igniter IGF signal (from igniter to ECM): 

    WAVEFORM REFERENCE CHART

    ECM Terminal Name Between IGT (1 to 6) and E1 Between
    IGF1 and E1 or IGF2 and E1
    Tester Range 2 V/DIV, 20 ms./DIV
    Condition Idling
    Fig 8: Identifying Waveform 7
    G04043462Courtesy of © TOYOTA, LICENSE AGREEMENT TMS1002

    HINT:

    The wavelength becomes shorter as the engine rpm increases.

  8. WAVEFORM 8 

    EVAP VSV: 

    WAVEFORM REFERENCE CHART

    ECM Terminal Name Between PRG and E1
    Tester Range 5 V/DIV, 50 ms./DIV
    Condition Idling
    Fig 9: Identifying Waveform 8
    G04043463Courtesy of © TOYOTA, LICENSE AGREEMENT TMS1002

    HINT:

    If the waveform is not similar to the illustration, check the waveform again after idling for 10 minutes or more.

  9. WAVEFORM 9 

    Vehicle speed signal: 

    WAVEFORM REFERENCE CHART

    ECM Terminal Name Between SPD and E1
    Tester Range 5 V/DIV, 20 ms./DIV
    Condition Driving at 12 mph (20 km/h)
    Fig 10: Identifying Waveform 9
    G04043464Courtesy of © TOYOTA, LICENSE AGREEMENT TMS1002

    HINT:

    The wavelength becomes shorter as the vehicle speed increases.

  10. WAVEFORM 10 

    Throttle actuator positive terminal: 

    WAVEFORM REFERENCE CHART

    ECM Terminal Name Between M+ and ME01
    Tester Range 5 V/DIV, 1 ms./DIV
    Condition Idling with warm engine
    Fig 11: Identifying Waveform 10
    G04043465Courtesy of © TOYOTA, LICENSE AGREEMENT TMS1002

    HINT:

  11. WAVEFORM 11 

    Throttle actuator negative terminal: 

    WAVEFORM REFERENCE CHART

    ECM Terminal Name Between M- and ME01
    Tester Range 5 V/DIV, 1 ms./DIV
    Condition Idling with warm engine
    Fig 12: Identifying Waveform 11
    G04043466Courtesy of © TOYOTA, LICENSE AGREEMENT TMS1002

    HINT:

    The duty ratio varies depending on the throttle actuator operation.

  12. WAVEFORM 12 

    Engine speed signal: 

    WAVEFORM REFERENCE CHART

    ECM Terminal Name Between TACH and E1
    Tester Range 5 V/DIV, 10 ms./DIV
    Condition Idling
    Fig 13: Identifying Waveform 12
    G04043467Courtesy of © TOYOTA, LICENSE AGREEMENT TMS1002

    HINT:

    The wavelength becomes shorter as the engine rpm increases.

  13. WAVEFORM 13 

    Injector No. 1 (to No. 6) injection signal and Injection confirmation signal: 

    WAVEFORM REFERENCE CHART

    ECM Terminal Name CH1: Between #10 (to #60) and E1
    CH2: Between INJF and E1
    Tester Range 2 V/DIV, 20 ms./DIV
    Condition Idling with warm engine
    Fig 14: Identifying Waveform 13
    G04043468Courtesy of © TOYOTA, LICENSE AGREEMENT TMS1002

    HINT:

    The wavelength becomes shorter as the engine rpm increases.

  14. WAVEFORM 14 

    High pressure side fuel pump (Spill valve): 

    WAVEFORM REFERENCE CHART

    ECM Terminal Name CH1: Between FPD and E1
    CH2: Between FPF1 and E1
    Tester Range 2 V/DIV, 5 ms./DIV
    Condition Idling with warm engine
    Fig 15: Identifying Waveform 14
    G04043469Courtesy of © TOYOTA, LICENSE AGREEMENT TMS1002
  15. WAVEFORM 15 

    DC motor for SCV positive terminal: 

    WAVEFORM REFERENCE CHART

    ECM Terminal Name Between IA1+ and E01
    Tester Range 5 V/DIV, 1 ms./DIV
    Condition Idling with warm engine
    Fig 16: Identifying Waveform 15
    G04043470Courtesy of © TOYOTA, LICENSE AGREEMENT TMS1002
  16. WAVEFORM 16 

    DC motor for SCV negative terminal: 

    WAVEFORM REFERENCE CHART

    ECM Terminal Name Between IA1- and E01
    Tester Range 5 V/DIV, 1 ms./DIV
    Condition Idling with warm engine
    Fig 17: Identifying Waveform 16
    G04043471Courtesy of © TOYOTA, LICENSE AGREEMENT TMS1002
  17. WAVEFORM 17 

    CAN communication signal: 

    WAVEFORM REFERENCE CHART

    ECM Terminal Name Between CANH and E1
    Tester Range 1 V/DIV, 10 $$s/DIV
    Condition Stop engine and engine switch on (IG)
    Fig 18: Identifying Waveform 17
    G04043472Courtesy of © TOYOTA, LICENSE AGREEMENT TMS1002

    HINT:

    The waveform varies depending on the CAN communication signal.

  18. WAVEFORM 18 

CAN communication signal: 

WAVEFORM REFERENCE CHART

ECM Terminal Name Between CANL and E1
Tester Range 1 V/DIV, 10 $$s/DIV
Condition Stop engine and engine switch on (IG)
Fig 19: Identifying Waveform 18
G04043473Courtesy of © TOYOTA, LICENSE AGREEMENT TMS1002

HINT:

The waveform varies depending on the CAN communication signal.