LEMON Manuals: Even more car manuals for everyone: 1960-2025
Home >> Lexus >> 2006 >> IS 350 >> Repair and Diagnosis (Single Page) >> Suspension >> Wheels & Tire System >> Tire & Wheel >> Tire Pressure Warning System >> DTC C2121/21: No Signal from Transmitter ID1 in Main Mode; DTC C2111/11: Transmitter ID1 Operation Stop; DTC C2112/12: Transmitter ID2 Operation Stop; DTC C2113/13: Transmitter ID3 Operation Stop; DTC C2114/14: Transmitter ID4 Operation Stop; DTC C2122/22: No Signal from Transmitter ID2 in Main Mode; DTC C2123/23: No Signal from Transmitter ID3 in Main Mode; DTC C2124/24: No Signal from Transmitter ID4 in Main Mode; DTC C2131/31: No Signal from Transmitter ID1 in 2nd Mode; DTC C2132/32: No Signal from Transmitter ID2 in 2nd Mode; DTC C2133/33: No Signal from Transmitter ID3 in 2nd Mode; DTC C2134/34: No Signal from Transmitter ID4 in 2nd Mode; DTC C2181/81: Transmitter ID1 not Received (Test Mode DTC); DTC C2182/82: Transmitter ID2 not Received (Test Mode DTC); DTC C2183/83: Transmitter ID3 not Received (Test Mode DTC); DTC C2184/84: Transmitter ID4 not Received (Test Mode DTC) >> Wiring Diagram
April 5, 2026: LEMON Manuals is launched! Read the announcement.

DTC C2121/21: No Signal from Transmitter ID1 in Main Mode; DTC C2111/11: Transmitter ID1 Operation Stop; DTC C2112/12: Transmitter ID2 Operation Stop; DTC C2113/13: Transmitter ID3 Operation Stop; DTC C2114/14: Transmitter ID4 Operation Stop; DTC C2122/22: No Signal from Transmitter ID2 in Main Mode; DTC C2123/23: No Signal from Transmitter ID3 in Main Mode; DTC C2124/24: No Signal from Transmitter ID4 in Main Mode; DTC C2131/31: No Signal from Transmitter ID1 in 2nd Mode; DTC C2132/32: No Signal from Transmitter ID2 in 2nd Mode; DTC C2133/33: No Signal from Transmitter ID3 in 2nd Mode; DTC C2134/34: No Signal from Transmitter ID4 in 2nd Mode; DTC C2181/81: Transmitter ID1 not Received (Test Mode DTC); DTC C2182/82: Transmitter ID2 not Received (Test Mode DTC); DTC C2183/83: Transmitter ID3 not Received (Test Mode DTC); DTC C2184/84: Transmitter ID4 not Received (Test Mode DTC): Wiring Diagram

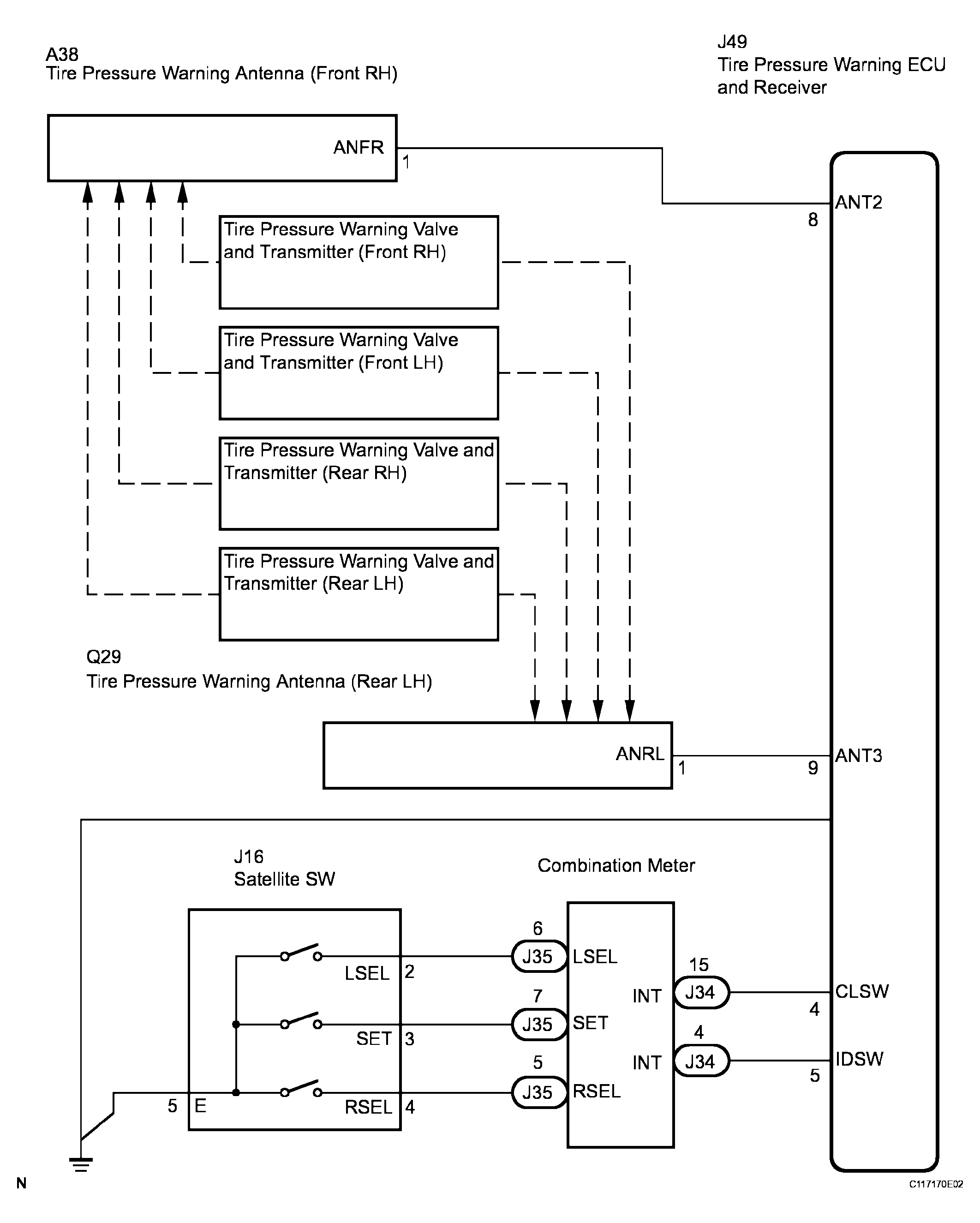
Fig 1: Tire Pressure Warning System Wiring Diagram
G04047503Courtesy of © TOYOTA, LICENSE AGREEMENT TMS1002
NOTE:
  • When replacing the tire pressure warning ECU, read the IDs stored in the ECU using the intelligent tester and note them down before removal.
  • It is necessary to perform initialization (See  INITIALIZATION   ) after registration (See  REGISTRATION   ) of the transmitter IDs into the tire pressure warning ECU after the ECU or valve and transmitter has been replaced. 

HINT:

Set the tire pressure to the specified value.