LEMON Manuals: Even more car manuals for everyone: 1960-2025
Home >> Lexus >> 2007 >> GS 430 >> Repair and Diagnosis (Single Page) >> Engine Performance >> Engine Control System (3UZ-FE) >> SFI System >> DTC P0121 Throttle l Pedal Position Sensor / Switch "A" Circuit Range / Performance Problem >> Description
April 5, 2026: LEMON Manuals is launched! Read the announcement.

DTC P0121 Throttle l Pedal Position Sensor / Switch "A" Circuit Range / Performance Problem: Description

HINT:

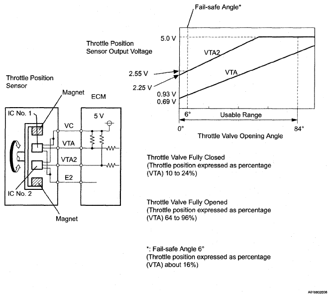
The throttle position sensor is mounted on the throttle body and it detects the opening angle of the throttle valve. This sensor is electronically controlled and uses Hall-effect elements so that accurate control and reliability can be obtained. The throttle position sensor has 2 sensor elements VTA and VTA2, each with their own signal outputs. VTA is used to detect the throttle opening angle and VTA2 is used to detect malfunctions in VTA. Voltage applied to VTA and VTA2 changes between 0 V to 5 V in proportion to the opening angle of the throttle valve. There are several checks that the ECM performs to confirm proper operation of the throttle position sensor.

The ECM judges the current opening angle of the throttle valve from these signals input from terminals VTA and VTA2, and the ECM controls the throttle actuator to set the throttle valve angle properly in response to driver inputs.

Fig 1: Identifying Throttle / Pedal Position Sensor / Switch Connector Specification
G05285500Courtesy of © TOYOTA, LICENSE AGREEMENT TMS1002
DTC TROUBLE DETECTION CONDITION CHART

DTC No. DTC Detection Condition Trouble Area
P0121 Difference between VTA and VTA2 voltage deviates from the malfunction criteria (for 2 seconds) (1 trip detection logic)
  • Throttle position sensor
  • ECM