LEMON Manuals: Even more car manuals for everyone: 1960-2025
Home >> Lexus >> 2007 >> IS 250 RWD, Automatic >> Repair and Diagnosis >> Engine Performance >> System >> Engine Control System (4GR-FSE) - SFI System Diagnostics Introduction, Precautions, Fail-Safe Chart, Diagnostic Trouble Code Chart >> SFI System >> Registration
April 5, 2026: LEMON Manuals is launched! Read the announcement.

SFI System: Registration

NOTE: The Vehicle Identification Number (VIN) must be input into the replacement ECM.

HINT:

The VIN is in the form of a 17-digit alphanumeric vehicle identification number. An intelligent tester is required to resister the VIN.

  1. INPUT INSTRUCTIONS 
    1. The general VIN input instructions using an intelligent tester are explained below:
    2. Intelligent tester

      The arrow buttons (UP, DOWN, RIGHT and LEFT) and numerical buttons (0 to 9) are used, in order to input the VIN.

    3. Cursor Operation

      To move the cursor around the tester screen, press the RIGHT and LEFT buttons.

    4. Alphabetical Character Input
      1. Press the UP and DOWN buttons to select the desired alphabetical character.
      2. After selection, the cursor should move.
    5. Numeric Character Input
      1. Press the numerical button corresponding to the number that you want to input.
      2. After input, the cursor should move.

        HINT:

        Numerical characters can be selected by using the UP and DOWN buttons.

    6. Correction
      1. When correcting the input characters), put the cursor onto the character using the RIGHT or LEFT button.
      2. Select or input the correct character using the UP/DOWN buttons, or the numerical buttons.
    7. Finishing Input Operation
      1. Make sure that the input VIN matches the vehicle VIN after input.
      2. Press the ENTER button on the tester.
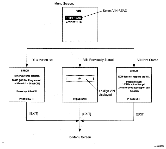
  2. READ VIN (Vehicle Identification Number) 
    1. The flowchart of the VIN reading process is shown. This process allows the VIN stored in the ECM to be read, in order to confirm that the two VINs, provided with the vehicle and stored in the vehicle's ECM, are the same.
    2. Read VIN using an intelligent tester.
    3. Check the vehicle's VIN.
    4. Connect the intelligent tester to the DLC3.
    5. Turn the engine switch on (IG).
    6. Turn the tester on.
    7. Enter the following menus: DIAGNOSIS / ENHANCED OBD II/VIN.
      Fig 1: VIN Reading Procedure Chart
      G05316296Courtesy of © TOYOTA, LICENSE AGREEMENT TMS1002
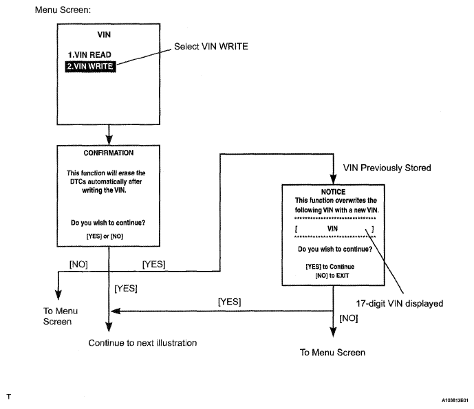
  3. WRITE VIN 
    1. The flowchart of the VIN writing process is shown. This process allows the VIN to be input into the ECM. If the ECM is changed, or the VINs do not match, the VIN can be registered, or overwritten in the ECM by following this procedure.
    2. Write VIN using the intelligent tester.
    3. Check the vehicle's VIN.
    4. Connect the intelligent tester to the DLC3.
    5. Turn the engine switch on (IG).
    6. Turn the tester on.
    7. Enter the following menus: DIAGNOSIS / ENHANCED OBD II/VIN.
      Fig 2: VIN Writing Procedure Chart (1 Of 3)
      G05316297Courtesy of © TOYOTA, LICENSE AGREEMENT TMS1002
Fig 3: VIN Writing Procedure Chart (2 Of 3)
G05316298Courtesy of © TOYOTA, LICENSE AGREEMENT TMS1002
Fig 4: VIN Writing Procedure Chart (3 Of 3)
G05316299Courtesy of © TOYOTA, LICENSE AGREEMENT TMS1002