LEMON Manuals: Even more car manuals for everyone: 1960-2025
Home >> Lexus >> 2007 >> LS 460L >> Repair and Diagnosis >> External Pages >> Different car >> Section 71 (Front Final Drive) >> Front Final Drive Assembly >> Adjustment Of Drive Gear And Drive Pinion Assembly >> Installation Of Differential Case Assembly
April 5, 2026: LEMON Manuals is launched! Read the announcement.

Installation Of Differential Case Assembly

WARNING: This page is about a different car, the 2004 Nissan Titan. However, it is still accessible from the selected car via links, so may be relevant.
  1. Install side bearing adjust nut into gear carrier.
  2. Install differential case assembly with side bearing outer races into gear carrier.
    Fig 1: Installing Differential Case Assembly
    G00728249Courtesy of NISSAN MOTOR CO., U.S.A.
  3. Align mark on bearing cap with that on gear carrier and install bearing cap on gear carrier.
    • Do not tighten at this point. This allows further tightening of side bearing adjusters.
    Fig 2: Align Mark On Bearing Cap & Install Bearing Cap On Gear Carrier
    G00728250Courtesy of NISSAN MOTOR CO., U.S.A.
  4. Tighten each side bearing adjust nuts alternately turning drive gear.
    Fig 3: Tightening Bearing Adjust Nuts
    G00728251Courtesy of NISSAN MOTOR CO., U.S.A.
  5. Measure backlash of drive gear and drive pinion using a dial gauge.

    Drive gear to drive pinion back lash : 

    0.13 - 0.18mm (0.0051 - 0.0071 in) 

    Fig 4: Measuring Backlash Of Drive Gear And Drive Pinion
    G00728252Courtesy of NISSAN MOTOR CO., U.S.A.
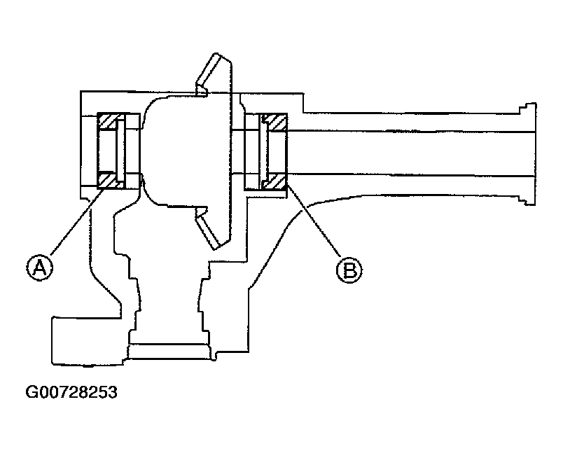
  6. Use each adjust nut to adjust backlash.
  7. In case of lots of backlash, loosen adjust nut A and tighten adjust nut B. In case of less backlash, loosen adjust nut B and tighten adjust nut A.
    Fig 5: Adjusting Nuts To Adjust Backlash
    G00728253Courtesy of NISSAN MOTOR CO., U.S.A.
  8. After adjusting backlash, fix adjuster with screws and tighten cap bolt to the specified torque. Refer to COMPONENTS .
    Fig 6: Fixing Adjuster With Screws And Tightening Cap Bolts
    G00728254Courtesy of NISSAN MOTOR CO., U.S.A.
  9. Check total preload with tool.

    Tool number : ST3127S000 (J25765-A) 

    Total preload (With oil seal) 

    Gear ratio 2.937 Type : 

    3.09 - 4.87 N.m (0.32 - 0.49 Kg-m, 28 - 43 in-lb) 

    Gear ratio 3.357 Type : 

    2.98 - 4.76 N.m (0.31 - 0.48 Kg-m, 27 - 42 in-lb) 

    Fig 7: Checking Total Preload
    G00728255Courtesy of NISSAN MOTOR CO., U.S.A.
  10. Check tooth contact. Refer to TOOTH CONTACT .
  11. Install rear cover. Apply liquid sealant to rear cover side and install gear carrier.
  12. Apply multi-purpose grease to cavity at sealing lips of oil seal. Install side oil seal.
    Fig 8: Applying Liquid Sealant
    G00728256Courtesy of NISSAN MOTOR CO., U.S.A.
  13. Install O-ring and extension tube.
  14. Install sideshaft and side flange.
Fig 9: Installing O-Ring And Extension Tube
G00728257Courtesy of NISSAN MOTOR CO., U.S.A.