LEMON Manuals: Even more car manuals for everyone: 1960-2025
Home >> Lexus >> 2008 >> IS 350 >> Repair and Diagnosis >> Body & Frame >> Windows >> Windshield/WINDOWGLASS >> Windshield Glass >> Installation
April 5, 2026: LEMON Manuals is launched! Read the announcement.

Windshield Glass: Installation

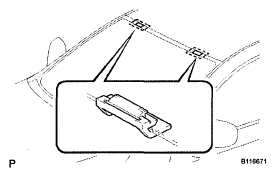
  1. INSTALL NO. 1 WINDSHIELD GLASS STOPPER 
    1. Install 2 new stoppers to the vehicle body, as shown in the illustration.
  2. INSTALL NO. 2 WINDSHIELD GLASS STOPPER 
    1. Coat the installation part of the stopper with Primer G.
      Fig 1: Identifying No. 1 Windshield Glass Stoppers
      G05832877Courtesy of © TOYOTA, LICENSE AGREEMENT TMS1002
      NOTE:
      • Allow the primer coating to dry for 3 minutes or more.
      • Do not keep any of the opened Primer G for later use.
      • Do not apply too much primer.
    2. Install 2 new windshield glass stoppers onto the glass, as shown in the illustration.
      Fig 2: Identifying No. 2 Windshield Glass Stoppers
      G05832878Courtesy of © TOYOTA, LICENSE AGREEMENT TMS1002

      Standard dimension 

      WINDSHIELD DIMENSION CHART

      Area Dimension
      A 40.0 mm (1.575 in.)
      B 30.0 mm (1.181 in.)
      C 25.0 mm (0.984 in.)
      D 14.2 mm (0.559 in.)
  3. INSTALL WINDSHIELD OUTSIDE MOLDING 
    1. Using a brush or sponge, coat the edge of the glass and the contact surface with Primer G.
      NOTE:
      • Allow the primer coating to dry for 3 minutes or more.
      • Do not coat the adhesive with Primer G.
      • Do not keep any of the opened Primer G for later use.
    2. Install the windshield outside molding, as shown in the illustration.

      Standard dimension 

      WINDSHIELD DIMENSION CHART

      Area Dimension
      a 2.0 mm (0.079 in.)
  4. INSTALL WINDSHIELD GLASS ADHESIVE DAM 
    1. Coat the installation part of the dam with Primer G.
      NOTE:
      • Allow the primer coating to dry for 3 minutes or more.
      • Do not apply too much primer.
    2. Install a new dam, applying double-sided tape all the way around the glass except where the dam is installed, as shown in the illustration.
      Fig 3: Identifying Windshield Outside Molding Dimension
      G05832879Courtesy of © TOYOTA, LICENSE AGREEMENT TMS1002
      Fig 4: Identifying Windshield Glass Adhesive Dam Dimension
      G05832880Courtesy of © TOYOTA, LICENSE AGREEMENT TMS1002

      Standard dimension 

      WINDSHIELD DIMENSION CHART

      Area Dimension
      a 9.5 mm (0.374 in.)
  5. INSTALL WINDSHIELD GLASS 
    1. Clean and shape the contact surface of the vehicle body.
      1. Using a knife, cut away any rough adhesive on the contact surface of the vehicle body to ensure the appropriate surface shape.
        NOTE: Be careful not to damage the vehicle body.

        HINT:

        Leave as much adhesive on the vehicle body as possible.

        Fig 5: Identifying Adhesive On Contact Surface Of Vehicle Body
        G04981119Courtesy of © TOYOTA, LICENSE AGREEMENT TMS1002
      2. Clean the contact surface of the vehicle body with a piece of shop rag saturated with cleaner.

        HINT:

        Even if all the adhesive has been removed, clean the vehicle body.

    2. Position the glass.
      1. Using a suction cup, place the glass in the correct position.
      2. Check that the whole contact surface of the glass rim is perfectly even.
      3. Place reference marks between the glass and vehicle body.
        NOTE: Check that the stoppers are attached to the vehicle body correctly.
        Fig 6: Identifying Marks Between Glass And Vehicle Body
        G05832875Courtesy of © TOYOTA, LICENSE AGREEMENT TMS1002

        HINT:

        When reusing the glass, check and correct the reference mark positions.

      4. Remove the glass.
    3. Using a brush, coat the exposed part of the vehicle body on the vehicle side with Primer M.
      NOTE:
      • Allow the primer coating to dry for 3 minutes or more.
      • Do not coat the adhesive with Primer M.
      • Do not keep any of the opened Primer M for later use.
        Fig 7: Coating Exposed Part Of Vehicle Body On Vehicle Side With Primer M
        G05832883Courtesy of © TOYOTA, LICENSE AGREEMENT TMS1002
    4. Using a brush or sponge, coat the edge of the glass and the contact surface with Primer G.
      Fig 8: Identifying Windshield Glass Dimensions
      G05832884Courtesy of © TOYOTA, LICENSE AGREEMENT TMS1002

      Standard dimension 

      WINDSHIELD DIMENSION CHART

      Area Dimension
      a 10.2 mm (0.402 In.)
      b 4.0 mm (0.158 in.)
      c 7.0 mm (0.276 In.)
      d 10.2 mm (0.402 in.)
      e 3.0 mm (0.118 in.)
      f 4.0 mm (0.158 In.)
      NOTE:
      • Allow the primer coating to dry for 3 minutes or more.
      • Do not keep any of the opened Primer G for later use.

      HINT:

      If an area other than that specified is coated by accident, wipe off the primer with a clean piece of cloth before it dries.

    5. Apply adhesive (Adhesive: Part No. 08850-00801 or equivalent).
      1. Cut off the tip of the cartridge nozzle, as shown in the illustration.

        HINT:

        After cutting off the tip, use all adhesive within the time described in the table below.

        Tack-free time 

        TEMPERATURE CHART

        Temperature Tack-free Time
        35°C (95°F) 15 minutes
        20°C (68°F) 1 hour 40 minutes
        5°C (41°F) 8 hours
      2. Load the sealer gun with the cartridge.
      3. Coat the glass with adhesive, as shown in the illustration.
        Fig 9: Identifying Windshield Glass Dimensions
        G05832885Courtesy of © TOYOTA, LICENSE AGREEMENT TMS1002

        Standard dimension 

        WINDSHIELD DIMENSION CHART

        Area Dimension
        a 12.0 mm (0.472 in.)
        b 8.0 mm (0.315 in.)
        c 10.2 mm (0.402 in.)
        d 10.2 mm (0.402 in.)
        e 3.0 mm (0.118 in.)
    6. Install the glass.
      1. Using a suction cup, position the glass so that the reference marks are aligned, and press it in gently along the rim.
        NOTE:
        • Allow the primer coating to dry for 3 minutes or more.
        • Check that the stoppers are attached to the vehicle body correctly.
        • Check the clearance between the vehicle body and glass.
          Fig 10: Positioning Windshield Glass
          G05832886Courtesy of © TOYOTA, LICENSE AGREEMENT TMS1002
      2. Lightly press the front surface of the glass to ensure a close fit.
      3. Using a scraper, remove any excess or protruding adhesive.
        NOTE: Do not drive the vehicle for the time described in the table below.

        Minimum time 

        TEMPERATURE CHART

        Temperature Minimum time prior to driving vehicle
        35°C (95°F) 1 hour 30 minutes
        20°C (68°F) 5 hours
        5°C (41°F) 24 hours

        HINT:

        Apply adhesive onto the glass rim.

        Fig 11: Identifying Windshield, Adhesive And Dam
        G04981130Courtesy of © TOYOTA, LICENSE AGREEMENT TMS1002
  6. CHECK FOR LEAKS AND REPAIR 
    1. Conduct a leak test after the adhesive has completely hardened.
    2. Seal any leaks with a sealer gun.
  7. INSTALL ROOF HEADLINING ASSEMBLY (w/o Sliding Roof)  (See INSTALLATION )
  8. INSTALL ROOF HEADLINING ASSEMBLY (w/ Sliding Roof)  (See INSTALLATION )
  9. INSTALL RAIN SENSOR TAPE  (See INSTALLATION )
  10. INSTALL RAIN SENSOR  (See INSTALLATION )
  11. INSTALL VISOR HOLDER  (See INSTALLATION )
  12. INSTALL VISOR ASSEMBLY LH  (See INSTALLATION )
  13. INSTALL VISOR ASSEMBLY RH 
  14. INSTALL VISOR BRACKET COVER  (See INSTALLATION )
  15. INSTALL ASSIST GRIP SUB-ASSEMBLY  (See INSTALLATION )
  16. INSTALL INNER REAR VIEW MIRROR ASSEMBLY  (See INSTALLATION )
  17. INSTALL MAP LIGHT ASSEMBLY  (See INSTALLATION )
  18. INSTALL INNER REAR VIEW MIRROR STAY HOLDER COVER  (See INSTALLATION )
  19. INSTALL FRONT PILLAR GARNISH LH  (See INSTALLATION )
  20. INSTALL FRONT DOOR OPENING TRIM COVER LH  (See INSTALLATION )
  21. INSTALL FRONT DOOR SCUFF PLATE LH (w/o Illumination)  (See INSTALLATION )
  22. INSTALL FRONT DOOR SCUFF PLATE LH (w/ Illumination)  (See INSTALLATION )
  23. INSTALL FRONT PILLAR GARNISH RH 
  24. INSTALL FRONT DOOR OPENING TRIM COVER RH  (See INSTALLATION )
  25. INSTALL FRONT DOOR SCUFF PLATE RH (w/o Illumination) 
  26. INSTALL FRONT DOOR SCUFF PLATE RH (w/ Illumination) 
  27. INSTALL COWL TOP VENTILATOR LOUVER SUB-ASSEMBLY  (See INSTALLATION )
  28. INSTALL FRONT WIPER ARM AND BLADE ASSEMBLY LH  (See INSTALLATION )
  29. INSTALL FRONT WIPER ARM AND BLADE ASSEMBLY RH  (See INSTALLATION )
  30. INSTALL FRONT WIPER ARM HEAD CAP  (See INSTALLATION )
  31. INSTALL NO. 1 WINDSHIELD OUTSIDE MOLDING CLIP 
  32. INSTALL ROOF DRIP SIDE FINISH MOLDING LH 
  33. INSTALL ROOF DRIP SIDE FINISH MOLDING RH 
  34. INSTALL FRONT UPPER FENDER PROTECTOR LH  (See INSTALLATION )
  35. INSTALL FRONT UPPER FENDER PROTECTOR RH 
  36. INSTALL ENGINE ROOM SIDE COVER RH  (See INSTALLATION )
  37. INSTALL ENGINE ROOM SIDE COVER LH  (See INSTALLATION )
  38. INSTALL COOL AIR INTAKE DUCT SEAL  (See INSTALLATION )