LEMON Manuals: Even more car manuals for everyone: 1960-2025
Home >> Lexus >> 2008 >> LS 460 >> Repair and Diagnosis (Single Page) >> Accessories & Equipment >> Communication Devices >> Can Communication - System Mode Diagnostics, Bus Line Diagnostics >> Integration Control and Panel Assembly Communication Stop Mode >> Wiring Diagram
April 5, 2026: LEMON Manuals is launched! Read the announcement.

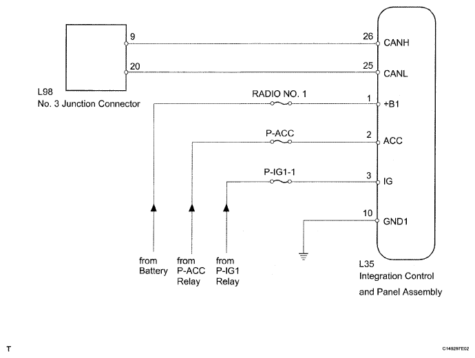
Integration Control and Panel Assembly Communication Stop Mode: Wiring Diagram

HINT:

For vehicles without multi-display only.

Fig 1: Integration Control And Panel Assembly Communication Stop Mode - Wiring Diagram
G04953650Courtesy of © TOYOTA, LICENSE AGREEMENT TMS1002