LEMON Manuals: Even more car manuals for everyone: 1960-2025
Home >> Lexus >> 2008 >> LS 600hL >> Repair and Diagnosis (Single Page) >> Hybrid/Electric Powertrain >> Testing and Diagnosis >> L110F Hybrid Vehicle Control (DTC P0990-897-To-P0A1D-187) >> DTC P0A1A-200 Generator Control Module; DTC P0A1A-792 Generator Control Module; DTC P0A1A-793 Generator Control Module >> Wiring Diagram
April 5, 2026: LEMON Manuals is launched! Read the announcement.

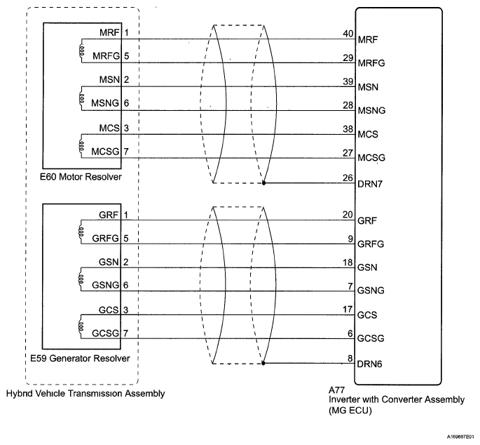
DTC P0A1A-200 Generator Control Module; DTC P0A1A-792 Generator Control Module; DTC P0A1A-793 Generator Control Module: Wiring Diagram

Fig 1: Generator Control Module Wiring Diagram
G05772187Courtesy of © TOYOTA, LICENSE AGREEMENT TMS1002