LEMON Manuals: Even more car manuals for everyone: 1960-2025
Home >> Lexus >> 2009 >> SC 430 >> Repair and Diagnosis >> Engine Performance >> System >> Engine Control System (Diagnostic Codes (P0010 - P0340)) >> SFI System >> DTC P0121: Throttle / Pedal Position Sensor / Switch "A" Circuit Range / Performance Problem >> Description
April 5, 2026: LEMON Manuals is launched! Read the announcement.

DTC P0121: Throttle / Pedal Position Sensor / Switch "A" Circuit Range / Performance Problem: Description

HINT: 

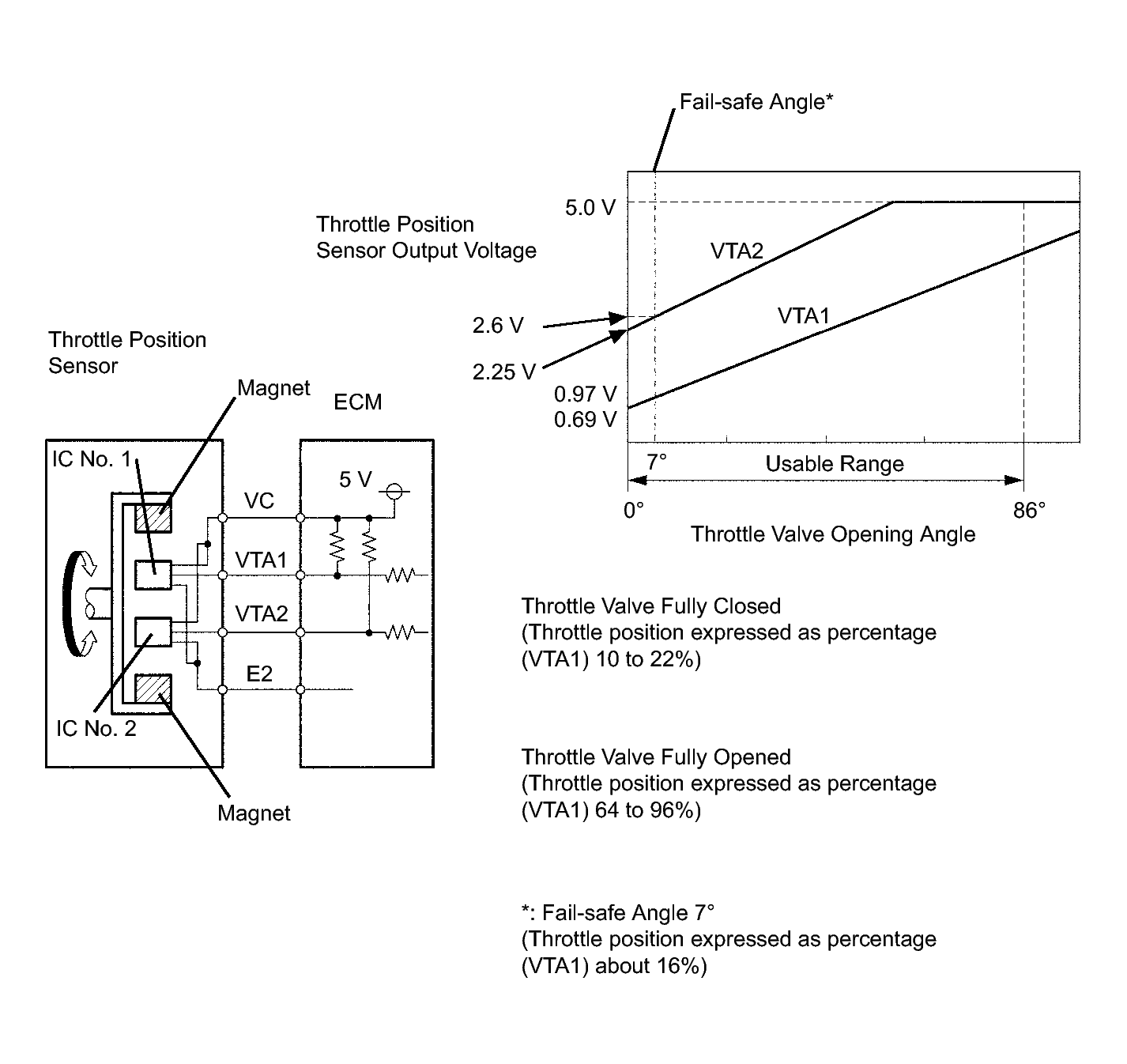
The throttle position sensor is mounted on the throttle body and it detects the opening angle of the throttle valve. This sensor is electronically controlled and uses Hall-effect elements so that accurate control and reliability can be obtained. The throttle position sensor has 2 sensor elements: VTA1 and VTA2. Each outputs its own signal. VTA1 is used to detect the throttle opening angle and VTA2 is used to detect malfunctions in VTA1. Voltage applied to VTA1 and VTA2 changes between 0 V to 5 V in proportion to the opening angle of the throttle valve. There are several checks that the ECM performs to confirm proper operation of the throttle position sensor.

The ECM judges the current opening angle of the throttle valve from these signals input from terminals VTA and VTA2, and the ECM controls the throttle actuator to set the throttle valve angle properly in response to driver inputs.

Fig 1: Throttle Position Sensor Output Voltage & Throttle Valve Opening Angle Graph
GTY144603Courtesy of © TOYOTA, LICENSE AGREEMENT TMS1002
DTC No. DTC Detection Condition Trouble Area
P0121 Difference between VTA1 and VTA2 voltage deviates from the malfunction criteria (for 2 seconds) (1 trip detection logic)
  • Throttle position sensor
  • ECM