LEMON Manuals: Even more car manuals for everyone: 1960-2025
Home >> Lexus >> 2010 >> LX 570 >> Repair and Diagnosis (Single Page) >> Accessories & Equipment >> Communication Devices >> Can Communication System (Diagnostic Codes & Circuit Tests) >> Can Communication System >> DTC U0327: Software Incompatibility with Vehicle Security Control Module >> Wiring Diagram
April 5, 2026: LEMON Manuals is launched! Read the announcement.

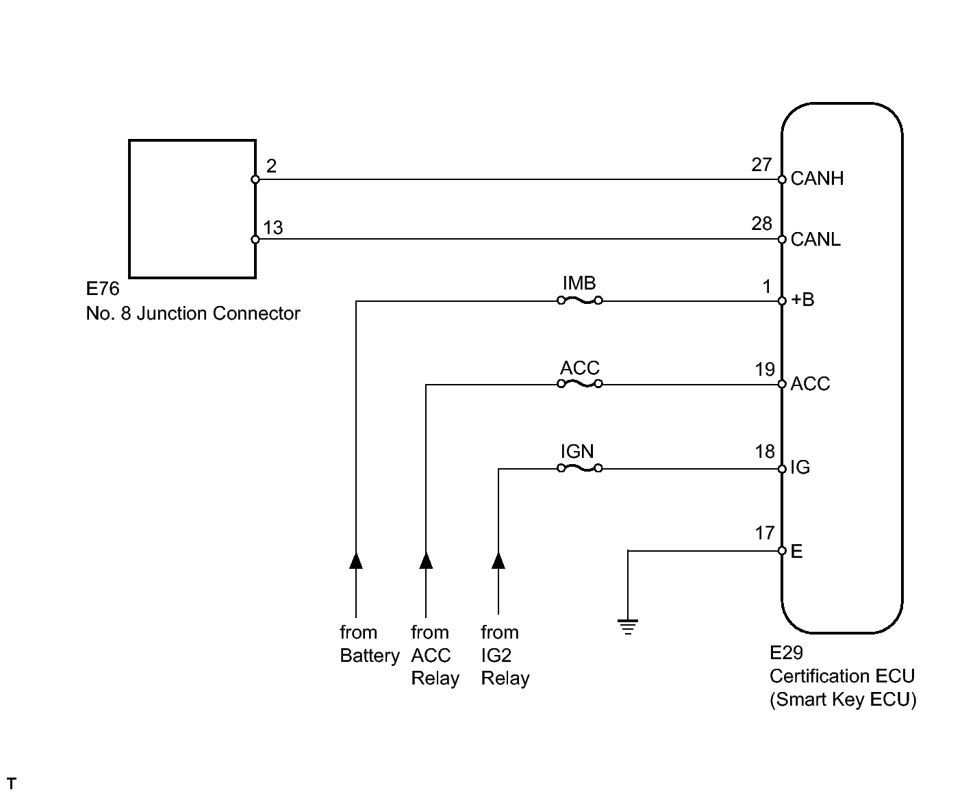
DTC U0327: Software Incompatibility with Vehicle Security Control Module: Wiring Diagram

Fig 1: Certification ECU (Smart Key ECU Assembly) - Wiring Diagram
GTY109256Courtesy of © TOYOTA, LICENSE AGREEMENT TMS1002