LEMON Manuals: Even more car manuals for everyone: 1960-2025
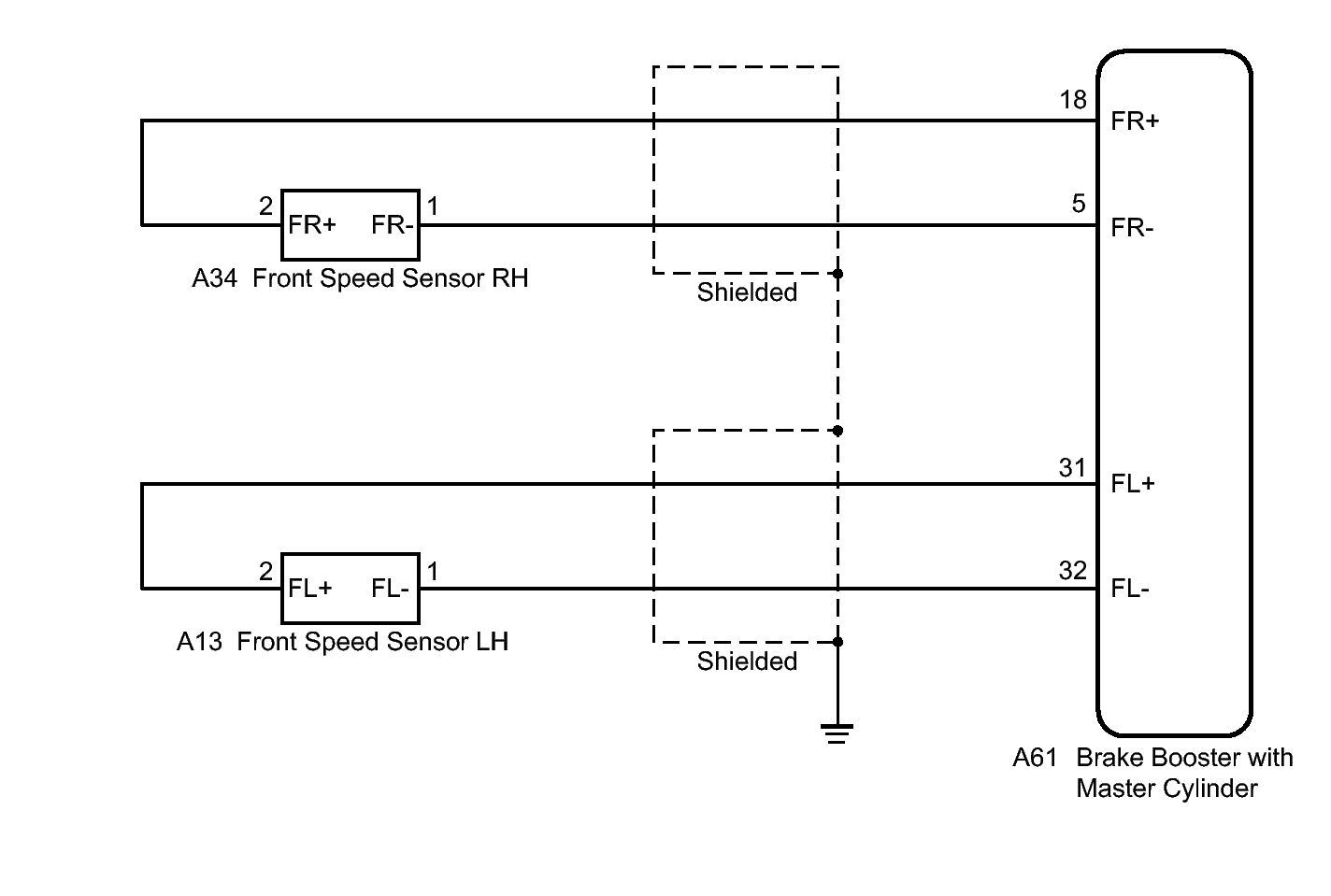
Home >> Lexus >> 2011 >> CT 200h >> Repair and Diagnosis (Single Page) >> Brakes >> Traction Control >> Electronically Controlled Brake System (Diagnostic Codes & Symptom Tests) >> Electronically Controlled Brake System >> DTC C1271/71: Low Output Signal of Front Speed Sensor RH (Test Mode DTC); DTC C1272/72: Low Output Signal of Front Speed Sensor LH (Test Mode DTC); DTC C1464/31: Front Speed Sensor RH Circuit; DTC C1465/32: Front Speed Sensor LH Circuit >> Wiring Diagram
April 5, 2026: LEMON Manuals is launched! Read the announcement.

DTC C1271/71: Low Output Signal of Front Speed Sensor RH (Test Mode DTC); DTC C1272/72: Low Output Signal of Front Speed Sensor LH (Test Mode DTC); DTC C1464/31: Front Speed Sensor RH Circuit; DTC C1465/32: Front Speed Sensor LH Circuit: Wiring Diagram

Fig 1: Identifying Low Output Signal of Front Speed Sensor RH And LH Wiring Diagram
GTY352327Courtesy of © TOYOTA, LICENSE AGREEMENT TMS1002