LEMON Manuals: Even more car manuals for everyone: 1960-2025
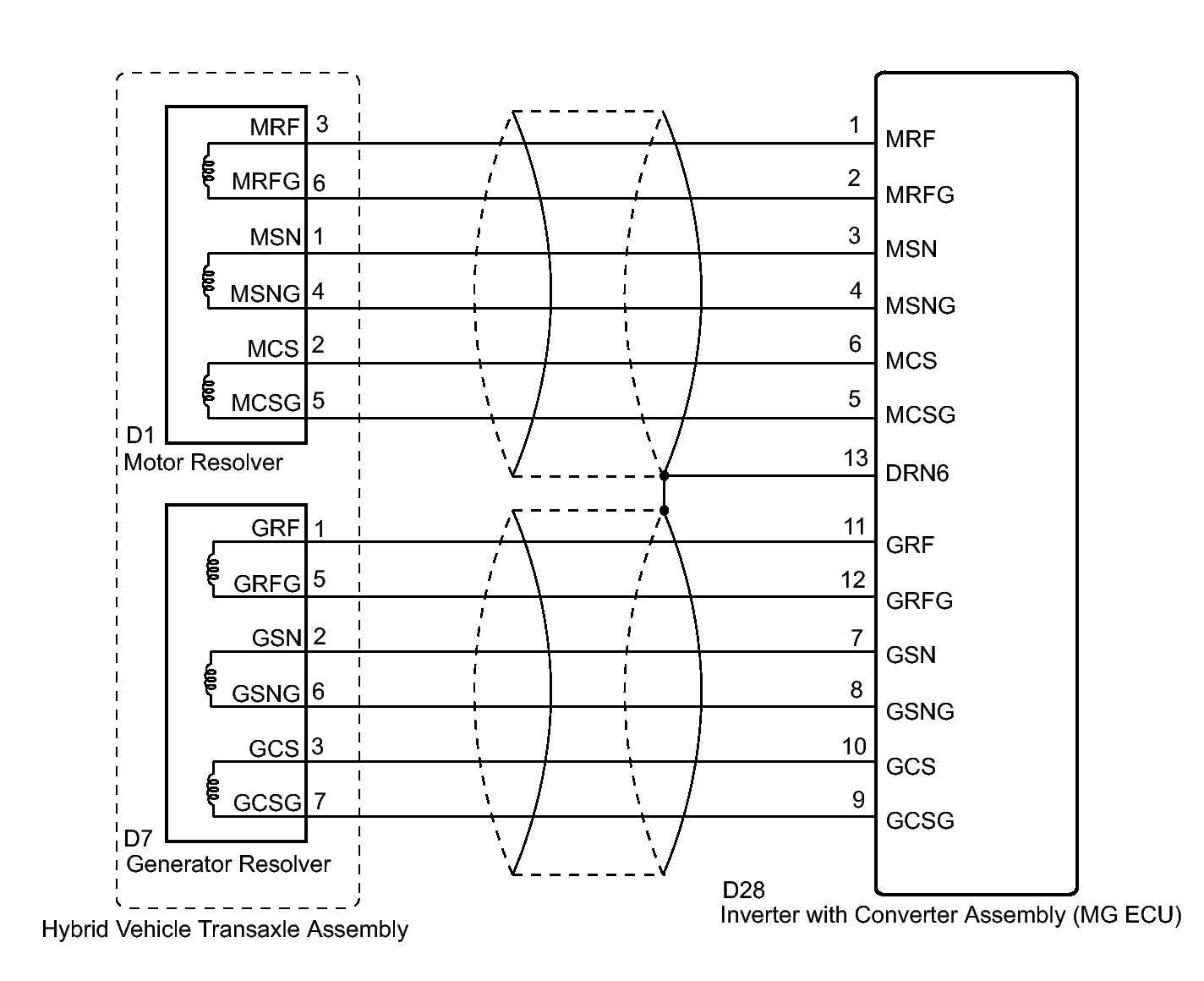
Home >> Lexus >> 2011 >> CT 200h >> Repair and Diagnosis (Single Page) >> Hybrid/Electric Powertrain >> Testing and Diagnosis >> Hybrid Control System (Diagnostic Codes (P0069-273 - P0A78-113)) >> Hybrid Control System >> DTC P0A1A-200: Generator Control Module; DTC P0A1A-792: Generator Control Module; DTC P0A1A-793: Generator Control Module >> Wiring Diagram
April 5, 2026: LEMON Manuals is launched! Read the announcement.

DTC P0A1A-200: Generator Control Module; DTC P0A1A-792: Generator Control Module; DTC P0A1A-793: Generator Control Module: Wiring Diagram

Fig 1: Identifying Hybrid Vehicle Transaxle Assembly Wiring Diagram
GTY356093Courtesy of © TOYOTA, LICENSE AGREEMENT TMS1002