LEMON Manuals: Even more car manuals for everyone: 1960-2025
Home >> Lexus >> 2011 >> CT 200h >> Repair and Diagnosis (Single Page) >> Restraints >> Air Bag, SRS >> Occupant Classification System (Diagnostic Codes & Symptom Tests) >> Occupant Classification System >> DTC B1780: Front Occupant Classification Sensor LH Circuit Malfunction >> Procedure
April 5, 2026: LEMON Manuals is launched! Read the announcement.

DTC B1780: Front Occupant Classification Sensor LH Circuit Malfunction: Procedure

  1. CHECK CONNECTORS 
    1. Turn the power switch off.
    2. Disconnect the cable from the negative (-) auxiliary battery terminal.
    3. Check that the connectors are properly connected to the occupant detection ECU and front occupant classification sensor LH.

      OK

      The connectors are properly connected.

      HINT: 

      If the connectors are not connected securely, reconnect the connectors and proceed to the next inspection.

    4. Disconnect the connectors from the occupant detection ECU and front occupant classification sensor LH.
    5. Check that the terminals of the connectors are not damaged.

      OK

      The terminals are not deformed or damaged.

    NG → REPLACE FRONT SEAT WIRE RH 

    OK: Go to next step 

  2. CHECK FRONT SEAT WIRE RH (SHORT TO B+) 
    1. Connect the cable to the negative (-) auxiliary battery terminal.
      Fig 1: Identifying W3 Connector Terminals
      GTY357872Courtesy of © TOYOTA, LICENSE AGREEMENT TMS1002
    2. Turn the power switch on (IG).
    3. Measure the voltage according to the value(s) in the table below.

      Standard Voltage

      Tester Connection Switch Condition Specified Condition
      W3-1 (SGD1) - Body ground Power switch on (IG) Below 1 V
      W3-7 (SIG1) - Body ground Power switch on (IG) Below 1 V
      W3-11 (SVC1) - Body ground Power switch on (IG) Below 1 V
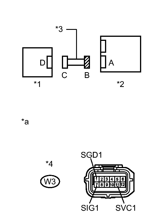
      TEXT IN ILLUSTRATION

      *1 Front Occupant Classification Sensor LH
      *2 Occupant Detection ECU
      *3 Front Seat Wire RH
      *4 Connector B
      *a Front view of wire harness connector
      (to Occupant Detection ECU)

    NG → REPLACE FRONT SEAT WIRE RH 

    OK: Go to next step 

  3. CHECK FRONT SEAT WIRE RH (OPEN) 
    1. Turn the power switch off.
      Fig 2: Identifying W3 And W6 Connector Terminals
      GTY352995Courtesy of © TOYOTA, LICENSE AGREEMENT TMS1002
    2. Disconnect the cable from the negative (-) auxiliary battery terminal.
    3. Using SST, connect terminals 1 (SVC1) and 3 (SGD1), and connect terminals 2 (SIG1) and 3 (SGD1) of connector C.
      NOTE:

      Do not forcibly insert SST into the terminals of the connector when connecting.

      • SST: 09843-18040 
    4. Measure the resistance according to the value(s) in the table below.

      Standard Resistance

      Tester Connection Condition Specified Condition
      W3-7 (SIG1) - W3-1 (SGD1) Always Below 1 Ω
      W3-11 (SVC1) - W3-1 (SGD1) Always Below 1 Ω
      TEXT IN ILLUSTRATION

      *1 Front Occupant Classification Sensor LH *2 Occupant Detection ECU
      *3 Front Seat Wire RH *4 Connector B
      *5 Connector C - -
      *a Front view of wire harness connector
      (to Occupant Detection ECU)
      *b Front view of wire harness connector
      (to Front Occupant Classification Sensor LH)

    NG → REPLACE FRONT SEAT WIRE RH 

    OK: Go to next step 

  4. CHECK FRONT SEAT WIRE RH (SHORT) 
    1. Disconnect SST from connector C.
      Fig 3: Identifying W3 Connector Terminals
      GTY357872Courtesy of © TOYOTA, LICENSE AGREEMENT TMS1002
    2. Measure the resistance according to the value(s) in the table below.

      Standard Resistance

      Tester Connection Condition Specified Condition
      W3-7 (SIG1) - W3-1 (SGD1) Always 1 MΩ or higher
      W3-11 (SVC1) - W3-1 (SGD1) Always 1 MΩ or higher
      W3-7 (SIG1) - W3-11 (SVC1) Always 1 MΩ or higher
      TEXT IN ILLUSTRATION

      *1 Front Occupant Classification Sensor LH
      *2 Occupant Detection ECU
      *3 Front Seat Wire RH
      *4 Connector B
      *a Front view of wire harness connector
      (to Occupant Detection ECU)

    NG → REPLACE FRONT SEAT WIRE RH 

    OK: Go to next step 

  5. CHECK FRONT SEAT WIRE RH (SHORT TO GROUND) 
    1. Measure the resistance according to the value(s) in the table below.
      Fig 4: Identifying W3 Connector Terminals
      GTY357872Courtesy of © TOYOTA, LICENSE AGREEMENT TMS1002

      Standard Resistance

      Tester Connection Condition Specified Condition
      W3-1 (SGD1) - Body ground Always 1 MΩ or higher
      W3-7 (SIG1) - Body ground Always 1 MΩ or higher
      W3-11 (SVC1) - Body ground Always 1 MΩ or higher
      TEXT IN ILLUSTRATION

      *1 Front Occupant Classification Sensor LH
      *2 Occupant Detection ECU
      *3 Front Seat Wire RH
      *4 Connector B
      *a Front view of wire harness connector
      (to Occupant Detection ECU)

    NG → REPLACE FRONT SEAT WIRE RH 

    OK: Go to next step 

  6. CHECK DTC 
    1. Connect the connectors to the occupant detection ECU and front occupant classification sensor LH.
    2. Connect the cable to the negative (-) auxiliary battery terminal.
    3. Turn the power switch on (IG).
    4. Clear the DTCs stored in the occupant detection ECU. Refer to DTC CHECK / CLEAR .
    5. Clear the DTCs stored in the airbag sensor assembly. Refer to DTC CHECK / CLEAR .
    6. Turn the power switch off.
    7. Turn the power switch on (IG).
    8. Check for DTCs. Refer to DTC CHECK / CLEAR .

      OK

      DTC B1780 is not output.

      HINT: 

      Codes other than DTC B1780 may be output at this time, but they are not related to this check.

    NG → See step   7 

    OK → See step   10 

  7. REPLACE FRONT SEAT CUSHION SPRING ASSEMBLY 
    1. Turn the power switch off.
    2. Disconnect the cable from the negative (-) auxiliary battery terminal.
    3. Replace the front seat cushion spring assembly. Refer to DISASSEMBLY for Manual seat. Refer to DISASSEMBLY for Power seat).

    NEXT: Go to next step 

  8. PERFORM ZERO POINT CALIBRATION 
    1. Connect the cable to the negative (-) auxiliary battery terminal.
    2. Turn the power switch on (IG).
    3. Using the Techstream, perform Zero Point Calibration. Refer to INITIALIZATION .

    NEXT: Go to next step 

  9. PERFORM SENSITIVITY CHECK 
    1. Using the Techstream, perform Sensitivity Check. Refer to INITIALIZATION .

    NEXT → END 

  10. USE SIMULATION METHOD TO CHECK. Refer to  HOW TO PROCEED WITH TROUBLESHOOTING