LEMON Manuals: Even more car manuals for everyone: 1960-2025
Home >> Lexus >> 2011 >> GS 350 RWD >> Repair and Diagnosis >> Steering >> Steering Column >> Steering Lock System (Diagnostics - Introduction) >> Steering Lock System >> System Diagram >> System Diagram
April 5, 2026: LEMON Manuals is launched! Read the announcement.

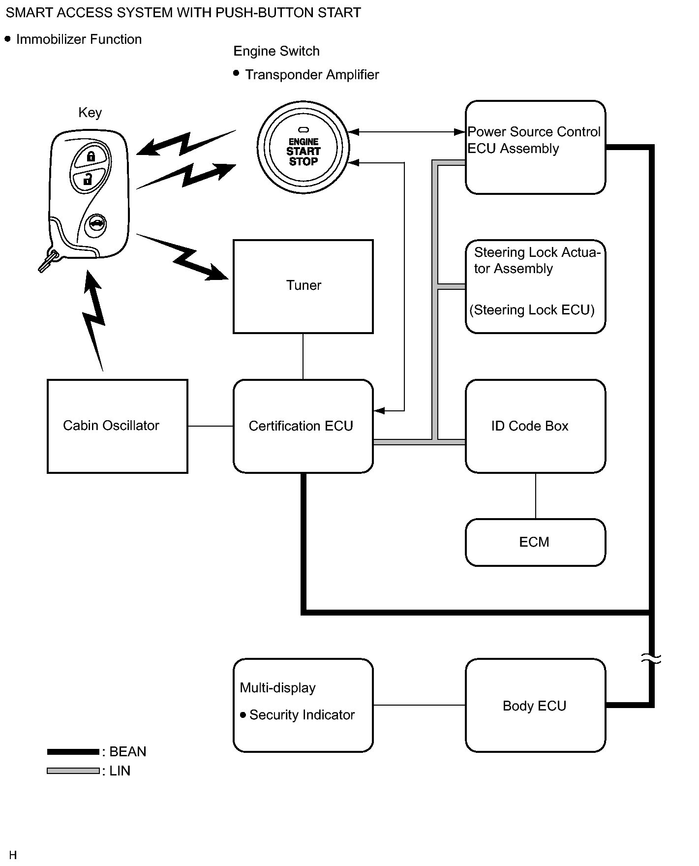
System Diagram

Fig 1: Identifying Steering Lock System Diagram
GTY286892Courtesy of © TOYOTA, LICENSE AGREEMENT TMS1002
INPUT AND OUTPUT SIGNALS OF EACH ECU

Transmitting ECU (transmitter) Receiving ECU Signals Communication Method
Power Source Control ECU assembly Steering Lock ECU Power supply status (to steering lock motor) LIN
Steering Lock ECU
  • Certification ECU
  • Power source control ECU assembly
  • ID code box
Sleep available status LIN
Steering Lock ECU
  • Certification ECU
  • Power source control ECU assembly
  • ID code box
Lock/Unlock sensor status LIN
Steering Lock ECU
  • Certification ECU
  • Power source control ECU assembly
  • ID code box
Steering lock status LIN
Steering Lock ECU
  • Certification ECU
  • Power source control ECU assembly
  • ID code box
Motor control status LIN
Steering Lock ECU
  • Certification ECU
  • Power source control ECU assembly
  • ID code box
Diagnostic response status LIN
Steering Lock ECU
  • Certification ECU
  • Power source control ECU assembly
  • ID code box
Lock/Unlock sensor malfunction LIN
Steering Lock ECU
  • Certification ECU
  • Power source control ECU assembly
  • ID code box
Power supply malfunction
(to steering lock motor)
LIN
Steering Lock ECU
  • Certification ECU
  • Power source control ECU assembly
  • ID code box
Motor driver malfunction LIN
Steering Lock ECU
  • Certification ECU
  • Power source control ECU assembly
  • ID code box
Lock bar (stuck) status LIN
Steering Lock ECU
  • Certification ECU
  • Power source control ECU assembly
  • ID code box
Push start status LIN
Steering Lock ECU
  • Certification ECU
  • Power source control ECU assembly
  • ID code box
Lock/Unlock relay drive status LIN
Steering Lock ECU
  • Certification ECU
  • Power source control ECU assembly
  • ID code box
Engine start control status LIN