LEMON Manuals: Even more car manuals for everyone: 1960-2025
Home >> Lexus >> 2011 >> HS 250h >> Repair and Diagnosis (Single Page) >> Accessories & Equipment >> Anti-Theft Systems >> Smart Access System With Push-Button Start (For Entry Function) (Diagnostic Codes & Symptom Tests) >> SMART ACCESS SYSTEM WITH PUSH-BUTTON START (for Entry Function) >> Symptom Tests >> Key Luggage Compartment Lock-in Prevention Function does not Operate >> Procedure
April 5, 2026: LEMON Manuals is launched! Read the announcement.

Key Luggage Compartment Lock-in Prevention Function does not Operate: Procedure

  1. CHECK SMART ACCESS SYSTEM WITH PUSH-BUTTON START (ENTRY LUGGAGE COMPARTMENT OPEN FUNCTION) 
    1. Check that the entry luggage compartment open function operates. Refer to OPERATION CHECK .

      Result

      Result Proceed to
      Entry luggage compartment door open function operates A
      Entry luggage compartment door open function does not operate B

    B → See step   8 

    A: Go to next step 

  2. CHECK WAVE ENVIRONMENT 
    1. Bring the key near the indoor electrical key oscillator (for luggage compartment), and check that the entry luggage compartment lock-in prevention function operates.
      NOTE:

      If the key is brought within 0.2 m (0.656 ft.) of the indoor electrical key oscillator (for luggage compartment), communication is not possible.

      HINT: 

      • When the key is brought near the indoor electrical key oscillator (for luggage compartment), the possibility of wave interference decreases, and it can be determined if wave interference is causing the problem symptom.
      • If the operation check is normal, the possibility of wave interference is high. Also, added vehicle components may cause wave interference. If installed, remove them and perform the operation check.

      OK

      Entry functions operate normally.

    NG → See step   3 

    OK → AFFECTED BY WAVE INTERFERENCE 

  3. PERFORM KEY DIAGNOSTIC MODE INSPECTION 
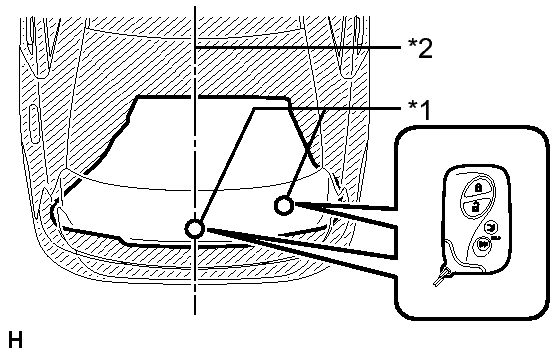
    1. Diagnostic mode inspection (indoor electrical key oscillator (for luggage compartment))
      Fig 1: Identifying Indoor Electrical Key Oscillator (For Luggage Compartment)
      GTY272409Courtesy of © TOYOTA, LICENSE AGREEMENT TMS1002
      TEXT IN ILLUSTRATION

      *1 Inspection Point
      *2 Vehicle Center
      1. Connect the Techstream to the DLC3.
      2. Turn the power switch on (IG).
      3. Turn the Techstream on.
      4. Enter the following menus: Body Electrical / Smart Access / Utility / Communication Check (Key Diag mode) / Overhead + Luggage (inside).
      5. When the key is held at the same height as the rear bumper upper surface and aligned with the center of the rear of the vehicle, check that the wireless door lock buzzer sounds.

        HINT: 

        • Place the key on the luggage area.
        • If the buzzer sounds, it can be determined that the electrical key oscillator (for luggage compartment) is operating normally.

        OK

        Wireless door lock buzzer sounds.

    NG → See step   4 

    OK → See step   9 

  4. CHECK HARNESS AND CONNECTOR (CERTIFICATION ECU - INDOOR ELECTRICAL KEY OSCILLATOR) 
    1. Disconnect the certification ECU (smart key ECU assembly) connector.
    2. Disconnect the indoor electrical key oscillator (for luggage compartment) connector.
    3. Measure the resistance according to the value(s) in the table below.

      Standard Resistance

      Tester Connection Condition Specified Condition
      F50-26 (CLG7) - z21-1 (CLG7) Always Below 1 Ω
      F50-27 (CG7B) - z21-3 (CG7B) Always Below 1 Ω
      F50-26 (CLG7) - Body ground Always 10 kΩ or higher
      F50-27 (CG7B) - Body ground Always 10 kΩ or higher

    NG → REPAIR OR REPLACE HARNESS OR CONNECTOR 

    OK: Go to next step 

  5. CHECK CERTIFICATION ECU (SMART KEY ECU ASSEMBLY) 
    1. Connect the certification ECU (smart key ECU assembly) connector.
    2. Measure the voltage according to the value(s) in the table below.
      Fig 2: Identifying Certification ECU Connector Terminal (Smart Key ECU Assembly)
      GTY357650Courtesy of © TOYOTA, LICENSE AGREEMENT TMS1002

      OK

      Tester Connection Switch Condition Specified Condition
      z21-1 (CLG7) - z21-3 (CG7B) Power switch off, all doors closed, key not in cabin and lock sensor off → on No pulse generation → pulse generation
      TEXT IN ILLUSTRATION

      *1 Front view of wire harness connector
      (to Indoor Electrical Key Oscillator (for Luggage Compartment))

    NG → See step   9 

    OK: Go to next step 

  6. REPLACE INDOOR ELECTRICAL KEY OSCILLATOR (for Luggage Compartment) 
    1. Replace the indoor electrical key oscillator (for luggage compartment). Refer to REMOVAL .

    NEXT: Go to next step 

  7. CHECK INDOOR ELECTRICAL KEY OSCILLATOR (OPERATION) 
    1. Check that the entry function operates normally. Refer to OPERATION CHECK .

      OK

      Entry function operates normally.

    NG → See step   9 

    OK → END (INDOOR ELECTRICAL KEY OSCILLATOR WAS DEFECTIVE) 

  8. GO TO OTHER PROBLEM (Proceed to Problem Symptoms Table). Refer to  PROBLEM SYMPTOMS TABLE 
  9. REPLACE CERTIFICATION ECU (SMART KEY ECU ASSEMBLY). Refer to  REMOVAL