LEMON Manuals: Even more car manuals for everyone: 1960-2025
Home >> Lexus >> 2011 >> HS 250h >> Repair and Diagnosis (Single Page) >> Accessories & Equipment >> Entertainment Systems >> Audio / Video System (W/Navigation System) (Diagnostic Codes & Circuit Tests) >> AUDIO AND VISUAL SYSTEM (w/ Navigation System) >> Circuit Tests >> Radio Receiver Power Source Circuit >> Procedure
April 5, 2026: LEMON Manuals is launched! Read the announcement.

Radio Receiver Power Source Circuit: Procedure

  1. INSPECT RADIO RECEIVER ASSEMBLY 
    1. Disconnect the radio receiver assembly connector.
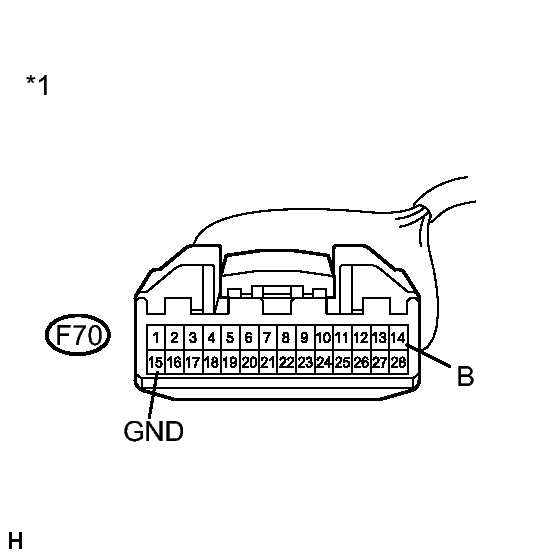
      Fig 1: Identifying Radio Receiver Assembly Connector
      GTY255416Courtesy of © TOYOTA, LICENSE AGREEMENT TMS1002
    2. Measure the resistance according to the value(s) in the table below.

      Standard Resistance

      Tester Connection Condition Specified Condition
      F70-15 (GND) - Body ground Always Below 1 Ω
    3. Measure the voltage according to the value(s) in the table below.

      Standard Voltage

      Tester Connection Condition Specified Condition
      F70-14 (B) - F70-15 (GND) Power switch off 11 to 14 V
      TEXT IN ILLUSTRATION

      *1 Front view of wire harness connector
      (to Radio Receiver Assembly)

    NG → REPAIR OR REPLACE HARNESS OR CONNECTOR 

    OK → See step   2 

  2. PROCEED TO NEXT SUSPECTED AREA SHOWN IN PROBLEM SYMPTOMS TABLE. Refer to  PROBLEM SYMPTOMS TABLE