LEMON Manuals: Even more car manuals for everyone: 1960-2025
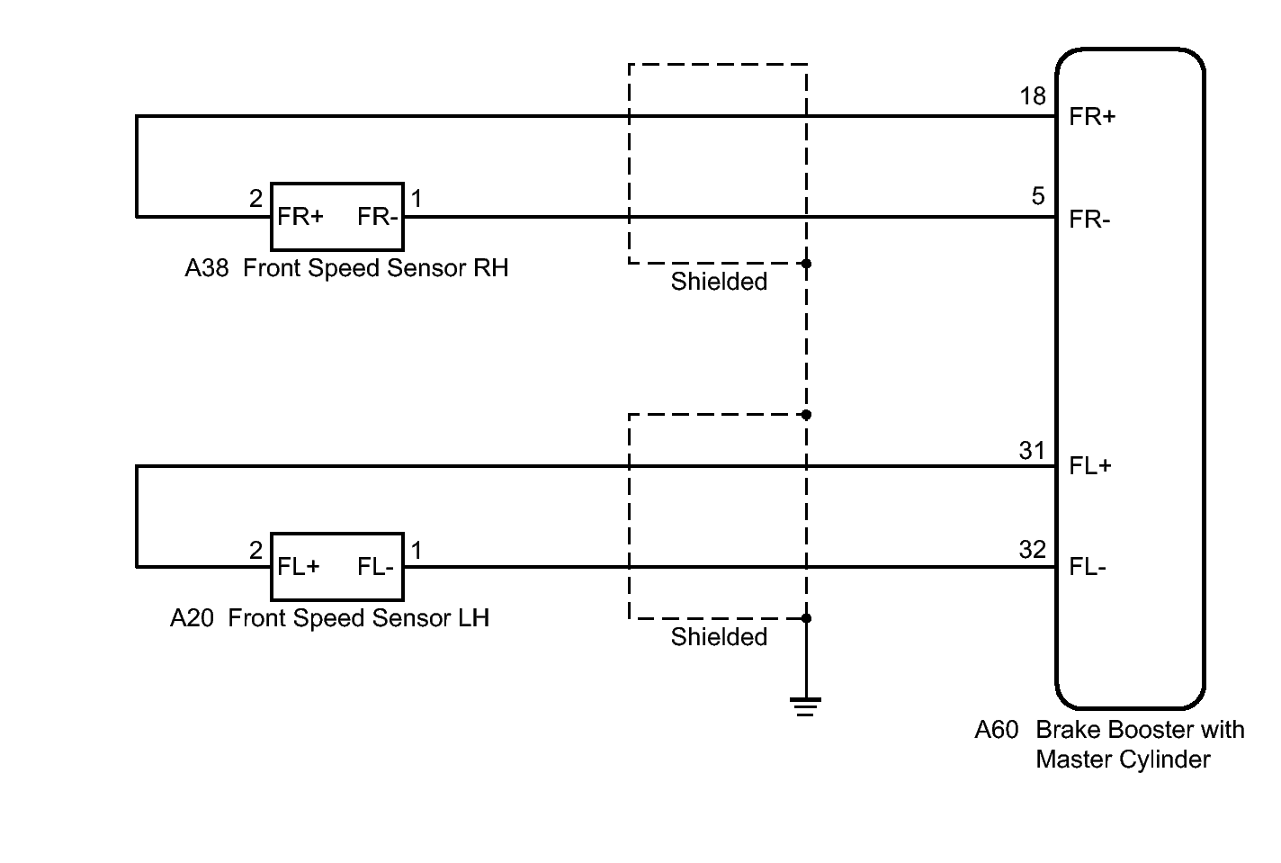
Home >> Lexus >> 2011 >> HS 250h >> Repair and Diagnosis (Single Page) >> Brakes >> Traction Control >> Electronically Controlled Brake System (Diagnostic Codes & Circuit Tests) >> Electronically Controlled Brake System >> DTC C0200/31: Front Speed Sensor RH Circuit; DTC C0205/32: Front Speed Sensor LH Circuit; DTC C1271/71: Low Output Signal of Front Speed Sensor RH (Test Mode DTC); DTC C1272/72: Low Output Signal of Front Speed Sensor LH (Test Mode DTC) >> Wiring Diagram
April 5, 2026: LEMON Manuals is launched! Read the announcement.

DTC C0200/31: Front Speed Sensor RH Circuit; DTC C0205/32: Front Speed Sensor LH Circuit; DTC C1271/71: Low Output Signal of Front Speed Sensor RH (Test Mode DTC); DTC C1272/72: Low Output Signal of Front Speed Sensor LH (Test Mode DTC): Wiring Diagram

Fig 1: Brake Booster With Master Cylinder - Wiring Diagram
GTY278010Courtesy of © TOYOTA, LICENSE AGREEMENT TMS1002