LEMON Manuals: Even more car manuals for everyone: 1960-2025
Home >> Lexus >> 2011 >> HS 250h >> Repair and Diagnosis (Single Page) >> Engine Performance >> System >> Engine Control System (Diagnostic Codes (P0010 - P0420)) >> SFI System >> DTC P0112: Intake Air Temperature Circuit Low Input; DTC P0113: Intake Air Temperature Circuit High Input >> Procedure
April 5, 2026: LEMON Manuals is launched! Read the announcement.

DTC P0112: Intake Air Temperature Circuit Low Input; DTC P0113: Intake Air Temperature Circuit High Input: Procedure

  1. READ VALUE USING TECHSTREAM (INTAKE AIR TEMPERATURE) 
    1. Connect the Techstream to the DLC3.
    2. Turn the power switch on (IG).
    3. Turn the Techstream on.
    4. Enter the following menus: Powertrain / Engine and ECT / Intake Air.
    5. Read the value displayed on the Techstream.

      OK

      Same as actual intake air temperature.

      Result

      Result Proceed to
      -40°C (-40°F) A
      140°C (284°F) or higher B
      Same as actual intake air temperature C

      HINT: 

      • If there is an open circuit, the Techstream indicates -40°C (-40°F).
      • If there is a short circuit, the Techstream indicates 140°C (284°F) or higher.

    B → See step   4 

    C → See step   6 

    A: Go to next step 

  2. READ VALUE USING TECHSTREAM (CHECK FOR OPEN IN WIRE HARNESS) 
    1. Confirm a good connection at the mass air flow meter sub-assembly.
      Fig 1: Identifying Mass Air Flow Meter Sub-Assembly, Hybrid Vehicle Control ECU & Mass Air Flow Meter Sub-Assembly Connector
      GTY265171Courtesy of © TOYOTA, LICENSE AGREEMENT TMS1002
      TEXT IN ILLUSTRATION

      *1 Mass Air Flow Meter Sub-assembly *2 Hybrid Vehicle Control ECU
      *3 Front view of wire harness connector
      (to Mass Air Flow Meter Sub-assembly)
      - -
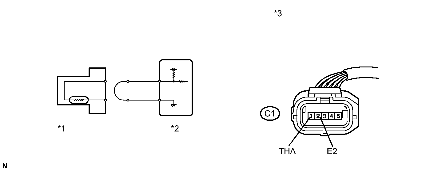
    2. Disconnect the mass air flow meter sub-assembly connector.
    3. Connect terminals THA and E2 of the mass air flow meter sub-assembly connector on the wire harness side.
    4. Connect the Techstream to the DLC3.
    5. Turn the power switch on (IG).
    6. Turn the Techstream on.
    7. Enter the following menus: Powertrain / Engine and ECT / Data List / Intake Air.
    8. Read the value displayed on the Techstream.

      Standard Value

      140°C (284°F) or higher

    9. Reconnect the mass air flow meter sub-assembly connector.

    NG → See step   3 

    OK → See step   7 

  3. CHECK HARNESS AND CONNECTOR (MASS AIR FLOW METER - HYBRID VEHICLE CONTROL ECU) 
    1. Disconnect the mass air flow meter sub-assembly connector.
    2. Disconnect the hybrid vehicle control ECU connector.
    3. Measure the resistance according to the value(s) in the table below.

      Standard Resistance (Check for Open)

      Tester Connection Condition Specified Condition
      C1-1 (THA) - C28-59 (THA) Always Below 1 Ω
      C1-2 (E2) - C28-45 (ETHA) Always Below 1 Ω
    4. Reconnect the mass air flow meter sub-assembly connector.
    5. Reconnect the hybrid vehicle control ECU connector.

    NG → REPAIR OR REPLACE HARNESS OR CONNECTOR 

    OK → See step   8 

  4. READ VALUE USING TECHSTREAM (CHECK FOR SHORT IN WIRE HARNESS) 
    1. Disconnect the mass air flow meter sub-assembly connector.
      Fig 2: Identifying Mass Air Flow Meter Sub-Assembly Connector
      GTY238465Courtesy of © TOYOTA, LICENSE AGREEMENT TMS1002
      TEXT IN ILLUSTRATION

      *1 Mass Air Flow Meter Sub-assembly
      *2 Hybrid Vehicle Control ECU
    2. Connect the Techstream to the DLC3.
    3. Turn the power switch on (IG).
    4. Turn the Techstream on.
    5. Enter the following menus: Powertrain / Engine and ECT / Intake Air.
    6. Read the value displayed on the Techstream.

      Standard Value

      -40°C (-40°F)

    7. Reconnect the mass air flow meter sub-assembly connector.

    NG → See step   5 

    OK → See step   9 

  5. CHECK HARNESS AND CONNECTOR (MASS AIR FLOW METER - HYBRID VEHICLE CONTROL ECU) 
    1. Disconnect the mass air flow meter sub-assembly connector.
    2. Disconnect the hybrid vehicle control ECU connector.
    3. Measure the resistance according to the value(s) in the table below.

      Standard Resistance (Check for Short)

      Tester Connection Condition Specified Condition
      C1-1 (THA) or C28-59 (THA) - Body ground Always 10 kΩ or higher
    4. Reconnect the mass air flow meter sub-assembly connector.
    5. Reconnect the hybrid vehicle control ECU connector.

    NG → REPAIR OR REPLACE HARNESS OR CONNECTOR 

    OK → See step   10 

  6. CHECK FOR INTERMITTENT PROBLEMS. Refer to  CHECK FOR INTERMITTENT PROBLEMS 
  7. REPLACE MASS AIR FLOW METER SUB-ASSEMBLY. Refer to  REMOVAL 
  8. REPLACE HYBRID VEHICLE CONTROL ECU. Refer to  REMOVAL 
  9. REPLACE MASS AIR FLOW METER SUB-ASSEMBLY. Refer to  REMOVAL 
  10. REPLACE HYBRID VEHICLE CONTROL ECU. Refer to  REMOVAL