LEMON Manuals: Even more car manuals for everyone: 1960-2025
Home >> Lexus >> 2011 >> LS 460 AWD >> Repair and Diagnosis (Single Page) >> Engine Performance >> Engine Control Systems >> Engine Control System (Service Information) >> VVT Relay >> On-Vehicle Inspection >> On-Vehicle Inspection
April 5, 2026: LEMON Manuals is launched! Read the announcement.

On-Vehicle Inspection

  1. REMOVE COWL TOP VENTILATOR LOUVER RH  . Refer to REMOVAL - Step 1
  2. DISCONNECT CABLE FROM NEGATIVE BATTERY TERMINAL 
    WARNING:

    Wait at least 90 seconds after disconnecting the cable from the negative (-) battery terminal to prevent airbag and seat belt pretensioner activation.

    NOTE:

    After the engine switch is turned off, the HDD navigation system requires approximately 6 minutes to record various types of memory and settings. As a result, after turning the engine switch off, wait 6 minutes or more before disconnecting the cable from the negative (-) battery terminal.

  3. REMOVE VVT RELAY (VVT RH, VVT LH) 
    1. Remove the VVT relay from the engine room No. 2 relay block.
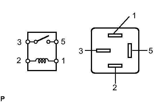
  4. INSPECT VVT RELAY 
    Fig 1: Inspecting Starter Relay
    GTY264765Courtesy of © TOYOTA, LICENSE AGREEMENT TMS1002
    1. Measure the resistance according to the value(s) in the table below.

      Standard resistance

      Tester Connection Condition Specified Condition
      3 - 5 when no battery voltage is applied to terminals 1 and 2 10 kΩ or higher
      3 - 5 when battery voltage is applied to terminals 1 and 2 Below 1 Ω

      If the result is not as specified, replace the relay.

  5. INSTALL VVT RELAY 
  6. CONNECT CABLE TO NEGATIVE BATTERY TERMINAL 
  7. INSTALL COWL TOP VENTILATOR LOUVER RH  . Refer to INSTALLATION - Step 11
  8. PERFORM INITIALIZATION 
    1. Perform initialization. Refer to INITIALIZATION .
      NOTE:

      Certain systems need to be initialized after disconnecting and reconnecting the cable from the negative (-) battery terminal.