LEMON Manuals: Even more car manuals for everyone: 1960-2025
Home >> Lexus >> 2011 >> LS 600hL >> Repair and Diagnosis (Single Page) >> Engine Performance >> Engine Control Systems >> Engine Control System (Service Information) >> Circuit Opening Relay >> On-Vehicle Inspection >> On-Vehicle Inspection
April 5, 2026: LEMON Manuals is launched! Read the announcement.

On-Vehicle Inspection

  1. REMOVE CIRCUIT OPENING RELAY (C/OPN) 
    1. Remove the circuit opening relay from the engine room No. 2 relay block.
  2. INSPECT CIRCUIT OPENING RELAY 
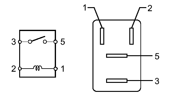
    Fig 1: Identifying EFI Relay Terminals
    GTY148250Courtesy of © TOYOTA, LICENSE AGREEMENT TMS1002
    1. Measure the resistance according to the value(s) in the table below.

      Standard resistance

      Tester Connection Condition Specified Condition
      3 - 5 When no battery voltage is applied to terminals 1 and 2 10 kΩ or higher
      3 - 5 When battery voltage is applied to terminals 1 and 2 Below 1 Ω

      If the result is not as specified, replace the relay.

  3. INSTALL CIRCUIT OPENING RELAY