LEMON Manuals: Even more car manuals for everyone: 1960-2025
Home >> Lexus >> 2012 >> HS 250h >> Repair and Diagnosis (Single Page) >> Accessories & Equipment >> Entertainment Systems >> Audio/Video System (W/O Navigation) (Diagnostics - Introduction) >> AUDIO AND VISUAL SYSTEM (w/o Navigation System) >> DTC Check/Clear >> DTC Check/Clear
April 5, 2026: LEMON Manuals is launched! Read the announcement.

DTC Check/Clear

HINT: 

If the system cannot enter diagnostic mode, inspect the AVC-LAN and all the components that are connected to the AVC-LAN for short circuits and repair or replace the malfunctioning part. Refer to AVC-LAN Circuit .

  1. STARTING DIAGNOSTIC MODE 
    1. Turn the power switch on (ACC).
      Fig 1: Starting Diagnostic Mode
      GTY255088Courtesy of © TOYOTA, LICENSE AGREEMENT TMS1002
    2. Turn off the audio system.
    3. While pressing preset switches "1" and "6" at the same time, press the "CD AUX" switch 3 times.

      HINT: 

      A beep is emitted 3 times and the diagnostic function is activated. The system enters the all element illumination mode and the switch check mode.

  2. ALL ELEMENT ILLUMINATION MODE AND SWITCH CHECK MODE 

    HINT: 

    Illumination status of all switches and operations of the panel switches can be checked.

    1. Check that all elements are on.
      Fig 2: Identifying Illumination Of All Panel Switches
      GTY277074Courtesy of © TOYOTA, LICENSE AGREEMENT TMS1002
      TEXT IN ILLUSTRATION

      *1 Example
    2. When pressing each panel switch, check that a beep is emitted.

      HINT: 

      Pressing the "SEEK TRACK UP" switch transfers the screen to the stereo jack adapter connection check screen. Check the operation of this switch by confirming the transfer of the screen.

  3. STEREO JACK ADAPTER CONNECTION CHECK MODE 
    1. Press the "SEEK TRACK UP" switch.
      Fig 3: Stereo Jack Adapter Connection Check Mode Display - AUX OK
      GTY151067Courtesy of © TOYOTA, LICENSE AGREEMENT TMS1002
    2. Check if the stereo jack adapter is recognized.

      HINT: 

      • The integration control and panel assembly displays "AUX OK" or "AUX ON" when it recognizes a connection to the stereo jack adapter.
      • Vehicles that do not have a stereo jack adapter also have this function.
      • This function is not to check connection status to an external device, but to check recognition of the stereo jack adapter.
  4. SERVICE CHECK MODE 
    1. Press the "SEEK TRACK UP" switch.

      HINT: 

      For details of the service check mode, refer to following steps  6 and  7.

  5. FINISHING DIAGNOSTIC MODE 
    1. Press the "CD AUX" switch for 2 seconds or more, or turn the power switch off.
  6. CHECK DTC 

    HINT: 

    Illustrations may differ from the actual vehicle depending on the device settings and options. Therefore, some detailed areas may not be shown exactly the same as on the actual vehicle.

    1. Reference

      In the system check mode, the system check and diagnostic memory check are performed, and the check results are displayed in ascending order of the component codes (physical address).

      Term Meaning
      Component code
      (Physical address)
      Three-digit code (in hexadecimal) is given to each device comprising AVC-LAN. Corresponding to its function, individual symbol is provided.
      Logical address Two-digit code (in hexadecimal) is given to each function and device unit in each device comprising AVC-LAN.
    2. Service check result display
      Display Previous Term Meaning Action to be Taken
      good Good (normal) No DTCs are detected in both "System Check Mode" and "Diagnostic Memory Mode". -
      nCon No connection The system recognized the component when it was registered, but the component gives no response to "Diagnostic Mode ON Request". Check the power source circuit and the communication circuit of the component indicated by the component code (physical address).
      ECHn Exchange One or more DTCs for "Exchange" are detected in either "System Check Mode" or "Diagnostic Memory Mode". Go to the detailed information mode to check the trouble area referring to the DTC table.
      CHEC Check When no DTCs are detected for "Exchange", one or more DTCs for "Check" are detected in either "System Check Mode" or "Diagnostic Memory Mode". Go to the detailed information mode to check the trouble area referring to the DTC table.
      OLd Old version Old DTC application is identified and DTC is detected in either "System Check Mode" or "Diagnostic Memory Mode". -
      nrES No response The device gives no response to any one of "System Check Mode ON Request", "System Check Result Request" and "Diagnostic Memory Request". Check the power source circuit and the communication circuit of the component indicated by the component code (physical address).
    3. Device name and physical address
      Physical Address No. Name
      190 Radio receiver assembly
      440 Stereo component amplifier assembly
      1F1 Satellite radio tuner
      388 Multimedia interface ECU
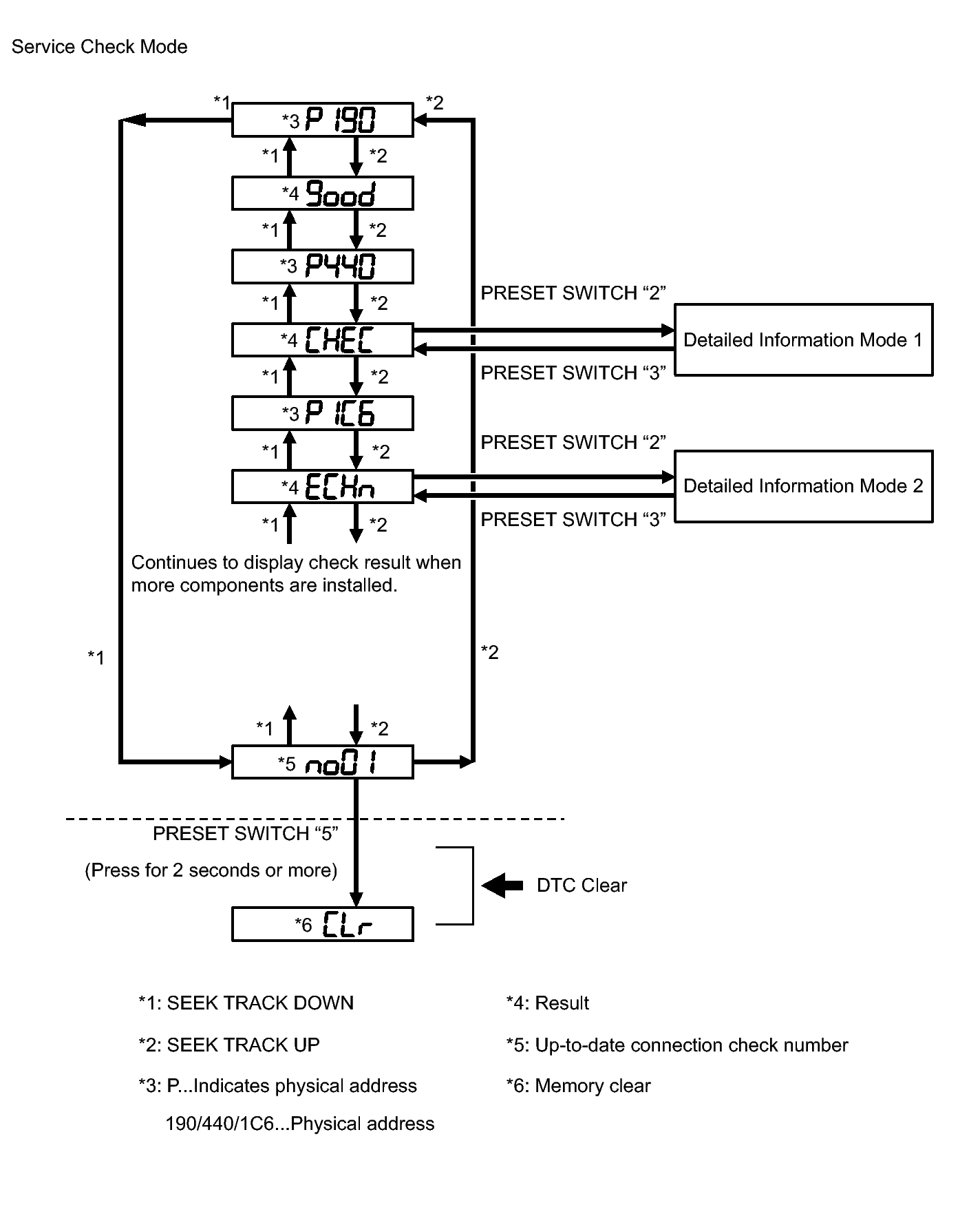
    4. Service check mode
      1. Press the "SEEK TRACK" switch to see the check result of each component.
      2. The component code (physical address) is displayed first, and then the check result follows.

        HINT: 

        • If all check results are "good", the system judges that no DTC exists.
        • If preset switch "1" is pressed in service check mode, service check is performed again.
        • This graphic is only an example and may differ for each optional part and output DTCs.
        Fig 4: Service Check Mode Diagram
        GTY135136Courtesy of © TOYOTA, LICENSE AGREEMENT TMS1002
    5. Detailed information mode 1

      HINT: 

      • "Detailed Information Mode 1" is displayed when there is no response to "System Check Result Request" and DTC is stored only in "Diagnostic Memory Request".
      • The component device code (physical address) is displayed first, and then the check result follows.
      • This illustration is only an example and may differ in cases such as for each optional part and output DTCs.
      1. Press preset switch "2" to go to "Detailed Information Mode 1".
      2. Press the "SEEK TRACK" switch to display the physical address and DTC of the component.
      3. Press the preset switch "3" to go to "Service Check Mode".
      4. Select between the displays of the responses to "System Check Result Request" and "Diagnostic Memory Request". In order to distinguish the information detected in "System Check Mode" and "Diagnostic Memory Mode" in "ECHn", "CHEC", and "OLd" in "Detailed Information Mode 1", refer to the following:
        • "SyS" is displayed before the detailed codes detected as a result of "System Check Result Request" are displayed.
        • "COdE" is displayed before the detailed codes detected as a result of "Diagnostic Memory Request" are displayed.

        HINT: 

        • The response to "System Check Result Request" is the current information given from each ECU as a result of the system check.
        • The response to "Diagnostic Memory Request" contains the information received from each ECU or stored in each ECU in the past.
        • The response to "Diagnostic Memory Request" is the output DTCs as a result of the diagnostic memory check or the DTCs received from each ECU.
        • "System Check Result Request (SyS)" is displayed first, and then the logical address and DTC appear in order.
        • "Diagnostic Memory Request (COdE)" is displayed first, and then the logical address, DTC, sub-code, connection check number, and the number of occurrence appear in order.
        Fig 5: Service Check Mode Flow Diagram - Detailed Information Mode 1
        GTY206351Courtesy of © TOYOTA, LICENSE AGREEMENT TMS1002
    6. Detailed information mode 2

      HINT: 

      • "Detailed Information Mode 2" is displayed when DTCs are stored in responses to both "System Check Result Request" and "Diagnostic Memory Request".
      • The component device code (physical address) is displayed first, and then the check result follows.
      • This illustration is only an example and may differ in cases such as for each option part and output DTCs.
      1. Press preset switch "2" to go to "Detailed Information Mode 2".
      2. Press the "SEEK TRACK" switch to display the physical address and DTC of the component.
      3. Press preset switch "3" to go to "Service Check Mode".
      4. Select between the displays of the responses to "System Check Result Request" and "Diagnostic Memory Request". In order to distinguish the information detected in "System Check Mode" and "Diagnostic Memory Mode" in "ECHn", "CHEC", and "OLd" in "Detailed Information Mode 2", refer to the following:
        • "SyS" is displayed before the detailed codes detected as a result of "System Check Result Request" are displayed.
        • "COdE" is displayed before the detailed codes detected as a result of "Diagnostic Memory Request" are displayed.

        HINT: 

        • The response to "System Check Result Request" is the current information given from each ECU as a result of the system check.
        • The response to "Diagnostic Memory Request" contains the information received from each ECU or stored in each ECU in the past.
        • The response to "Diagnostic Memory Request" is the output DTCs as a result of the diagnostic memory check or the DTCs received from each ECU.
        • "System Check Result Request (SyS)" is displayed first, and then the logical address and DTC appear in order.
        • "Diagnostic Memory Request (COdE)" is displayed first, and then the logical address, DTC, sub-code, connection check number, and the number of occurrence appear in order.
        Fig 6: System Check Mode
        GTY228493Courtesy of © TOYOTA, LICENSE AGREEMENT TMS1002
  7. DTC CLEAR/RECHECK 
    1. Clearing All DTC Memory (when clearing all the memory of the previously detected DTCs)
      Fig 7: Identifying Clearing All DTC Memory Switches
      GTY255091Courtesy of © TOYOTA, LICENSE AGREEMENT TMS1002
      1. When preset switch "5" is pressed for 2 seconds or more during "Service Check Mode", the DTCs for all components are cleared. ("CLr" is displayed at this time.)

        HINT: 

        • A beep sound is emitted once when the DTC memory is completely cleared.
        • When the DTC memory for all the components is cleared, only the component codes (physical address) are displayed.
        • After the DTC memory is cleared, "Service Check Mode" is restored.
    2. Clearing the specified DTC Memory (when clearing the specified memory of the previously detected DTC)
      1. When preset switch "5" is pressed for 2 seconds or more during "Detailed Information Mode 1" or "Detailed Information Mode 2", the DTCs for the target component are cleared.

        HINT: 

        • A beep sound is emitted once when the DTC memory is completely cleared.
        • When the DTC memory is cleared, only the component code (physical address) is displayed for the target component.
        • After the DTC memory is cleared, the "Service Check Mode" is restored.
        • To check DTCs, press preset switch "1" and perform the system check again.
    3. Press preset switch "1" to perform the service check again, and check that no DTCs are displayed for all the component codes (physical address).