LEMON Manuals: Even more car manuals for everyone: 1960-2025
Home >> Lexus >> 2012 >> HS 250h >> Repair and Diagnosis (Single Page) >> Accessories & Equipment >> Wiper/Washer Systems >> Wiper System/Washer System (Diagnostics & Circuit Tests) >> Wiper And Washer System >> Circuit Tests >> Wiper ECU Power Source Circuit >> Procedure
April 5, 2026: LEMON Manuals is launched! Read the announcement.

Wiper ECU Power Source Circuit: Procedure

  1. CHECK HARNESS AND CONNECTOR (WINDSHIELD WIPER RELAY ASSEMBLY - BATTERY AND BODY GROUND) 
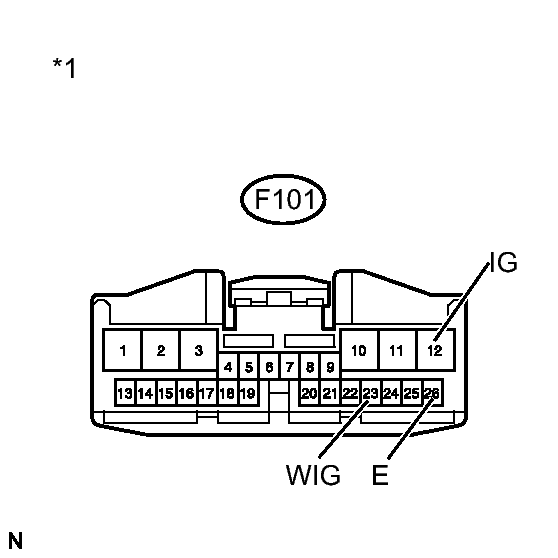
    1. Disconnect the F101 windshield wiper relay assembly connector.
      Fig 1: Identifying F101 Windshield Wiper Relay Assembly Connector
      GTY281537Courtesy of © TOYOTA, LICENSE AGREEMENT TMS1002
    2. Measure the voltage according to the value(s) in the table below.

      Standard Voltage

      Tester Connection Condition Specified Condition
      F101-12 (IG) - Body ground Power switch on (IG) 11 to 14 V
      F101-23 (WIG) - Body ground Power switch on (IG) 11 to 14 V
    3. Measure the resistance according to the value(s) in the table below.

      Standard Resistance

      Tester Connection Condition Specified Condition
      F101-26 (E) - Body ground Always Below 1 Ω
      TEXT IN ILLUSTRATION

      *1 Front view of wire harness connector
      (to Windshield Wiper Relay Assembly)

    NG → REPAIR OR REPLACE HARNESS OR CONNECTOR 

    OK → See step   2 

  2. PROCEED TO NEXT SUSPECTED AREA SHOWN IN PROBLEM SYMPTOMS TABLE. Refer to  PROBLEM SYMPTOMS TABLE