LEMON Manuals: Even more car manuals for everyone: 1960-2025
Home >> Lexus >> 2012 >> HS 250h >> Repair and Diagnosis (Single Page) >> Hybrid/Electric Powertrain >> Testing and Diagnosis >> Hybrid Control System (Diagnostic Codes & Circuit Tests) >> Hybrid Control System >> DTC P3108-535, P3108-536, P3108-538: Lost Communication with A/C System Control Module; Lost Communication with A/C System Control Module; Lost Communication with A/C System Control Module >> Procedure
April 5, 2026: LEMON Manuals is launched! Read the announcement.

DTC P3108-535, P3108-536, P3108-538: Lost Communication with A/C System Control Module; Lost Communication with A/C System Control Module; Lost Communication with A/C System Control Module: Procedure

  1. CHECK DTC OUTPUT (HV) 
    1. Connect the Techstream to the DLC3.
    2. Turn the power switch on (IG).
    3. Enter the following menus: Powertrain/Hybrid Control/Trouble Codes.
    4. Check if DTCs are output.

      Result

      Result Proceed to
      DTC P3108-535, 536 or 538 only is output. A
      Any of the following DTCs are also output. B
      DTC No. Relevant Diagnosis
      P0ADC-226 Hybrid Battery Positive Contactor Control Circuit High
      P0AE0-228 Hybrid Battery Negative Contactor Control Circuit High
      NOTE: P3108-535, 536 or 538 may be set due to a malfunction which also causes DTCs in the preceding table to be set. In this case, first troubleshoot the output DTCs in the preceding table. Then, perform a test to attempt to reproduce the problems, and check that no DTCs are output. After troubleshooting and repairing all output DTCs, be sure to replace the inverter with converter assembly.
    5. Turn the power switch off.

    B → See step   14 

    A: Go to next step 

  2. CHECK CONNECTOR CONNECTION CONDITION (HYBRID VEHICLE CONTROL ECU CONNECTOR). Refer to  PROCEDURE - Step 3 

    NG → CONNECT SECURELY 

    OK: Go to next step 

  3. CHECK CONNECTOR CONNECTION CONDITION (COMPRESSOR WITH MOTOR ASSEMBLY CONNECTOR) 
    1. Disconnect connector C26 from the compressor with motor assembly.
      Fig 1: Identifying C26 Compressor With Motor Assembly
      GTY265238Courtesy of © TOYOTA, LICENSE AGREEMENT TMS1002

      OK

      The connector is connected securely and there are no contact problems.

    NG → CONNECT SECURELY 

    OK: Go to next step 

  4. CHECK HARNESS AND CONNECTOR (COMPRESSOR WITH MOTOR ASSEMBLY POWER SOURCE CIRCUIT) 
    1. Disconnect connector C26 from the compressor with motor assembly.
    2. Measure the resistance according to the value(s) in the table below.
      Fig 2: Identifying C26 Compressor With Motor Assembly
      GTY274917Courtesy of © TOYOTA, LICENSE AGREEMENT TMS1002

      Standard Resistance

      Tester Connection Switch Condition Specified Condition
      C26-5 (GND) - Body ground Power switch off Below 1 Ω
      TEXT IN ILLUSTRATION

      *1 Front view of wire harness connector
      (to Compressor with Motor Assembly)
    3. Turn the power switch on (IG).
    4. Measure the voltage according to the value(s) in the table below.

      Standard Voltage

      Tester Connection Switch Condition Specified Condition
      C26-6 (IG1) - C26-5 (GND) Power switch on (IG) 11 to 14 V
      NOTE: Turning the power switch on (IG) with the compressor with motor assembly connector disconnected causes other DTCs to be stored. Clear the DTCs after performing this inspection.
    5. Turn the power switch off.
    6. Connect the compressor with motor assembly connector.

    NG → REPAIR OR REPLACE HARNESS OR CONNECTOR 

    OK: Go to next step 

  5. CHECK DTC OUTPUT (HV) 
    1. Connect the Techstream to the DLC3.
    2. Turn the power switch on (READY).
    3. Enter the following menus: Powertrain/Hybrid Control/Trouble Codes.
    4. Check if DTCs are output.

      Result

      Result Proceed to
      DTC P3108-535 is output. A
      DTC P3108-538 is not output, DTC P3108-536 is output.
      DTC P3108-535 is not output, DTC P3108-538 is output. B
    5. Turn the power switch off.

    B → See step   9 

    A: Go to next step 

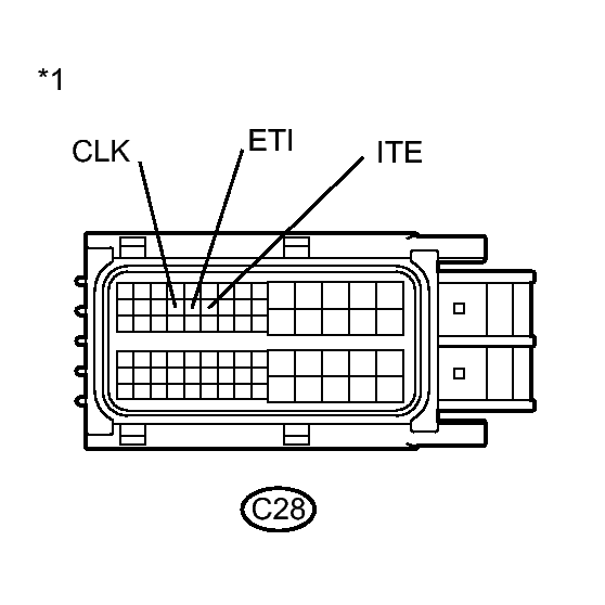
  6. CHECK HARNESS AND CONNECTOR (HYBRID VEHICLE CONTROL ECU - COMPRESSOR WITH MOTOR ASSEMBLY) 
    1. Disconnect connector C28 from the hybrid vehicle control ECU.
    2. Disconnect connector C26 from the compressor with motor assembly.
    3. Turn the power switch on (IG).
    4. Measure the voltage according to the value(s) in the table below.
      Fig 3: Identifying C28 Hybrid Vehicle Control ECU & C26 Compressor With Motor Assembly
      GTY284050Courtesy of © TOYOTA, LICENSE AGREEMENT TMS1002

      Standard Voltage

      Tester Connection Switch Condition Specified Condition
      C28-18 (CLK) - Body ground Power switch on (IG) Below 1 V
      C28-20 (ITE) - Body ground Power switch on (IG) Below 1 V
      C28-19 (ETI) - Body ground Power switch on (IG) Below 1 V
      TEXT IN ILLUSTRATION

      *1 Front view of wire harness connector
      (to Hybrid Vehicle Control ECU)
      *2 Front view of wire harness connector
      (to Compressor with Motor Assembly)
      NOTE: Turning the power switch on (IG) with the hybrid vehicle control ECU connector and the compressor with motor assembly connector disconnected causes other DTCs to be stored. Clear the DTCs after performing this inspection.
    5. Turn the power switch off.
    6. Measure the resistance according to the value(s) in the table below.

      Standard Resistance (Check for Open)

      Tester Connection Switch Condition Specified Condition
      C28-18 (CLK) - C26-1 (CLK) Power switch off Below 1 Ω
      C28-20 (ITE) - C26-2 (DIN) Power switch off Below 1 Ω
      C28-19 (ETI) - C26-3 (DOUT) Power switch off Below 1 Ω

      Standard Resistance (Check for Short)

      Tester Connection Switch Condition Specified Condition
      C28-18 (CLK) or C26-1 (CLK) - Body ground and other terminals Power switch off 10 kΩ or higher
      C28-20 (ITE) or C26-2 (DIN) - Body ground and other terminals Power switch off 10 kΩ or higher
      C28-19 (ETI) or C26-3 (DOUT) - Body ground and other terminals Power switch off 10 kΩ or higher
    7. Connect the compressor with motor assembly connector.
    8. Connect the hybrid vehicle control ECU connector.

    NG → REPAIR OR REPLACE HARNESS OR CONNECTOR 

    OK: Go to next step 

  7. CHECK HYBRID VEHICLE CONTROL ECU 
    1. Disconnect connector C26 from the compressor with motor assembly.
    2. Measure the resistance according to the value(s) in the table below.
      Fig 4: Identifying C26 From Compressor With Motor Assembly
      GTY286347Courtesy of © TOYOTA, LICENSE AGREEMENT TMS1002

      Standard Resistance

      Tester Connection Switch Condition Specified Condition
      C26-3 (DOUT) - Body ground Power switch off 10 kΩ or higher
      TEXT IN ILLUSTRATION

      *1 Front view of wire harness connector
      (to Compressor with Motor Assembly)
    3. Turn the power switch on (IG).
    4. Measure the voltage according to the value(s) in the table below.

      Standard Voltage

      Tester Connection Switch Condition Specified Condition
      C26-1 (CLK) - Body ground Power switch on (IG) 11 to 14 V
      C26-2 (DIN) - Body ground Power switch on (IG) 11 to 14 V
      C26-3 (DOUT) - Body ground Power switch on (IG) Below 1 V
      NOTE: Turning the power switch on (IG) with the compressor with motor assembly connector disconnected causes other DTCs to be stored. Clear the DTCs after performing this inspection.
    5. Turn the power switch off.
    6. Connect the compressor with motor assembly connector.

    NG → See step   13 

    OK: Go to next step 

  8. CHECK COMPRESSOR WITH MOTOR ASSEMBLY 
    1. Disconnect connector C28 from the hybrid vehicle control ECU.
    2. Measure the resistance according to the value(s) in the table below.
      Fig 5: Identifying C28 Hybrid Vehicle Control ECU
      GTY262428Courtesy of © TOYOTA, LICENSE AGREEMENT TMS1002

      Standard Resistance

      Tester Connection Switch Condition Specified Condition
      C28-18 (CLK) - Body ground Power switch off 10 kΩ or higher
      C28-20 (ITE) - Body ground Power switch off 10 kΩ or higher
      TEXT IN ILLUSTRATION

      *1 Front view of wire harness connector
      (to Hybrid Vehicle Control ECU)
    3. Turn the power switch on (IG).
    4. Measure the voltage according to the value(s) in the table below.

      Standard Voltage

      Tester Connection Switch Condition Specified Condition
      C28-19 (ETI) - Body ground Power switch on (IG) 11 to 14V
      C28-18 (CLK) - Body ground Power switch on (IG) Below 1 V
      C28-20 (ITE) - Body ground Power switch on (IG) Below 1 V
      NOTE: Turning the power switch on (IG) with the hybrid vehicle control ECU connector disconnected causes other DTCs to be stored. Clear the DTCs after performing this inspection.
    5. Turn the power switch off.
    6. Connect the hybrid vehicle control ECU connector.

    NG → See step   12 

    OK → See step   13 

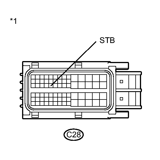
  9. CHECK HARNESS AND CONNECTOR (HYBRID VEHICLE CONTROL ECU - COMPRESSOR WITH MOTOR ASSEMBLY) 
    1. Disconnect connector C28 from the hybrid vehicle control ECU.
    2. Disconnect connector C26 from the compressor with motor assembly.
    3. Turn the power switch on (IG).
    4. Measure the voltage according to the value(s) in the table below.
      Fig 6: Identifying C28 Hybrid Vehicle Control ECU & C26 Compressor With Motor Assembly
      GTY265029Courtesy of © TOYOTA, LICENSE AGREEMENT TMS1002

      Standard Voltage

      Tester Connection Switch Condition Specified Condition
      C28-33 (STB) - Body ground Power switch on (IG) Below 1 V
      TEXT IN ILLUSTRATION

      *1 Front view of wire harness connector
      (to Hybrid Vehicle Control ECU)
      *2 Front view of wire harness connector
      (to Compressor with Motor Assembly)
      NOTE: Turning the power switch on (IG) with the hybrid vehicle control ECU connector and the compressor with motor assembly connector disconnected causes other DTCs to be stored. Clear the DTCs after performing this inspection.
    5. Turn the power switch off.
    6. Measure the resistance according to the value(s) in the table below.

      Standard Resistance (Check for Open)

      Tester Connection Switch Condition Specified Condition
      C28-33 (STB) - C26-4 (STBI) Power switch off Below 1 Ω

      Standard Resistance (Check for Short)

      Tester Connection Switch Condition Specified Condition
      C28-33 (STB) or C26-4 (STBI) - Body ground and other terminals Power switch off 10 kΩ or higher
    7. Connect the compressor with motor assembly connector.
    8. Connect the hybrid vehicle control ECU connector.

    NG → REPAIR OR REPLACE HARNESS OR CONNECTOR 

    OK: Go to next step 

  10. CHECK HYBRID VEHICLE CONTROL ECU 
    1. Disconnect connector C26 from the compressor with motor assembly.
    2. Measure the resistance according to the value(s) in the table below.
      Fig 7: Identifying C26 Compressor With Motor Assembly
      GTY274948Courtesy of © TOYOTA, LICENSE AGREEMENT TMS1002

      Standard Resistance

      Tester Connection Switch Condition Specified Condition
      C26-4 (STBI) - Body ground Power switch off 10 kΩ or higher
      TEXT IN ILLUSTRATION

      *1 Front view of wire harness connector
      (to Compressor with Motor Assembly)
    3. Turn the power switch on (IG).
    4. Measure the voltage according to the value(s) in the table below.

      Standard Voltage

      Tester Connection Switch Condition Specified Condition
      C26-4 (STBI) - Body ground Power switch on (IG) Below 1 V
      NOTE: Turning the power switch on (IG) with the compressor with motor assembly connector disconnected causes other DTCs to be stored. Clear the DTCs after performing this inspection.
    5. Turn the power switch off.
    6. Connect the compressor with motor assembly connector.

    NG → See step   13 

    OK: Go to next step 

  11. CHECK COMPRESSOR WITH MOTOR ASSEMBLY 
    1. Disconnect connector C28 from the hybrid vehicle control ECU.
    2. Measure the resistance according to the value(s) in the table below.
      Fig 8: Identifying C28 Hybrid Vehicle Control ECU
      GTY262429Courtesy of © TOYOTA, LICENSE AGREEMENT TMS1002

      Standard Resistance

      Tester Connection Switch Condition Specified Condition
      C28-33 (STB) - Body ground Power switch off 10 kΩ or higher
      TEXT IN ILLUSTRATION

      *1 Front view of wire harness connector
      (to Hybrid Vehicle Control ECU)
    3. Turn the power switch on (IG).
    4. Measure the voltage according to the value(s) in the table below.

      Standard Voltage

      Tester Connection Switch Condition Specified Condition
      C28-33 (STB) - Body ground Power switch on (IG) 11 to 14 V
    5. Turn the power switch off.
    6. Connect the hybrid vehicle control ECU connector.

    NG → See step   12 

    OK → See step   13 

  12. REPLACE COMPRESSOR WITH MOTOR ASSEMBLY. Refer to  COMPONENTS 
  13. REPLACE HYBRID VEHICLE CONTROL ECU. Refer to  COMPONENTS 
  14. GO TO DTC TABLE. Refer to  DIAGNOSTIC TROUBLE CODE TABLE