LEMON Manuals: Even more car manuals for everyone: 1960-2025
Home >> Lexus >> 2012 >> IS 250 Base, RWD, Standard >> Repair and Diagnosis (Single Page) >> Accessories & Equipment >> Entertainment Systems >> Audio Entertainment System (W/O Navigation) (Multi-Display) (Diagnostic Codes & Symptom Tests) >> AUDIO AND VISUAL SYSTEM (w/o Navigation System with Multi-display) >> Circuit Tests >> Steering Pad Switch Circuit >> Procedure
April 5, 2026: LEMON Manuals is launched! Read the announcement.

Steering Pad Switch Circuit: Procedure

  1. INSPECT DISPLAY AND NAVIGATION MODULE DISPLAY 
    1. Disconnect the display and navigation module display connector.
      Fig 1: Display And Navigation Module Display Connector
      GTY393227Courtesy of © TOYOTA, LICENSE AGREEMENT TMS1002
    2. Measure the resistance according to the value(s) in the table below.

      Standard Resistance

      Tester Connection Switch Condition Specified Condition
      J100-25 (SW1) - J100-23 (SWG) No switch pushed 95 to 105 kΩ
      J100-25 (SW1) - J100-23 (SWG) Seek+ switch pushed Below 2.5 Ω
      J100-25 (SW1) - J100-23 (SWG) Seek- switch pushed 312 to 345 Ω
      J100-25 (SW1) - J100-23 (SWG) Volume+ switch pushed 950 to 1050 Ω
      J100-25 (SW1) - J100-23 (SWG) Volume- switch pushed 2954 to 3265 Ω
      J100-24 (SW2) - J100-23 (SWG) No switch pushed 95 to 105 kΩ
      J100-24 (SW2) - J100-23 (SWG) MODE switch pushed Below 2.5 Ω
      J100-24 (SW2) - J100-23 (SWG) Voice switch pushed 2954 to 3265 Ω
      J100-24 (SW2) - J100-23 (SWG) On Hook switch pushed 312 to 345 Ω
      J100-24 (SW2) - J100-23 (SWG) Off Hook switch pushed 950 to 1050 Ω
      TEXT IN ILLUSTRATION

      *a Front view of wire harness connector
      (to Display and Navigation Module Display)

    NG → See step   2 

    OK → See step   4 

  2. INSPECT SPIRAL CABLE SUB-ASSEMBLY 
    1. Disconnect the steering pad switch assembly and spiral cable sub-assembly connectors.
      Fig 2: Steering Pad Switch Assembly And Spiral Cable Sub-Assembly Connectors
      GTY393417Courtesy of © TOYOTA, LICENSE AGREEMENT TMS1002
    2. Measure the resistance according to the value(s) in the table below.

      Standard Resistance

      Tester Connection Condition Specified Condition
      k1-8 (EAU) - J24-4 (EAU) Center Below 1 Ω
      2.5 rotations to the left
      2.5 rotations to the right
      k1-10 (AU1) - J24-6 (AU1) Center Below 1 Ω
      2.5 rotations to the left
      2.5 rotations to the right
      k1-9 (AU2) - J24-5 (AU2) Center Below 1 Ω
      2.5 rotations to the left
      2.5 rotations to the right
      NOTE:

      The spiral cable is an important part of the SRS airbag system. Incorrect removal or installation of the spiral cable may prevent the airbag from deploying. Refer to the information shown in the brackets.

      HINT: 

      TEXT IN ILLUSTRATION

      *a Component without harness connected
      (Spiral Cable Sub-assembly)
      *b Steering Pad Switch Side
      *c Vehicle Side

    NG → See step   5 

    OK: Go to next step 

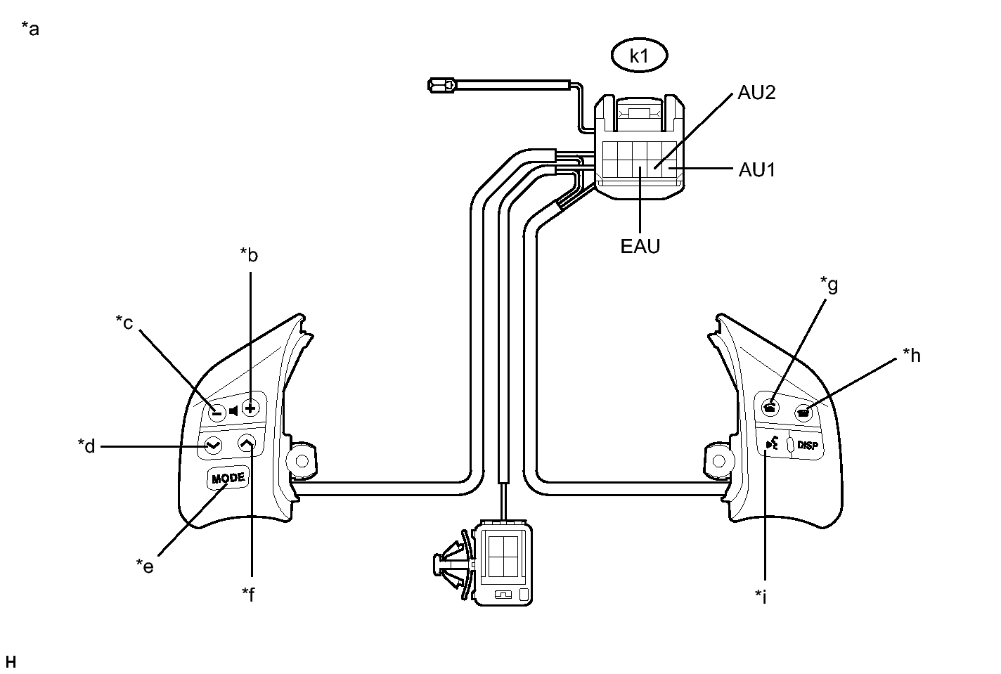
  3. INSPECT STEERING PAD SWITCH ASSEMBLY 
    1. Disconnect the steering pad switch assembly connector.
      Fig 3: Steering Pad Switch Assembly Connector
      GTY393428Courtesy of © TOYOTA, LICENSE AGREEMENT TMS1002
    2. Measure the resistance according to the value(s) in the table below.

      Standard Resistance

      Tester Connection Switch Condition Specified Condition
      k1-10 (AU1) - k1-8 (EAU) No switch pushed 95 to 105 kΩ
      k1-10 (AU1) - k1-8 (EAU) Seek+ switch pushed Below 2.5 Ω
      k1-10 (AU1) - k1-8 (EAU) Seek- switch pushed 312 to 345 Ω
      k1-10 (AU1) - k1-8 (EAU) Volume+ switch pushed 950 to 1050 Ω
      k1-10 (AU1) - k1-8 (EAU) Volume- switch pushed 2954 to 3265 Ω
      k1-9 (AU2) - k1-8 (EAU) No switch pushed 95 to 105 kΩ
      k1-9 (AU2) - k1-8 (EAU) MODE switch pushed Below 2.5 Ω
      k1-9 (AU2) - k1-8 (EAU) Voice switch pushed 2954 to 3265 Ω
      k1-9 (AU2) - k1-8 (EAU) On Hook switch pushed 312 to 345 Ω
      k1-9 (AU2) - k1-8 (EAU) Off Hook switch pushed 950 to 1050 Ω
      TEXT IN ILLUSTRATION

      *a Component without harness connected
      (Steering Pad Switch Assembly)
      *b Volume+
      *c Volume- *d Seek-
      *e MODE *f Seek+
      *g Off Hook *h On Hook
      *i Voice - -

    NG → See step   6 

    OK → REPAIR OR REPLACE HARNESS OR CONNECTOR (DISPLAY AND NAVIGATION MODULE DISPLAY - SPIRAL CABLE) 

  4. PROCEED TO NEXT SUSPECTED AREA SHOWN IN PROBLEM SYMPTOMS TABLE. Refer to  PROBLEM SYMPTOMS TABLE 
  5. REPLACE SPIRAL CABLE SUB-ASSEMBLY. Refer to  REMOVAL 
  6. REPLACE STEERING PAD SWITCH ASSEMBLY. Refer to  REMOVAL