LEMON Manuals: Even more car manuals for everyone: 1960-2025
Home >> Lexus >> 2012 >> IS 250C Standard Trans >> Repair and Diagnosis (Single Page) >> Accessories & Equipment >> Entertainment Systems >> Audio / Video System (W/O Navigation & Multi-Display) (Diagnostic Codes & Symptom Tests) >> AUDIO AND VISUAL SYSTEM (w/o Navigation System without Multi-display) >> Circuit Tests >> Sound Signal Circuit between Radio Receiver and Stereo Component Amplifier >> Procedure
April 5, 2026: LEMON Manuals is launched! Read the announcement.

Sound Signal Circuit between Radio Receiver and Stereo Component Amplifier: Procedure

  1. CHECK HARNESS AND CONNECTOR 
    1. Disconnect the radio receiver assembly and stereo component amplifier assembly connectors.
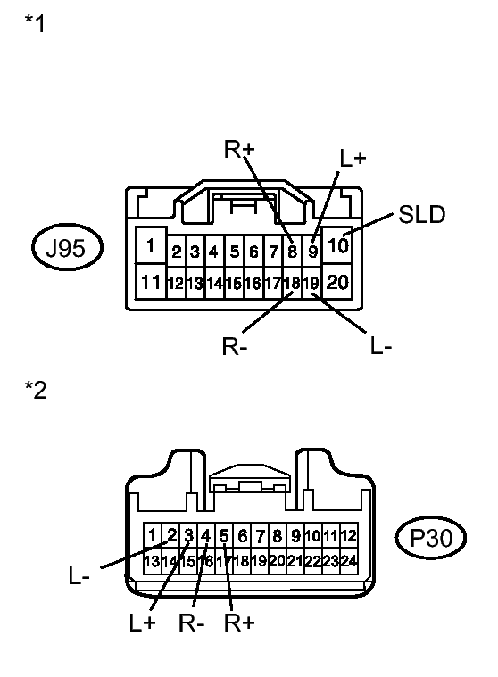
      Fig 1: J95 And P30 Connector Terminal Identification
      GTY258966Courtesy of © TOYOTA, LICENSE AGREEMENT TMS1002
    2. Measure the resistance according to the value(s) in the table below.
      STANDARD RESISTANCE

      Tester Connection Condition Specified Condition
      J95-9 (L+) - P30-3 (L+) Always Below 1 Ω
      J95-19 (L-) - P30-2 (L-) Always Below 1 Ω
      J95-8 (R+) - P30-5 (R+) Always Below 1 Ω
      J95-18 (R-) - P30-4 (R-) Always Below 1 Ω
      J95-9 (L+) - Body ground Always 10 kΩ or higher
      J95-19 (L-) - Body ground Always 10 kΩ or higher
      J95-8 (R+) - Body ground Always 10 kΩ or higher
      J95-18 (R-) - Body ground Always 10 kΩ or higher
      J95-10 (SLD) - Body ground Always 10 kΩ or higher
      TEXT IN ILLUSTRATION

      *1 Front view of wire harness connector
      (to Radio Receiver Assembly)
      *2 Front view of wire harness connector
      (to Stereo Component Amplifier Assembly)

    NG → REPAIR OR REPLACE HARNESS OR CONNECTOR 

    OK → See step   2 

  2. PROCEED TO NEXT SUSPECTED AREA SHOWN IN PROBLEM SYMPTOMS TABLE. Refer to  PROBLEM SYMPTOMS TABLE