LEMON Manuals: Even more car manuals for everyone: 1960-2025
Home >> Lexus >> 2012 >> IS 250C Standard Trans >> Repair and Diagnosis (Single Page) >> Accessories & Equipment >> Entertainment Systems >> Audio / Video System (W/O Navigation) (Multi-Display) (Diagnostic Codes & Symptom Tests) >> AUDIO AND VISUAL SYSTEM (w/o Navigation System with Multi-display) >> Symptom Tests >> Steering Pad Switch Circuit >> Procedure
April 5, 2026: LEMON Manuals is launched! Read the announcement.

Steering Pad Switch Circuit: Procedure

  1. INSPECT DISPLAY AND NAVIGATION MODULE DISPLAY 
    1. Disconnect the display and navigation module display connector.
      Fig 1: J50 Connector Terminal Identification
      GTY393231Courtesy of © TOYOTA, LICENSE AGREEMENT TMS1002
    2. Measure the resistance according to the value(s) in the table below.
      STANDARD RESISTANCE

      Tester Connection Switch Condition Specified Condition
      J50-25 (SW1) - J50-23 (SWG) No switch pushed 95 to 105 kΩ
      J50-25 (SW1) - J50-23 (SWG) Seek+ switch pushed Below 2.5 Ω
      J50-25 (SW1) - J50-23 (SWG) Seek- switch pushed 312 to 345 Ω
      J50-25 (SW1) - J50-23 (SWG) Volume+ switch pushed 950 to 1050 Ω
      J50-25 (SW1) - J50-23 (SWG) Volume- switch pushed 2954 to 3265 Ω
      J50-24 (SW2) - J50-23 (SWG) No switch pushed 95 to 105 kΩ
      J50-24 (SW2) - J50-23 (SWG) MODE switch pushed Below 2.5 Ω
      J50-24 (SW2) - J50-23 (SWG) Voice switch pushed 2954 to 3265 Ω
      J50-24 (SW2) - J50-23 (SWG) On Hook switch pushed 312 to 345 Ω
      J50-24 (SW2) - J50-23 (SWG) Off Hook switch pushed 950 to 1050 Ω
      TEXT IN ILLUSTRATION

      *a Front view of wire harness connector
      (to Display and Navigation Module Display)

    NG → See step   2 

    OK → See step   4 

  2. INSPECT SPIRAL CABLE SUB-ASSEMBLY 
    1. Disconnect the steering pad switch assembly connector.
    2. Disconnect the spiral cable sub-assembly connector.
      Fig 2: J25 & z2 Connector Terminal Identification
      GTY394154Courtesy of © TOYOTA, LICENSE AGREEMENT TMS1002
    3. Measure the resistance according to the value(s) in the table below.
      STANDARD RESISTANCE

      Tester Connection Condition Specified Condition
      z2-8 - J24-4 Center Below 1 Ω
      2.5 rotations to the left
      2.5 rotations to the right
      z2-10 - J24-6 Center Below 1 Ω
      2.5 rotations to the left
      2.5 rotations to the right
      z2-9 - J24-5 Center Below 1 Ω
      2.5 rotations to the left
      2.5 rotations to the right
      NOTE:

      The spiral cable is an important part of the SRS airbag system. Incorrect removal or installation of the spiral cable may prevent the airbag from deploying.

      HINT: 

      TEXT IN ILLUSTRATION

      *a Component without harness connected
      (Spiral Cable Sub-assembly)
      *b Steering Pad Switch Side
      *c Vehicle Side

    NG → See step   5 

    OK: Go to next step 

  3. INSPECT STEERING PAD SWITCH ASSEMBLY 
    1. Disconnect the steering pad switch assembly connector.
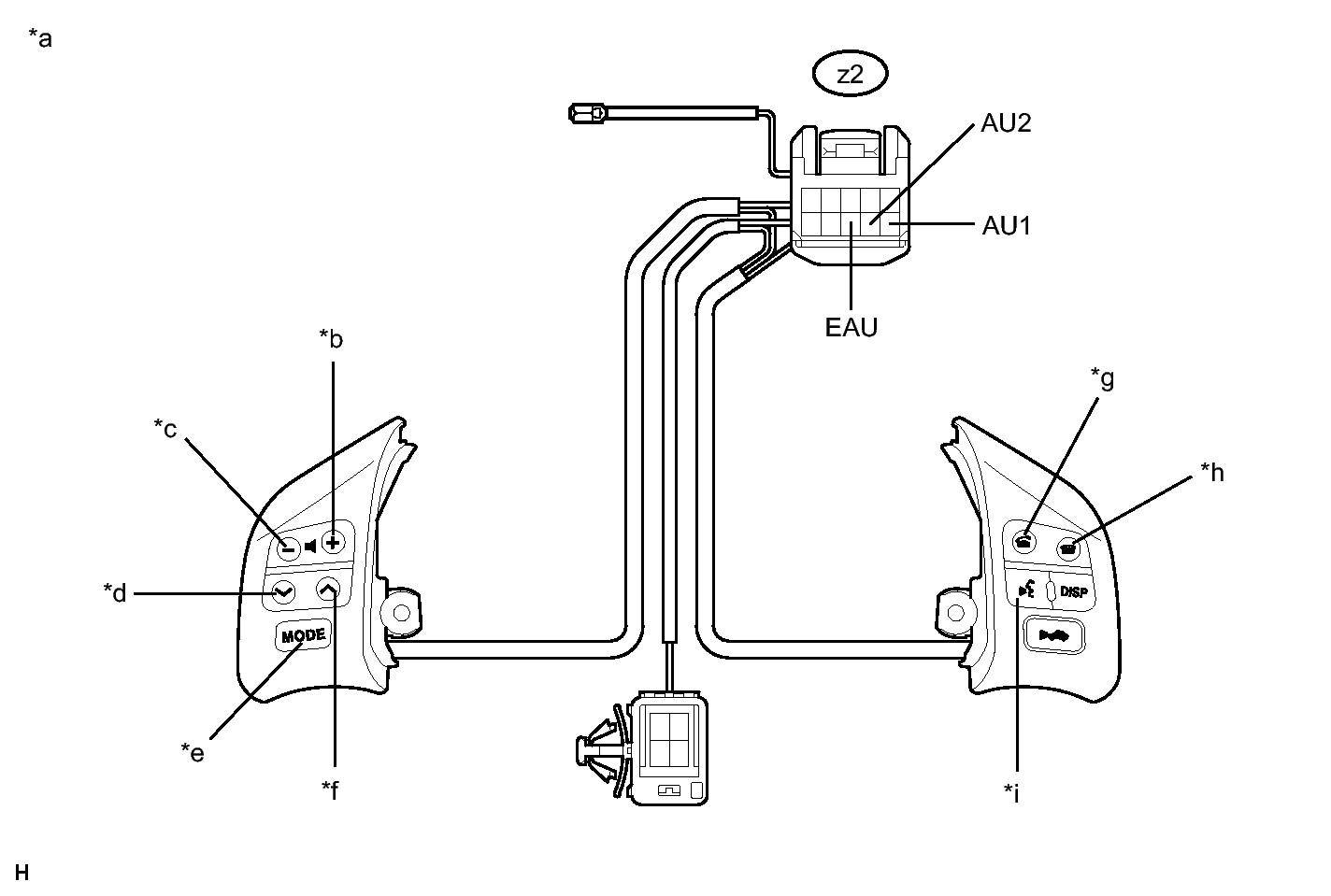
      Fig 3: Identifying Steering Pad Switch Assembly
      GTY394221Courtesy of © TOYOTA, LICENSE AGREEMENT TMS1002
    2. Measure the resistance according to the value(s) in the table below.
      STANDARD RESISTANCE

      Tester Connection Switch Condition Specified Condition
      z2-10 (AU1) - z2-8 (EAU) No switch pushed 95 to 105 kΩ
      z2-10 (AU1) - z2-8 (EAU) Seek+ switch pushed Below 2.5 Ω
      z2-10 (AU1) - z2-8 (EAU) Seek- switch pushed 312 to 345 Ω
      z2-10 (AU1) - z2-8 (EAU) Volume+ switch pushed 950 to 1050 Ω
      z2-10 (AU1) - z2-8 (EAU) Volume- switch pushed 2954 to 3265 Ω
      z2-9 (AU2) - z2-8 (EAU) No switch pushed 95 to 105 kΩ
      z2-9 (AU2) - z2-8 (EAU) MODE switch pushed Below 2.5 Ω
      z2-9 (AU2) - z2-8 (EAU) Voice switch pushed 2954 to 3265 Ω
      z2-9 (AU2) - z2-8 (EAU) On Hook switch pushed 312 to 345 Ω
      z2-9 (AU2) - z2-8 (EAU) Off Hook switch pushed 950 to 1050 Ω
      TEXT IN ILLUSTRATION

      *a Component without harness connected
      (Steering Pad Switch Assembly)
      *b Volume+
      *c Volume- *d Seek-
      *e MODE *f Seek+
      *g Off Hook *h On Hook
      *i Voice - -

    NG → See step   6 

    OK → REPAIR OR REPLACE HARNESS OR CONNECTOR (DISPLAY AND NAVIGATION MODULE DISPLAY - SPIRAL CABLE) 

  4. PROCEED TO NEXT SUSPECTED AREA SHOWN IN PROBLEM SYMPTOMS TABLE. Refer to  PROBLEM SYMPTOMS TABLE 
  5. REPLACE SPIRAL CABLE SUB-ASSEMBLY. Refer to  REMOVAL 
  6. REPLACE STEERING PAD SWITCH ASSEMBLY. Refer to  REMOVAL