LEMON Manuals: Even more car manuals for everyone: 1960-2025
Home >> Lexus >> 2012 >> IS 350 Base, AWD >> Repair and Diagnosis >> Electrical >> Charging Systems >> Charging System (Service Information) >> Generator >> Reassembly >> Reassembly
April 5, 2026: LEMON Manuals is launched! Read the announcement.

Charging System (Service Information): Generator: Reassembly: Reassembly

  1. INSTALL GENERATOR DRIVE END FRAME BEARING 
    1. Using SST and a press, press in a new generator drive end frame bearing.
      Fig 1: Pressing Generator Drive End Frame Bearing Using SST & Press
      GTY146177Courtesy of © TOYOTA, LICENSE AGREEMENT TMS1002
      • SST: 09950-60010 
        • 09951-00470
      • SST: 09950-70010 
        • 09951-07100
    2. Fit the tabs on the retainer plate into the cutouts on the generator drive end frame to install the retainer plate.
      Fig 2: Installing Retainer Plate With Screws
      GTY145862Courtesy of © TOYOTA, LICENSE AGREEMENT TMS1002
    3. Install the 4 screws.

      Torque: 2.3 N*m (23 kgf*cm, 20 in.*lbf) 

  2. INSTALL GENERATOR ROTOR ASSEMBLY 
    1. Place the generator drive end frame on the clutch pulley.
    2. Install the generator rotor assembly to the generator drive end frame.
      Fig 3: Installing Rotor Assembly To Drive End Frame
      GTY103817Courtesy of © TOYOTA, LICENSE AGREEMENT TMS1002
  3. INSTALL CLUTCH PULLEY 
    1. Temporarily install the clutch pulley onto the rotor shaft.
    2. Mount the generator drive end frame in a vise tightly.
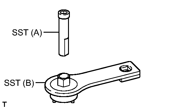
    3. Confirm SST (A) and (B) shown in the illustration.
      Fig 4: Identifying SST (A) And (B)
      GTY292303Courtesy of © TOYOTA, LICENSE AGREEMENT TMS1002
      • SST: 09820-63021 
    4. Place the rotor shaft end into SST (A).
      Fig 5: Placing Rotor Shaft Into SST (A)
      GTY297882Courtesy of © TOYOTA, LICENSE AGREEMENT TMS1002
    5. Fit SST (B) to the clutch pulley.
      Fig 6: Fitting SST (B) To Clutch Pulley
      GTY301672Courtesy of © TOYOTA, LICENSE AGREEMENT TMS1002
    6. Tighten the pulley by turning SST (B) in the direction shown in the illustration.
      Fig 7: Installing Clutch Pulley Using SST
      GTY348979Courtesy of © TOYOTA, LICENSE AGREEMENT TMS1002

      without SST 

      Torque: 80 N*m (816 kgf*cm, 59 ft.*lbf) 

      with SST 

      Torque: 64 N*m (653 kgf*cm, 47 ft.*lbf) 

      NOTE:
      • The "with SST" torque value is effective when using a torque wrench with a fulcrum length of 400 mm (1.312 ft.).
      • This torque value is effective when SST is parallel to the torque wrench.
      • Hold the generator assembly tightly.
    7. Remove SST from the generator assembly.
    8. Check that the clutch pulley rotates smoothly.
    9. Install a new clutch pulley cap to the clutch pulley.
  4. INSTALL GENERATOR COIL ASSEMBLY 
    1. Place a new generator washer on the generator rotor.
      Fig 8: Placing Generator Washer On Generator Rotor
      GTY100085Courtesy of © TOYOTA, LICENSE AGREEMENT TMS1002
    2. Using SST and a press, press in the generator coil assembly to the generator drive end frame.
      Fig 9: Pressing Generator Coil Assembly To Drive End Frame Using SST & Press
      GTY145837Courtesy of © TOYOTA, LICENSE AGREEMENT TMS1002
      • SST: 09612-70100 
        • 09612-07240
    3. Install the generator coil assembly with the 4 bolts.
      Fig 10: Installing Generator Coil Assembly Bolts
      GTY102940Courtesy of © TOYOTA, LICENSE AGREEMENT TMS1002

      Torque: 5.9 N*m (60 kgf*cm, 52 in.*lbf) 

  5. INSTALL GENERATOR BRUSH HOLDER ASSEMBLY 
    1. While pushing the 2 brushes into the generator brush holder assembly, insert a 1.0 mm (0.039 in.) diameter pin into the brush holder hole.
      Fig 11: Inserting Pin Into Brush Holder Hole
      GTY145713Courtesy of © TOYOTA, LICENSE AGREEMENT TMS1002
    2. Install the generator brush holder assembly to the generator coil with the 2 screws.
      Fig 12: Installing Generator Brush Holder Assembly
      GTY355269Courtesy of © TOYOTA, LICENSE AGREEMENT TMS1002

      Torque: 1.8 N*m (18 kgf*cm, 16 in.*lbf) 

    3. Pull out the pin from the generator brush holder.
  6. INSTALL TERMINAL INSULATOR 
    1. Install the terminal insulator to the generator coil.
      Fig 13: Installing Terminal Insulator To Generator Coil
      GTY127076Courtesy of © TOYOTA, LICENSE AGREEMENT TMS1002
  7. INSTALL GENERATOR REAR END COVER 
    1. Install the generator rear end cover to the generator coil with the 3 nuts.
      Fig 14: Identifying Clutch Pulley And Rotor Shaft
      GTY145194Courtesy of © TOYOTA, LICENSE AGREEMENT TMS1002

      Torque: 4.6 N*m (47 kgf*cm, 41 in.*lbf)