LEMON Manuals: Even more car manuals for everyone: 1960-2025
Home >> Lexus >> 2013 >> CT 200h Base >> Repair and Diagnosis (Single Page) >> Accessories & Equipment >> Cruise Control Systems >> Dynamic Radar Cruise Control System (Diagnostic Codes & Circuit Tests) >> Dynamic Radar Cruise Control System >> DTC U0122: Lost Communication with Vehicle Dynamics Control Module; DTC U0123: Lost Communication with Yaw Rate Sensor Module; DTC U0126: Lost Communication with Steering Angle Sensor Module; DTC U0293: Lost Communication with HV ECU; DTC U1104: Lost Communication with Driving Support ECU >> Procedure
April 5, 2026: LEMON Manuals is launched! Read the announcement.

DTC U0122: Lost Communication with Vehicle Dynamics Control Module; DTC U0123: Lost Communication with Yaw Rate Sensor Module; DTC U0126: Lost Communication with Steering Angle Sensor Module; DTC U0293: Lost Communication with HV ECU; DTC U1104: Lost Communication with Driving Support ECU: Procedure

  1. READ OUTPUT DTC 
    1. Connect the Techstream to the DLC3.
    2. Turn the power switch on (IG).
    3. Turn the tester on.
    4. Enter the following menus: Powertrain / Radar Cruise / Trouble Codes.
    5. Enter the following menus: Powertrain / Hybrid Control / Trouble Codes.
    6. Read the DTCs.

      Result

      Result Proceed to
      DTC U1104 is output (for Radar Cruise) A
      DTC U1104 is output (for Hybrid Control) B
      DTCs other than U1104 are output B

    B → See step   7 

    A: Go to next step 

  2. CHECK CAN COMMUNICATION SYSTEM 
    1. Using the Techstream to check if the CAN communication system is functioning normally. Refer to HOW TO PROCEED WITH TROUBLESHOOTING [08/2012 - ] .
      RESULT

      Result Proceed to
      CAN communication is normal A
      CAN communication is malfunctioning B

    B → See step   7 

    A: Go to next step 

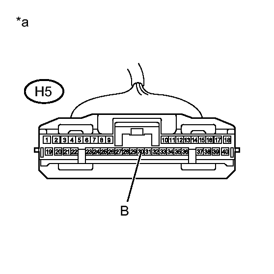
  3. CHECK HARNESS AND CONNECTOR (DRIVING SUPPORT ECU ASSEMBLY POWER SOURCE) 
    1. Disconnect the driving support ECU assembly connector.
      Fig 1: Identifying Connector H5-30 (B) Terminal
      GTY408114Courtesy of © TOYOTA, LICENSE AGREEMENT TMS1002
    2. Turn the power switch on (IG).
    3. Measure the voltage according to the value(s) in the table below.

      Standard Voltage

      Tester Connection Switch Condition Specified Condition
      H5-30 (B) - Body ground Power switch on (IG) 11 to 14 V
      TEXT IN ILLUSTRATION

      *a Front view of wire harness connector
      (to Driving Support ECU Assembly)
    4. Reconnect the driving support ECU assembly connector.

    NG → REPAIR OR REPLACE HARNESS OR CONNECTOR 

    OK: Go to next step 

  4. CHECK HARNESS AND CONNECTOR (DRIVING SUPPORT ECU ASSEMBLY - BODY GROUND) 
    1. Disconnect the driving support ECU assembly connector.
      Fig 2: Identifying Connector H5-25 (GND) Terminal
      GTY407752Courtesy of © TOYOTA, LICENSE AGREEMENT TMS1002
    2. Measure the resistance according to the value(s) in the table below.

      Standard Resistance

      Tester Connection Condition Specified Condition
      H5-25 (GND) - Body ground Always Below 1 Ω
      TEXT IN ILLUSTRATION

      *a Front view of wire harness connector
      (to Driving Support ECU Assembly)
    3. Reconnect the driving support ECU assembly connector.

    NG → REPAIR OR REPLACE HARNESS OR CONNECTOR 

    OK: Go to next step 

  5. REPLACE DRIVING SUPPORT ECU ASSEMBLY 
    1. Replace the driving support control ECU assembly. Refer to REMOVAL [08/2012 - ] .

    NEXT: Go to next step 

  6. CHECK WHETHER DTC OUTPUT RECURS (DTC U1104) 
    1. Connect the Techstream to DLC3.
    2. Turn the power switch on (IG).
    3. Clear the DTCs. Refer to DTC CHECK / CLEAR [08/2012 - ] .
    4. Perform the following to make sure that the DTC detection conditions are met.

      HINT: 

      If the detection conditions are not met, the malfunction cannot be detected.

      1. Drive the vehicle at a speed of 50 km/h (30 mph) and 170 km/h (105 mph).
      2. Turn the cruise control switch (ON-OFF button) on.
      3. Push the -/SET switch to activate the cruise control.
    5. Enter the following menus: Powertrain / Radar Cruise / Trouble Codes.
    6. Read the DTCs.

      Result

      Result Proceed to
      DTC is not output A
      DTC U1104 is output B

    B → See step   8 

    A → END 

  7. GO TO CAN COMMUNICATION SYSTEM. Refer to  HOW TO PROCEED WITH TROUBLESHOOTING [08/2012 - ] 
  8. REPLACE MILLIMETER WAVE RADAR SENSOR ASSEMBLY. Refer to  REMOVAL [08/2012 - ]