LEMON Manuals: Even more car manuals for everyone: 1960-2025
Home >> Lexus >> 2013 >> ES 300h >> Repair and Diagnosis (Single Page) >> Restraints >> Air Bag, SRS >> Occupant Classification System (Diagnostic Codes & Symptom Tests) >> Occupant Classification System >> DTC B1793: Occupant Classification Sensor Power Supply Circuit Malfunction >> Procedure
April 5, 2026: LEMON Manuals is launched! Read the announcement.

DTC B1793: Occupant Classification Sensor Power Supply Circuit Malfunction: Procedure

  1. CHECK CONNECTORS 
    1. Turn the power switch off.
    2. Disconnect the cable from the negative (-) auxiliary battery terminal.
    3. Check that the connectors are properly connected to the 2 rear occupant classification sensors and occupant detection ECU.

      OK

      The connectors are properly connected.

      HINT: 

      If the connectors are not connected securely, reconnect the connectors and proceed to the next inspection.

    4. Disconnect the connectors from the 2 rear occupant classification sensors and occupant detection ECU.
    5. Check that the terminals of the connectors are not damaged.

      OK

      The terminals are not deformed or damaged.

    NG → REPLACE FRONT SEAT WIRE RH 

    OK: Go to next step 

  2. CHECK FRONT SEAT WIRE RH (SHORT TO B+) 
    1. Connect the cable to the negative (-) auxiliary battery terminal.
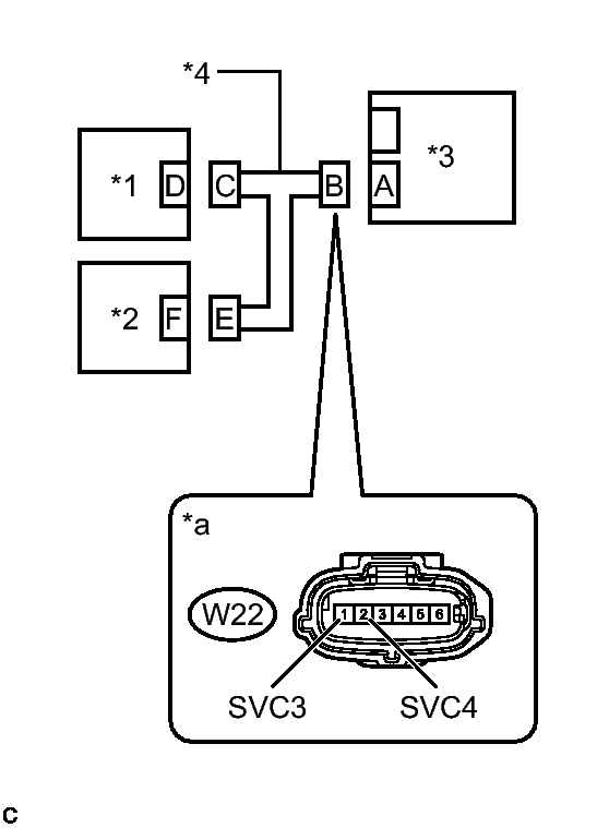
      GTY405463Courtesy of © TOYOTA, LICENSE AGREEMENT TMS1002
    2. Turn the power switch on (IG).
    3. Measure the voltage according to the value(s) in the table below.

      Standard Voltage

      Tester Connection Condition Specified Condition
      W22-1 (SVC3) - Body ground Power switch on (IG) Below 1 V
      W22-2 (SVC4) - Body ground Power switch on (IG) Below 1 V
    4. Turn the power switch off.
    5. Disconnect the cable from the negative (-) auxiliary battery terminal.
      TEXT IN ILLUSTRATION

      *1 Rear Occupant Classification Sensor LH
      *2 Rear Occupant Classification Sensor RH
      *3 Occupant Detection ECU
      *4 Front Seat Wire RH
      *a Front view of wire harness connector
      (to Occupant Detection ECU)

    NG → See step   11 

    OK: Go to next step 

  3. CHECK FRONT SEAT WIRE RH (SHORT TO GROUND) 
    1. Measure the resistance according to the value(s) in the table below.
      GTY405463Courtesy of © TOYOTA, LICENSE AGREEMENT TMS1002

      Standard Resistance

      Tester Connection Condition Specified Condition
      W22-1 (SVC3) - Body ground Always 1 MΩ or higher
      W22-2 (SVC4) - Body ground Always 1 MΩ or higher
      TEXT IN ILLUSTRATION

      *1 Rear Occupant Classification Sensor LH
      *2 Rear Occupant Classification Sensor RH
      *3 Occupant Detection ECU
      *4 Front Seat Wire RH
      *a Front view of wire harness connector
      (to Occupant Detection ECU)

    NG → REPLACE FRONT SEAT WIRE RH 

    OK: Go to next step 

  4. CHECK FRONT SEAT WIRE RH (SHORT) 
    1. Measure the resistance according to the value(s) in the table below.
      GTY405463Courtesy of © TOYOTA, LICENSE AGREEMENT TMS1002

      Standard Resistance

      Tester Connection Condition Specified Condition
      W22-1 (SVC3) - W22-2 (SVC4) Always 1 MΩ or higher
      TEXT IN ILLUSTRATION

      *1 Rear Occupant Classification Sensor LH
      *2 Rear Occupant Classification Sensor RH
      *3 Occupant Detection ECU
      *4 Front Seat Wire RH
      *a Front view of wire harness connector
      (to Occupant Detection ECU)

    NG → REPLACE FRONT SEAT WIRE RH 

    OK: Go to next step 

  5. CHECK DTC 
    1. Connect the connectors to the occupant detection ECU and 2 rear occupant classification sensors.
    2. Connect the cable to the negative (-) auxiliary battery terminal.
    3. Clear the DTCs stored in the occupant detection ECU. Refer to DTC CHECK/CLEAR [06/2012 - ] .
    4. Clear the DTCs stored in the airbag sensor assembly. Refer to DTC CHECK/CLEAR [06/2012 - ] .
    5. Turn the power switch off.
    6. Turn the power switch on (IG).
    7. Check for DTCs. Refer to DTC CHECK/CLEAR [06/2012 - ] .

      OK

      DTC B1793 is not output.

      HINT: 

      Codes other than DTC B1793 may be output at this time, but they are not related to this check.

    8. Turn the power switch off.

    NG → See step   6 

    OK → See step   13 

  6. CHECK OCCUPANT DETECTION ECU 
    1. Disconnect the cable from the negative (-) auxiliary battery terminal.
    2. Replace the occupant detection ECU with a known good one. Refer to REMOVAL [06/2012 - ] .

      HINT: 

      Perform the following inspection using known good parts from another vehicle if possible.

    3. Connect the cable to the negative (-) auxiliary battery terminal.
    4. Clear the DTCs stored in the occupant detection ECU. Refer to DTC CHECK/CLEAR [06/2012 - ] .
    5. Clear the DTCs stored in the airbag sensor assembly. Refer to DTC CHECK/CLEAR [06/2012 - ] .
    6. Turn the power switch off.
    7. Turn the power switch on (IG).
    8. Check for DTCs. Refer to DTC CHECK/CLEAR [06/2012 - ] .

      OK

      DTC B1793 is not output.

      HINT: 

      Codes other than DTC B1793 may be output at this time, but they are not related to this check.

    9. Turn the power switch off.
    10. Disconnect the cable from the negative (-) auxiliary battery terminal.
    11. Restore the occupant detection ECU that was installed for testing to its original location. Refer to REMOVAL [06/2012 - ] .

    NG → See step   9 

    OK: Go to next step 

  7. REPLACE OCCUPANT DETECTION ECU 
    1. Disconnect the cable from the negative (-) auxiliary battery terminal.
    2. Replace the occupant detection ECU with a new one. Refer to REMOVAL [06/2012 - ] .
    3. Connect the cable to the negative (-) auxiliary battery terminal.

    NEXT: Go to next step 

  8. PERFORM ZERO POINT CALIBRATION AND SENSITIVITY CHECK 
    1. Using the Techstream, perform Zero Point Calibration and Sensitivity Check. Refer to INITIALIZATION [06/2012 - ] .

    NEXT → END 

  9. REPLACE FRONT SEAT ADJUSTER ASSEMBLY RH 
    1. Disconnect the cable from the negative (-) auxiliary battery terminal.
    2. Replace the front seat adjuster assembly RH. Refer to REMOVAL [06/2012 - ] .
    3. Connect the cable to the negative (-) auxiliary battery terminal.

    NEXT: Go to next step 

  10. PERFORM ZERO POINT CALIBRATION AND SENSITIVITY CHECK 
    1. Using the Techstream, perform Zero Point Calibration and Sensitivity Check. Refer to INITIALIZATION [06/2012 - ] .

    NEXT → END 

  11. REPLACE FRONT SEAT ADJUSTER ASSEMBLY RH 
    1. Disconnect the cable from the negative (-) auxiliary battery terminal.
    2. Replace the front seat adjuster assembly RH. Refer to REMOVAL [06/2012 - ] .
      NOTE: Replace the front seat wire RH at the same time.

      HINT: 

      When the front seat wire RH has a short to B+, the rear occupant classification sensors will be damaged. Therefore, replace the front seat wire RH and the front seat adjuster assembly RH, which includes the rear occupant classification sensors.

    3. Connect the cable to the negative (-) auxiliary battery terminal.

    NEXT: Go to next step 

  12. PERFORM ZERO POINT CALIBRATION AND SENSITIVITY CHECK 
    1. Using the Techstream, perform Zero Point Calibration and Sensitivity Check. Refer to INITIALIZATION [06/2012 - ] .

    NEXT → END 

  13. USE SIMULATION METHOD TO CHECK. Refer to  HOW TO PROCEED WITH TROUBLESHOOTING [06/2012 - ]