LEMON Manuals: Even more car manuals for everyone: 1960-2025
Home >> Lexus >> 2013 >> ES 350 >> Repair and Diagnosis (Single Page) >> Accessories & Equipment >> Anti-Theft Systems >> Smart Access System (Keyless Entry) (Diagnostic Codes & Symptom Tests) >> SMART ACCESS SYSTEM WITH PUSH-BUTTON START (for Entry Function) >> Symptom Tests >> Front Passenger Side Door Entry Unlock Function does not Operate >> Procedure
April 5, 2026: LEMON Manuals is launched! Read the announcement.

Front Passenger Side Door Entry Unlock Function does not Operate: Procedure

  1. CHECK POWER DOOR LOCK CONTROL SYSTEM 
    1. When the door control switch on the multiplex network master switch assembly is operated, check that the doors unlock and lock according to the switch operation. Refer to OPERATION CHECK [06/2012 - ] .

      OK

      Door locks operate normally.

    NG → See step   6 

    OK: Go to next step 

  2. READ VALUE USING TECHSTREAM 
    1. Connect the Techstream to the DLC3.
    2. Turn the engine switch on (IG).
    3. Turn the Techstream on.
    4. Enter the following menus: Body Electrical / Main Body / Data List.
    5. Read the Data List according to the display on the Techstream.
      MAIN BODY

      Tester Display Measurement Item/Range Normal Condition Diagnostic Note
      FR Door Lock Pos Front door RH unlock detection switch signal / UNLOCK or LOCK UNLOCK: Front door RH unlocked
      LOCK: Front door RH locked
      -

      OK

      The Techstream display changes correctly in response to the lock/unlock operation of the front RH door.

    NG → See step   9 

    OK: Go to next step 

  3. READ VALUE USING TECHSTREAM 
    1. Connect the Techstream to the DLC3.
    2. Turn the engine switch on (IG).
    3. Turn the Techstream on.
    4. Enter the following menus: Body Electrical / Smart Access / Data List.
    5. Read the Data List according to the display on the Techstream.
      SMART ACCESS

      Tester Display Measurement Item/Range Normal Condition Diagnostic Note
      P-Door Touch Sensor Front passenger door touch sensor (unlock sensor) / ON or OFF ON: Front passenger door touch sensor (unlock sensor) touched
      OFF: Front passenger door touch sensor (unlock sensor) not touched
      • Displays whether the unlock sensor is on or off (even if the sensor is touched and contact is maintained, "ON" is displayed only momentarily).
      • Use this Data List item to help determine if there is an unlock sensor malfunction when the entry unlock function does not operate.

      OK

      The Techstream display changes correctly in response to the operation of the front door outside handle assembly RH (for front passenger side).

    NG → See step   4 

    OK → See step   7 

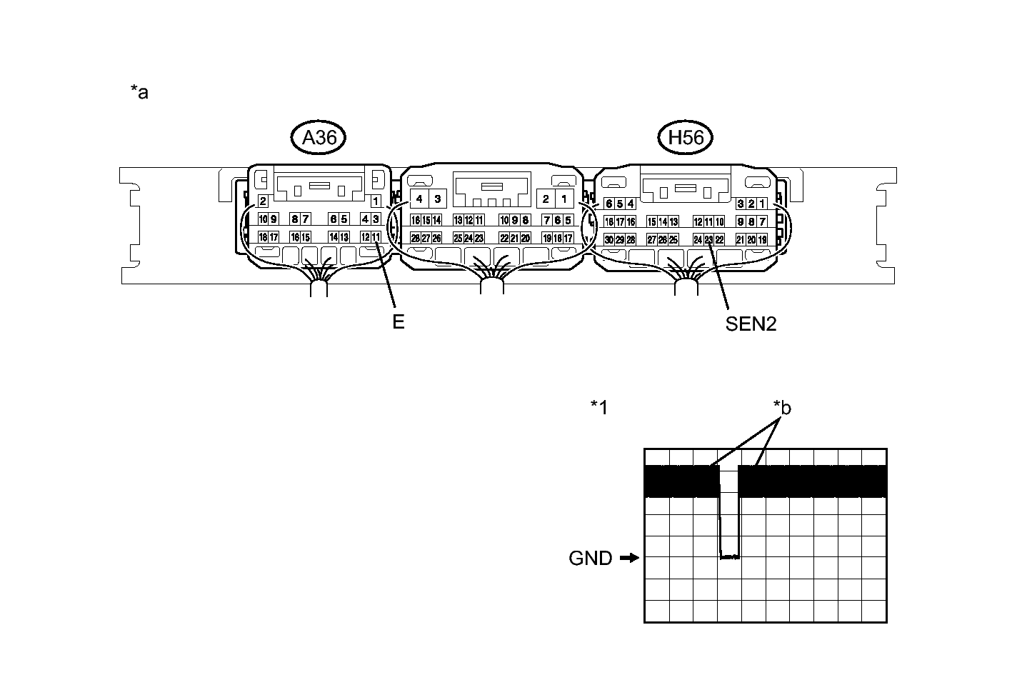
  4. CHECK HARNESS AND CONNECTOR (FRONT DOOR OUTSIDE HANDLE ASSEMBLY RH - CERTIFICATION ECU) 
    1. Disconnect the L12 front door outside handle assembly RH (for front passenger door) connector.
    2. Disconnect the A36 and H56 certification ECU (smart key ECU assembly) connectors.
    3. Measure the resistance according to the value(s) in the table below.

      Standard Resistance

      Tester Connection Condition Specified Condition
      L12-4 (SENS) - H56-23 (SEN2) Always Below 1 Ω
      A36-11 (E) - Body ground Always Below 1 Ω
      L12-4 (SENS) or H56-23 (SEN2) - Body ground Always 10 kΩ or higher

    NG → REPAIR OR REPLACE HARNESS OR CONNECTOR 

    OK: Go to next step 

  5. CHECK FRONT DOOR OUTSIDE HANDLE ASSEMBLY RH (FOR FRONT PASSENGER DOOR) (FRONT PASSENGER DOOR UNLOCK SENSOR SIGNAL INPUT) 
    1. Connect the L12 front door outside handle assembly RH (for front passenger door) connector.
      GTY398497Courtesy of © TOYOTA, LICENSE AGREEMENT TMS1002
      TEXT IN ILLUSTRATION

      *1 Waveform - -
      *a Component with harness connected
      (Certification ECU (smart key ECU assembly))
      *b In actuality, sampling is being performed
    2. Connect the A36 and H56 certification ECU (smart key ECU assembly) connectors.
    3. Using an oscilloscope, check the waveform.

      OK

      Tester Connection Condition Tool Setting Specified Condition
      H56-23 (SEN2) - A36-11 (E) Procedure:
      1. Engine switch off
      2. Electrical key transmitter sub-assembly brought outside vehicle
      3. All doors locked
      4. Electrical key transmitter sub-assembly not sufficiently close to vehicle
      5. Front passenger door unlock sensor not touched → touched
      2 V/DIV., 500 ms/DIV. Pulse generation (See waveform)

    NG → See step   8 

    OK → See step   7 

  6. GO TO POWER DOOR LOCK CONTROL SYSTEM. Refer to  HOW TO PROCEED WITH TROUBLESHOOTING [06/2012 - ] 
  7. REPLACE CERTIFICATION ECU (SMART KEY ECU ASSEMBLY). Refer to  REMOVAL [06/2012 - ] 
  8. REPLACE FRONT DOOR OUTSIDE HANDLE ASSEMBLY RH (FOR FRONT PASSENGER DOOR). Refer to  DISASSEMBLY [06/2012 - ] 
  9. GO TO LIGHTING SYSTEM (Proceed to Door Unlock Detection Switch Circuit). Refer to  Door Unlock Detection Switch Circuit