LEMON Manuals: Even more car manuals for everyone: 1960-2025
Home >> Lexus >> 2013 >> GX 460 Base >> Repair and Diagnosis (Single Page) >> Accessories & Equipment >> Anti-Theft Systems >> Smart Access System (Keyless Entry) (Diagnostic Codes & Symptom Tests) >> SMART ACCESS SYSTEM WITH PUSH-BUTTON START (for Entry Function) >> Symptom Tests >> All Door Entry Lock/Unlock Functions do not Operate, but Wireless Functions Operate >> Procedure
April 5, 2026: LEMON Manuals is launched! Read the announcement.

All Door Entry Lock/Unlock Functions do not Operate, but Wireless Functions Operate: Procedure

  1. READ VALUE USING TECHSTREAM (KEY CANCEL SWITCH) 
    1. Using the Techstream, read the Data List. Refer to DATA LIST / ACTIVE TEST [06/2012 - ] .
      SMART ACCESS

      Tester Display Measurement Item/Range Normal Condition Diagnostic Note
      Auto Entry Cancel SW Entry cancel function setting / OFF or ON Mode status displayed
      ON: Smart access system with push-button start canceled
      OFF: Smart access system with push-button start not canceled
      The default setting for the entry cancel function is OFF. If the customer requests that the smart access system with push-button start functions (locking and unlocking the doors while carrying the key, etc.) be canceled, the setting can be changed through the customize function. Refer to CUSTOMIZE PARAMETERS [06/2012 - ] .
      RESULT

      Result Proceed to
      Entry door lock function cancel is OFF A
      Entry door lock function cancel is ON B

    B → See step   7 

    A: Go to next step 

  2. CHECK WAVE ENVIRONMENT 
    1. Move the electrical key transmitter as described below and perform the operation inspection. Refer to OPERATION CHECK [06/2012 - ] .

      HINT: 

      • When the electrical key transmitter is brought near the front door outside handle assembly LH or electrical key antenna, the possibility of wave interference decreases, and it can be determined if wave interference is causing the problem symptom.
      • The transmitting wave of the wireless function and entry function are the same, but the wave logic is different. As a result, it is possible that only the wireless function or only the entry function is affected by wave interference.
      1. Bring the electrical key transmitter approximately 0.3 m (0.98 ft.) from the front door outside handle assembly LH and perform a driver door entry lock and unlock operation check.
        GTY259235Courtesy of © TOYOTA, LICENSE AGREEMENT TMS1002
        TEXT IN ILLUSTRATION

        *a Approximately 0.3 m (0.98 ft.)
        NOTE:

        If the key is brought within 0.2 m (0.66 ft.) of the door handle, communication may not possible.

      2. Bring the electrical key transmitter approximately 0.3 m (0.98 ft.) from the front door outside handle assembly RH and perform a front passenger door entry lock and unlock operation check.
        GTY284657Courtesy of © TOYOTA, LICENSE AGREEMENT TMS1002
        TEXT IN ILLUSTRATION

        *a Approximately 0.3 m (0.98 ft.)
        NOTE:

        If the key is brought within 0.2 m (0.66 ft.) of the door handle, communication may not possible.

      3. Bring the electrical key transmitter approximately 0.3 m (0.98 ft.) from the electrical key antenna (outside luggage) and perform an entry back door unlock function check.
        GTY259220Courtesy of © TOYOTA, LICENSE AGREEMENT TMS1002
        TEXT IN ILLUSTRATION

        *a Approximately 0.3 m (0.98 ft.)
        NOTE:

        If the key is brought within 0.2 m (0.66 ft.) of the rear bumper, communication may not possible.

        HINT: 

        • If the inspection result is that the problem only occurs in certain locations or at certain times of day, the possibility of wave interference is high. Also, added vehicle components may cause wave interference. If installed, remove them and perform the operation check.
        • If electric wave interference seems to be the likely cause of the problem, ask the customer if the problem occurs in specific locations.
        • Move the vehicle to a different location, perform the following procedure and check if the symptoms can be reproduced.
          1. If a tool for checking electric waves, such as a signal strength meter, is available, move around the area while observing both the LF band (used by the vehicle antenna to form the key detection area) and RF band (used by the key for transmission) to check for locations where there is wave interference.
        RESULT

        Result Proceed to
        All operation checks fail A
        All checks are normal B
        Some operation checks are normal C

    B → AFFECTED BY WAVE INTERFERENCE 

    C → See step   12 

    A: Go to next step 

  3. CHECK ELECTRICAL KEY ANTENNAS IN KEY DIAGNOSTIC MODE 
    1. Check the following antennas in the key diagnostic mode. Refer to SYSTEM DESCRIPTION [06/2012 - ] .
      1. Check the electrical key antenna (for driver side):
        GTY259235Courtesy of © TOYOTA, LICENSE AGREEMENT TMS1002
        TEXT IN ILLUSTRATION

        *a Approximately 0.7 m (2.30 ft.)

        When the electrical key transmitter is brought within 0.7 to 1 m (2.30 to 3.28 ft.) of the front door outside handle assembly LH, check that the wireless door lock buzzer sounds.

      2. Check the electrical key antenna (for front passenger side):
        GTY284657Courtesy of © TOYOTA, LICENSE AGREEMENT TMS1002
        TEXT IN ILLUSTRATION

        *a Approximately 0.7 m (2.30 ft.)

        When the electrical key transmitter is brought within 0.7 to 1 m (2.30 to 3.28 ft.) of the front door outside handle assembly RH, check that the wireless door lock buzzer sounds.

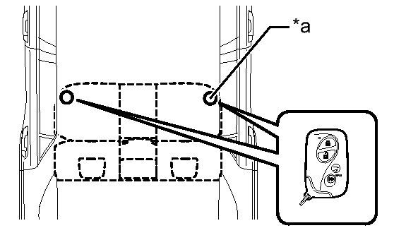
      3. Check the indoor No. 1 electrical key antenna (front floor):
        GTY265745Courtesy of © TOYOTA, LICENSE AGREEMENT TMS1002
        TEXT IN ILLUSTRATION

        *a Inspection Point

        When the electrical key transmitter is at the inspection point, check that the wireless door lock buzzer sounds.

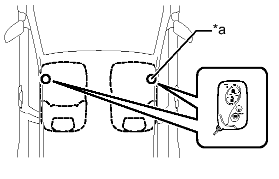
      4. Check the indoor No. 2 electrical key antenna (rear floor):
        GTY263694Courtesy of © TOYOTA, LICENSE AGREEMENT TMS1002
        TEXT IN ILLUSTRATION

        *a Inspection Point

        When the electrical key transmitter is at the inspection point, check that the wireless door lock buzzer sounds.

      5. Check the indoor No. 3 electrical key antenna (inside luggage):
        GTY281590Courtesy of © TOYOTA, LICENSE AGREEMENT TMS1002
        TEXT IN ILLUSTRATION

        *A w/ Rear No. 2 Seat Assembly
        *B w/o Rear No. 2 Seat Assembly
        *a Inspection Point

        When the electrical key transmitter is at the inspection point, check that the wireless door lock buzzer sounds.

      6. Check the electrical key antenna (outside luggage):
        GTY259220Courtesy of © TOYOTA, LICENSE AGREEMENT TMS1002
        TEXT IN ILLUSTRATION

        *a Approximately 0.7 m (2.30 ft.)

        When the electrical key transmitter is brought within 0.7 to 1 m (2.30 to 3.28 ft.) of the electrical key antenna (outside luggage), check that the wireless door lock buzzer sounds.

        OK

        Wireless door lock buzzer sounds.

        RESULT

        Result Proceed to
        All diagnostic mode inspections fail A
        Some diagnostic mode inspections fail (door) B
        Some diagnostic mode inspections fail (interior) C
        Some diagnostic mode inspections fail (back door) D
        All diagnostic mode inspections are normal E

    B → See step   8 

    C → See step   9 

    D → See step   10 

    E → See step   13 

    A: Go to next step 

  4. INSPECT ELECTRICAL KEY TRANSMITTER 
    1. Check if there is another key available that is already registered to the vehicle.
      RESULT

      Result Proceed to
      Another registered key is not available A
      Another registered key is available B

    B → See step   6 

    A: Go to next step 

  5. REPLACE ELECTRICAL KEY TRANSMITTER 
    1. Replace the electrical key transmitter with a new one.
    2. Perform the registration procedure. Refer to REGISTRATION [06/2012 - ] .

    NEXT: Go to next step 

  6. CHECK OPERATION 
    1. Check the operation of the entry lock function. Refer to OPERATION CHECK [06/2012 - ] .

      OK

      Entry lock function operates normally.

    NG → See step   11 

    OK → END (ELECTRICAL KEY TRANSMITTER IS DEFECTIVE) 

  7. PERFORM CANCELLATION OF ENTRY KEY CANCEL FUNCTION. Refer to  CUSTOMIZE PARAMETERS [06/2012 - ] 
  8. Go to OTHER FLOWCHART (PROCEED TO PROBLEM SYMPTOM FLOWCHART FOR EACH DOOR). Refer to  Room Oscillator does not Recognize Key  
  9. Go to OTHER FLOWCHART. Refer to  Room Oscillator does not Recognize Key  
  10. Go to OTHER FLOWCHART. Refer to  Back Door Entry Unlock Function does not Operate  
  11. REPLACE CERTIFICATION ECU. Refer to  REMOVAL [06/2012 - ] 
  12. Go to OTHER PROBLEM (PROCEED TO PROBLEM SYMPTOMS TABLE FOR EACH DOOR). Refer to  PROBLEM SYMPTOMS TABLE [06/2012 - ] 
  13. REPLACE CERTIFICATION ECU. Refer to  REMOVAL [06/2012 - ]